Lab1_kult (543320)
Текст из файла
Московский Энергетический Институт (ТУ)
АВТИ
Кафедра ЭИ
Лабораторная работа №1
по курсу Измерительные преобразователи систем диагностики .
«Исследования индуктивного датчика перемещения»
Выполнили:
Группа: А-15-0
Москва 2004 г.
1. Индуктивный датчик:
Состоит из металлического цилиндрического корпуса, катушки индуктивности, стального сердечника с поршнем соединённым с движком, совершающим поступательные движения. В результате этого меняется индуктивность датчика и изменяется измеряемое напряжение. Rк=6, 62 Ом
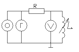
2. Принципиальная электрическая схема опыта:
где О-осцилограф, Г-генератор, V-вольтметр, R-сопротивление нагрузки, L-индуктивный датчик.
3. При различных положениях движка снять зависимость Ur(l) на нагрузке при частоте тока генератора f1=40 Hz, f2=60 Hz, f3=90 Hz. При входном напряжении Uвх=0,72 В.
f1=40 Hz
| l, мм | 15 | 26 | 37 | 48 | 59 | 72 |
| Ur, мВ | 132 | 162 | 186 | 204 | 210 | 216 |
| Upr,мВ | 719 | 719 | 717 | 716 | 712 | 710 |
| Zpr,Ом | 54.5 | 44.4 | 38.6 | 35.1 | 33.9 | 32.9 |
f2=60 Hz
| l, мм | 15 | 26 | 37 | 48 | 59 | 72 |
| Ur, мВ | 114 | 144 | 162 | 174 | 180 | 186 |
| Upr,мВ | 719 | 718 | 716 | 715 | 714 | 714 |
| Zpr,Ом | 63.1 | 49.9 | 44.2 | 44.1 | 39.7 | 38.4 |
f3=90 Hz
| l, мм | 15 | 26 | 37 | 48 | 59 | 72 |
| Ur, мВ | 150 | 180 | 210 | 228 | 240 | 246 |
| Upr,мВ | 719 | 719 | 716 | 716 | 712 | 711 |
| Zpr,Ом | 47.9 | 39.9 | 34.1 | 31.4 | 29.7 | 28.9 |
Полное сопротивление катушки: Zpr=(X^2+R^2)^1/2;
X=L- индуктивное сопротивление датчика;
R- активное сопротивление датчика;
I=Ur/R0, где R0=10 Ом;
Zpr=Upr/I;
4. При среднем положении движка датчика снять зависимости Ur(x), Ug(x), Uv(x) от частоты.
| Частота, Гц | 40 | 60 | 90 |
| Ur, В | 720 | 720 | 720 |
| Ug, В | 500 | 540 | 575 |
| Uv, В | 216 | 192 | 165 |
Характеристики
Тип файла документ
Документы такого типа открываются такими программами, как Microsoft Office Word на компьютерах Windows, Apple Pages на компьютерах Mac, Open Office - бесплатная альтернатива на различных платформах, в том числе Linux. Наиболее простым и современным решением будут Google документы, так как открываются онлайн без скачивания прямо в браузере на любой платформе. Существуют российские качественные аналоги, например от Яндекса.
Будьте внимательны на мобильных устройствах, так как там используются упрощённый функционал даже в официальном приложении от Microsoft, поэтому для просмотра скачивайте PDF-версию. А если нужно редактировать файл, то используйте оригинальный файл.
Файлы такого типа обычно разбиты на страницы, а текст может быть форматированным (жирный, курсив, выбор шрифта, таблицы и т.п.), а также в него можно добавлять изображения. Формат идеально подходит для рефератов, докладов и РПЗ курсовых проектов, которые необходимо распечатать. Кстати перед печатью также сохраняйте файл в PDF, так как принтер может начудить со шрифтами.















