ЛР №3_ver1.0 (539682), страница 3
Текст из файла (страница 3)
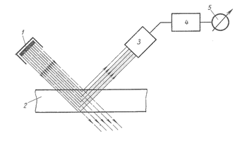
На рисунке 6 показана простейшая принципиальная схема прибора для контроля толщины листа.
Рисунок 11. – Блок-схема радиоактивного прибора для контроля толщины листа.
Поток радиоактивных излучений от источника 1, пройдя сквозь контролируемую деталь 2, попадает в приемник 3, где в зависимости от интенсивности потока (от толщины изделия) создается определенной величины электрический сигнал, который усиливается и преобразуется промежуточным преобразователем 4 и далее поступает на указательное или командное устройство 5.
Измерение размеров с помощью обратного рассеяния потока излучений показано на рисунке 7.
Рисунок 12.
При направлении пучка радиоактивного излучения 1 на поверхность изделия 2 с определенной толщиной часть лучей проходит сквозь изделие, а часть лучей претерпевает рассеяние веществом изменяет свое первоначальное направление. Обратное рассеяние излучения происходит не только на поверхности изделия, но и на разной его глубине в зависимости от толщины изделия. Измеряя интенсивность отраженного потока, можно судить о толщине изделия.
Приборы, использующие эффект рассеяния излучений, нашли применение для измерения толщины изделий, доступных только с одной стороны, а также для определения толщины покрытий.
Эти приборы успешно используются для автоматизации технологических процессов изготовления проката металлов, резины, бумаги, стекла, всевозможных пленок, автоматизации линейного и кузнечно-прессового производства. Радиоактивные приборы позволяют вести бесконтактные измерения при больших скоростях проката со значительными величинами вибраций и колебаний измеряемого объекта, при значительных колебаниях температуры в зоне измерения. Однако использование источников ядерного излучения всегда связано с необходимостью защиты обслуживающего персонала от воздействий излучения.
Фотоэлектрические приборы.
К фотоэлектрическим приборам относятся приборы, в схеме которых используются в качестве преобразователей фотоэлементы.
Рисунок 13. – Простейшая схема фотоэлектрического прибора.
В высокоточных приборах автоматического контроля фотоэлементы обычно работают в релейных схемах. Крайне редко используются измерительные системы, где с помощью фотоэлемента измеряется величина потока излучения, которая функционально связана с размером контролируемого параметра. На рисунке 8 показана принципиальная схема построения прибора, где измеряется световой поток, несущий.информацию ©размере детали. Световой поток от источника 1 через оптическую систему 2 и щелевую диафрагму 3 падает на фотоэлемент 4. Щелевая диафрагма частично закрыта контролируемой деталью 6. Таким образом, величина потока излучения, падающего на фотоэлемент, определяется размером детали. Этот поток вызывает определенной величины ток в микроамперметре 5.
Низкая точность приборов, построенных по этой схеме, объясняется тем, что на результаты измерения влияют колебания яркости источника излучения, питающего напряжения, температуры и др. Эта схема также чувствительна и к постороннему излучению, падающему на фотоэлемент.
















