elektrotex_laba1 (538700)
Текст из файла
Министерство Образования Российской Федерации
Московский Государственный Технический Университет «МАМИ»
Кафедра «Электротехника и компьютеризированные электромеханические системы»
Лабораторная работа №1
«ЭЛЕКТРОИЗМЕРИЕЛЬНЫЕ ПРИБОРЫ НЕПОСРЕДСТВЕННОГО ОТСЧЁТА В ЦЕПЯХ ПОСТОЯННОГО ТОКА»
Выполнил: студент уч. группы 6-ААА-6
Иванов А.А.
Проверил: Лисаченко К.Я.
МОСКВА 2008
Цель работы: ознакомиться с электроизмерительными приборами непосредственного отсчета, т.е. показывающих непосредственное число (амперметрами и вольтметрами) и методикой измерения токов, напряжений и сопротивлений в электрических цепях.
Основные Теоретические положения
Электроизмерительные приборы непосредственной оценки классифицируются:
-
По принципу действия (системе измерительного механизма):
-
магнитоэлектрический;
-
электромагнитный;
-
электродинамический.
-
-
По роду тока (постоянный, переменный):
-
приборы переменного тока;
-
приборы и переменного, и постоянного тока.
-
По классу точности на 10 классов: 0,02; 0,05; 0,1; 0,2; 0,5; 1,0; 1,5; 2,0; 2,5; 4,0.
Погрешность прибора - характеристика, определяющая разницу между показанием прибора и действительным значением измеряемой величины.
Погрешности: абсолютная, приведенная, основная, относительная и случайная.
Абсолютная погрешность определяется разностью между показанием прибора Ах и действительным значением измеряемой величины А: = Ах - А.
Поправкой называется величина, отличающаяся от абсолютной погрешности только знаком.
К= - .
Приведенная погрешность - выраженное в процентах отношение абсолютной погрешности к нормирующему значению шкалы прибора AN:
Относительная погрешность выражает в процентах отношение абсолютной погрешности Д к показанию прибора Ах:
Классом точности n прибора называется число, больше которого не может быть основная погрешность прибора в % на всех отметках рабочей шкалы прибора.
Задание по работе
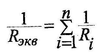
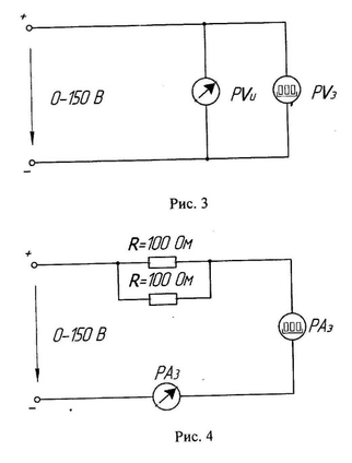
1. Измерить с помощью измерительных приборов непосредственного отсчета (амперметров и вольтметра) токи и напряжения на участках смешанной электрической цепи постоянного тока.
2. По экспериментальным данным (п. 1) рассчитать сопротивления всех ветвей исследуемой электрической цепи в соответствии с заданными условиями:
R1, R2, R3, Rэкв,
где Яэкв, — эквивалентное сопротивление всей цепи относительно зажимов питания.
Результаты расчета занести в табл. 1.
Примечание. Учесть, что для n сопротивлений,
включенных последовательно,
Для параллельного соединения:
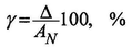
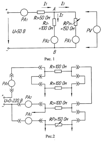
3. Произвести поверку вольтметра и амперметра на соответствие классу точности, сравнивая их показания с показаниями эталонных приборов. По результатам эксперимента сделать вывод о соответствии измерительных приборов обозначенному классу точности.
Перечень Приборов
Амперметр (2 шт.), Вольтметр (2 шт.),
Схемы
Расчёты
Выводы
Характеристики
Тип файла документ
Документы такого типа открываются такими программами, как Microsoft Office Word на компьютерах Windows, Apple Pages на компьютерах Mac, Open Office - бесплатная альтернатива на различных платформах, в том числе Linux. Наиболее простым и современным решением будут Google документы, так как открываются онлайн без скачивания прямо в браузере на любой платформе. Существуют российские качественные аналоги, например от Яндекса.
Будьте внимательны на мобильных устройствах, так как там используются упрощённый функционал даже в официальном приложении от Microsoft, поэтому для просмотра скачивайте PDF-версию. А если нужно редактировать файл, то используйте оригинальный файл.
Файлы такого типа обычно разбиты на страницы, а текст может быть форматированным (жирный, курсив, выбор шрифта, таблицы и т.п.), а также в него можно добавлять изображения. Формат идеально подходит для рефератов, докладов и РПЗ курсовых проектов, которые необходимо распечатать. Кстати перед печатью также сохраняйте файл в PDF, так как принтер может начудить со шрифтами.
















