ЛАБОРАТОРНАЯ РАБОТА1 (538600), страница 2
Текст из файла (страница 2)
На Рисунке3.ж – два активных тензопреобразователя для продольных напряжений и два холостых тензопреобразователя. Температурная компенсация имеется. Выходной сигнал равен:
На Рисунке 3.з – четыре активных тензопреобразователя для изгибных напряжений образуют двойные дифференциальные пары. Температурная компенсация имеется. Выходной сигнал наибольший:
где |ε1| = |ε2| = |ε3| = |ε4|, т.е. относительные изменения сопротивлений R1, R2, R3, R4 тензорезисторов А,В,С,Д численно равны. Эта схема является наиболее желательным включением тензорезисторов. Во многих случаях мостовая цепь с тензорезисторами подключается своим выходом к гальванометру (вибратору) осциллографа непосредственно или через усилитель постоянного тока (см., например, усилитель "ТОПАЗ").
7. ТЕНЗОРЕЗИСТИВНЫЕ ДАТЧИКИ.
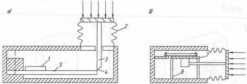
Тензорезистивными датчиками в более широком смысле называется устройства, которые измеряют не только деформации, но и другие физические величины с помощью тензорезисторов. Это достигается путем наклейки тензорезисторов на деталь (пружину), деформация которой пропорциональна измеряемой величине. Кроме наклеиваемых, существуют "свободные" тензопреобразователи, которые содержат проволочные нити, испытывающие деформацию. Рисунок4 служит иллюстрацией различия между двумя этими датчиками, предназначенными для измерения давления.
На Рисунке 4.а давление деформирует сильфон 2, который стержнем 3 через шарнир 4 воздействует на консольную пружину 5 с наклеенным на нее тензорезистором 1,
На Рисунке 4,б давление перемещает платформу 7, смонтированную на пружинах 8, изменяя натяжение проволочных нитей 6. Эта конструкция отличается более эффективной работой тензопреобразователя 6 и хорошей температурной стабильностью (в случае использования полного моста из тензорезисторов).
Тензодатчики являются универсальными и могут с успехом использоваться также при измерении сил, ускорений и в других случаях. Два их основных недостатка – малый выходной сигнал и необходимость довольно больших значений деформации приводит к тому, что индуктивные или емкостные датчики во многих случаях являются более предпочтительными.
8. ОПИСАНИЕ ЛАБОРАТОРНОЙ УСТАНОВКИ.
Все детали для исследования тензопреобразователей смонтированы на основании I (Рисунок5). На основании закреплены три кронштейна 2,3,4. На кронштейне 2 с помощью пластины 5, винтами 6 закреплена консольная, упругая пластина 7 с наклеенными с обеих сторон тензопреобразователями и выводами 8 тензопреобразователей припаяны к контактным штырям платы 9, соединенными с контактными переключателями 10. С помощью ручки 11 переключателя достигается включение тензорезисторов в схему тензомоста. На кронштейне 4 закреплен стрелочник 12 измерительный наконечник которого воспринимает перемещения пластины 7. На кронштейне 3 смонтирована винтовая пара 13 таким образом, что наконечник винта упирается в пластину 7.
При вращении винта пластина 7 изгибается, что вызывает деформацию проволоки тензорезисторов 8 и перемещение измерительного наконечника индикатора 12. При крайнем правом положении ручки 11 тензорезисторы включаются в схему полумоста (см. Рисунок 3.д) При крайнем левом положении ручки 11 тензорезисторы включаются в схему полного моста (см. Рисунок 3.з).
9. ПОРЯДОК ВЫПОЛНЕНИЯ РАБОТЫ
1. Поставить ручку 2 (Рисунок 5) в крайнее правое положение (схема полумоста).
2. Вращать винт 13, изменяя при этом прогиб балки согласно табл. 1
3. Записать в табл. 1 значения тока при соответствующих отклонениях индикатора 12.
4. Перевести ручку 2 в крайнее левое положение (схема полного моста) и повторить п.п. 2 и 3.
5. По данным таблицы 1 построить график
Таблица. 1
| Величина прогиба балки (мм) | 0 | 0,5 | 1 | 1,5 | 2 | 2,5 | 3 | 2,5 | 2 | 1,5 | 1 | 0,5 | 0 |
| Ток, μА (полумост) | |||||||||||||
| Ток, μА (мост) |
















