РПЗ_ПМ (520111)
Текст из файла
МОСКОВСКИЙ ЭНЕРГЕТИЧЕСКИЙ ИНСТИТУТ
(ТЕХНИЧЕСКИЙ УНИВЕРСИТЕТ)
Кафедра основ конструирования машин
РАСЧЕТНО-ПОЯСНИТЕЛЬНАЯ ЗАПИСКА
К КУРСОВОМУ ПРОЕКТУ
по курсу "Механика и основы конструирования"
Редуктор червячный
Группа: ТФ-07-08
Студент: Ансоков А.А.
Консультант: Александровский В. Н.
Москва 2011
Оглавление
МОСКОВСКИЙ ЭНЕРГЕТИЧЕСКИЙ ИНСТИТУТ 1
(ТЕХНИЧЕСКИЙ УНИВЕРСИТЕТ) 1
1. Анализ задания, выбор электродвигателя, кинематический и силовой расчет. 3
1.1 Анализ задания 3
1.2 Выбор электродвигателя 3
1.3 Кинематический и силовой расчет 4
2. Выбор характеристик и материалов 4
3. Определение геометрических характеристик передачи 5
Проверочный расчет 6
4. Определение сил в зацеплении. 7
5. Предварительный расчет валов редуктора и конструкции червяка и вала червячного колеса. 8
5.1 Быстроходный (входной) вал 8
5.2 Тихоходный вал 11
6. Проверка работоспособности вала. Расчет на усталость. 14
7. Проверка шпоночных соединений на смятие 15
8. Проверка работоспособности валов. Расчет на усталость 16
9. Выбор сорта масла 17
10. Назначение посадок сопряженных деталей и схемы характерных посадок. 18
11. Список используемой литературы 20
Техническая характеристика
| № п\п | Наименование, размерность | Вариант 3 |
| 1 | Мощность на гайке | 0,9 |
| 2 | Частота вращения винта | 200 |
| 3 | Срок службы привода | 8000 |
-
Анализ задания, выбор электродвигателя, кинематический и силовой расчет.
-
Анализ задания
Мощность на гайке
Частота вращения винта
Срок службы привода
Вид передачи – червячная
Вид нагрузки – нереверсивная
-
Выбор электродвигателя
Определим требуемую мощность электродвигателя. Для этого рассчитаем КПД привода.
Требуемая мощность двигателя рассчитывается по формуле
Принимаем
Общее передаточное число привода
-
Кинематический и силовой расчет
| № вала | n, об/мин | Р, кВТ | Т, Н мм |
| 1 | 2880,00 | 2,9 | 9616 |
| 2 | 200 | 2,3 | 109825 |
-
Выбор характеристик и материалов
Принимаем число витков червяка равным Z1=2, тогда число зубьев червячного колеса Z2 будет равно
NHO=107 - базовое число циклов перемены напряжений при расчёте на контактную прочность
NFO=106 - базовое число циклов перемены напряжений при расчёте на изгибную выносливость
Примем величину коэффициента диаметра червяка q, учитывая, что
Определим величину ожидаемой скорости
, м/с
м/с
Выбираем материал червяка и венца червячного колеса:
Принимаем для червяка: сталь 45
Принимаем для венца червячного колеса: бронза Бр.05Ц5С5 отлитую в кокиль
Определим допускаемые напряжения
и
Для этого рассчитаем эквивалентное число циклов:
Коэффициент долговечности колеса
Таблица 3.9
Допускаемое контактное напряжение
Допускаемое напряжение изгиба
-
Определение геометрических характеристик передачи
Предварительное значение межосевого расстояния находим по формуле
мм
Определим величину модуля m
Округляем до ближайшего стандартного значения и принимаем
Вычисляем фактическое значение межосевого расстояния
Определим остальные геометрические параметры
Диаметры делительных окружностей:
Червяка
Колеса
Диаметры вершин зубьев:
Червяк
Колесо
Диаметры впадин зубьев:
Червяк
Колесо
Наибольший диаметр червячного колеса:
Длина нарезной части червяка:
Ширина венца червячного колеса:
Делительный угол подъема:
Окружная скорость червяка:
Скорость скольжения в зацеплении
:
Принятая степень точности по ГОСТ 3675-81 равна 6
Уточненное значение КПД:
Принимаем
-
Проверочный расчет
Коэффициент учитывающий механические свойства червячной пары и угла сцепления
Коэффициент нагрузки
Коэффициент формы зуба
Условие выполняется с недогрузкой в 7,59 %
Условие выполняется с недогрузкой в 80.2 %
Уточненное значение крутящего момента на ведомом валу
*
-
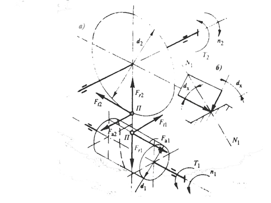
Определение сил в зацеплении.
Окружная сила на колесе (равна осевой силе на червяке):
Окружная сила на червяке (равна осевой силе на колесе):
Радиальная сила на червяке (равна радиальной силе на колесе):
-
Расчет валов
5.1 Быстроходный (входной) вал
-
Определение минимального диаметра:
Т.к. диаметр вала ЭД90L2 d=24, то
-
Определяем диаметр вала под уплотнение:
, где t – высота буртика для упора полумуфты
Принимаем
-
Определяем диаметр вала под подшипник:
-
Определяем диаметр буртика для упора подшипника:
Принимаем
Из эскиза
Подбор подшипника
№7205 α=14
d=25
D=52
B=15
C=23900
e = 1.5tg α = 0.37
Осевые составляющие радиальных реакций
Осевые реакции в опорах 1 и 2
Найдем значения X и Y:
Рассчитаем базовый расчетный ресурс
-
Тихоходный вал
-
Определение минимального диаметра:
ГОСТ 12080-66
-
Определяем диаметр вала под уплотнение:
, где t – высота буртика для упора полумуфты
Принимаем
ГОСТ 12080-66
-
Определяем диаметр вала под подшипник:
-
Определяем диаметр вала под колесо:
-
Диаметр и длина ступицы колеса
-
Диметр буртика колеса
Из эскиза
Проверка
Полные радиальные реакции равны
Подбор подшипника
№72087 α=14
d=40
D=80
B=20
C=42400
e = 1.5tg α = 0.37
Осевые составляющие радиальных реакций
Осевые реакции в опорах 1 и 2
Найдем значения X и Y:
Рассчитаем базовый расчетный ресурс
Ресурс подшипников тихоходного вала во много превосходит необходимый
6. Проверка работоспособности вала. Расчет на усталость.
Построим эпюры Mx, My, Mz
Для этого, изменим систему координат к традиционной, таким образом, что Мх и Му – будут изгибающими моментами, а Мz – крутящим.
-
Проверка шпоночных соединений на смятие.
Зададимся размерами шпонок (ГОСТ 23360-78)
| Размеры | Выходной конец быстроходного вала | Выходной конец тихоходного вала | Ступица колеса |
| Диаметр вала, d | 20 мм | 32 мм | 45 мм |
| Ширина шпонки, b | 6 мм | 10 мм | 14 мм |
| Высота шпонки, h | 6 мм | 8 мм | 9 мм |
| Длина шпонки lш | 32 мм | 56 мм | 36 мм |
| Рабочая длина шпонки, lраб | 26 мм | 46 мм | 22 мм |
Д
опускаемое напряжение смятия: [σ]см = 110 Н/мм2
Проверка на напряжения смятия:
Сталь 45
-
Выходной конец быстроходного вала:
-
Выходной конец тихоходного вала:
-
Ступица колеса:
-
Проверка работоспособности валов. Расчет на усталость.
| Размеры | Выходной конец быстроходного вала | Выходной конец тихоходного вала | Ступица колеса |
| Глубина паза Вала, t1 Втулки t2 | 2,5 мм 1,8 мм | 3,5 мм 2,8 мм | 4,0 мм 3,3 мм |
-
Тихоходный вал.
Wизг для вала в опасном сечении
Коэффициент влияния размеров детали
Коэффициент влияния шероховатости поверхности
Коэффициент влияния упрочнения при поверхностной обработке
Зададимся материалом вала: Сталь 45
Коэффициенты концентрации по нормальным и касательным напряжениям
Суммарный коэффициент снижения предела выносливости при изгибе:
Суммарный коэффициент снижения предела выносливости при кручении:
Амплитудное значение нормальных напряжений:
Среднее значение нормальных напряжений:
Амплитудное и среднее значение касательных напряжений:
Характеристики
Тип файла документ
Документы такого типа открываются такими программами, как Microsoft Office Word на компьютерах Windows, Apple Pages на компьютерах Mac, Open Office - бесплатная альтернатива на различных платформах, в том числе Linux. Наиболее простым и современным решением будут Google документы, так как открываются онлайн без скачивания прямо в браузере на любой платформе. Существуют российские качественные аналоги, например от Яндекса.
Будьте внимательны на мобильных устройствах, так как там используются упрощённый функционал даже в официальном приложении от Microsoft, поэтому для просмотра скачивайте PDF-версию. А если нужно редактировать файл, то используйте оригинальный файл.
Файлы такого типа обычно разбиты на страницы, а текст может быть форматированным (жирный, курсив, выбор шрифта, таблицы и т.п.), а также в него можно добавлять изображения. Формат идеально подходит для рефератов, докладов и РПЗ курсовых проектов, которые необходимо распечатать. Кстати перед печатью также сохраняйте файл в PDF, так как принтер может начудить со шрифтами.
, кВт
, об/мин
, час
















