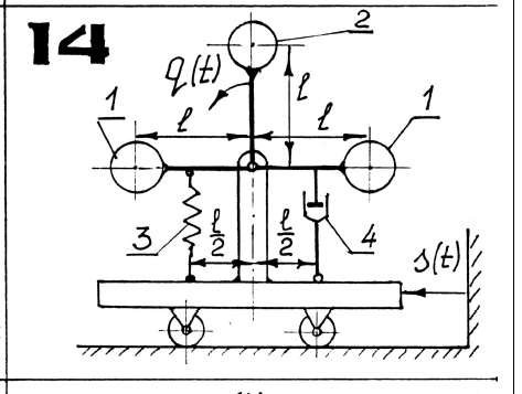
Для студентов МГТУ им. Н.Э.Баумана по предмету Теоретическая механикаКолебания линейной системы с одной степенью свободыКолебания линейной системы с одной степенью свободы
5,0059
2020-05-122020-05-12СтудИзба
ДЗ 2: Колебания линейной системы с одной степенью свободы вариант 14
Описание

Характеристики домашнего задания
Предмет
Учебное заведение
Семестр
Номер задания
Вариант
Просмотров
231
Качество
Скан рукописных листов
Размер
1,5 Mb
Список файлов
Термех колебания.pdf