Предохранительные устройства от перегрузки (1261628)
Текст из файла
Общие сведения (см. [1])
Назначение предохранительных устройств – защита механизмов станка от поломок при превышении заданных величин различных физических параметров.
Причины перегрузок – неправильно выбранные режимы резания, отклонения твердости материала, биение заготовок, затупление режущего инструмента. В некоторых случаях перегрузка создается искусственно, например, при работе с жесткими упорами, в системах зажимных устройств и приспособлений и подвижных узлов тяжелых станков (поперечин, колонн, траверс и др.). Причиной перегрузки могут быть неправильные включения несовместимых движений, нарушение заданной последовательности включения в работу рабочих органов и др.
Виды предохранительных устройств – ограничительные и блокировочные.
Назначение ограничительных устройств – ограничение величины сил, крутящих моментов, давления в гидро- и пневмосистемах и т. П.
Назначение блокировочных устройств – запрещают одновременное включение несовместимых движений, либо прекращают действие определенного рабочего органа, если нарушен порядок включения. Например, приведет к аварии одновременное включение в работу ходового винта и ходового вала токарно-винторезного станка. Выйдет из строя механизм станка или инструмент, если включить подачу стола при вращающемся инструменте (сверла, фрезы). Поломается развертка или метчик, если предварительно не будет просверлено отверстие и не сблокирована подача.
Предохранительные устройства от перегрузки
Срезные устройства представляют собой штифты или шпонки, которые при перегрузке разрушаются, разрывая кинематическую цепь и предотвращая тем самым перегрузку
Срезная предохранительная муфта (cм. [1], [4))
Рисунок 1
К
онструкция:
На вал насажены две полумуфты: левая 2 жестко, правая 6 свободно. На ее ступице могут быть установлены на шпонке зубчатые колеса и другие детали передач. Вращение последних связано с валом 1 через штифт 4, вставленный в стальные, закаленные втулки 3 и 5. Штифты — цилиндрические, обычно гладкие (реже с V-образной кольцевой канавкой) изготовляют из сталей У8А, У10А, 40, 45, 50.
Расчет:
Величина предельного крутящего момента
d — диаметр штифта; обычно d = 2…8 мм;
Радиус расположения штифта
Коэффициент пропорциональности между пределом прочности при срезе
и пределом прочности при растяжении
для гладких штифтов
для штифтов с канавкой
меньшие значения, для
, большие
Достоинства – простота конструкции
Недостатки – низкая точность срабатывания и необходимость менять штифты или шпонки после разрушения (поэтому применяется при редких перегрузках)
Необходима полная соосность полумуфт (соосность может быть обеспечена, если к этой конструкции добавлять компенсирующую муфту)
Кулачковые предохранительные устройства (см. [1], [5])
Рисунок 2
В
иды:
-
муфты, связывающие два соосно расположенных вала
-
самостоятельный узел, монтируемый на одном валу (рисунок 2)
Конструкция:
Втулка 6, жестко сидящая на валу 1, несет все детали. Справа размещено свободно вращающееся зубчатое колесо 5, слева, на шлицах, - подвижная полумуфта 4. Обе детали имеют в торце скошенные кулачки. Контакт между ними поддерживается при помощи группы пружин 3. Если колесо 5 ведущее, то кулачки ведут полумуфту 4 и вал. Осевые силы, возникающие на кулачках, уравновешиваются пружинами, регулируемыми гайкой 2. При перегрузке ведомые звенья (вал и втулка 4) останавливаются. Пружины не в состоянии уравновесить возросшие осевые силы, поэтому кулачки выйдут из зацепления, перемещая втулку 4 влево. Это даст возможность колесу 5 продолжать вращение. После устронения причины перегрузки, когда очередной выступ одного кулачка будет находиться против впадины другого, пружина переместит втулку 4 вправо и кулачки войдут в зацепление.
Рисунок 3
Н
а рисунке 3 показана форма кулачков и их профиль в развертке. Рабочие поверхности контакта выполняют винтовыми и плоскими. Первые сложнее в изготовлении, но они надежней в работе. Угол наклона
. Количество кулачков делают нечетным, чаще всего три. Располагают их равномерно (предпочтительнее) и неравномерно.
Расчет:
По месту контакта кулачков действуют силы
. Силы трения
отклоняют их от нормали на угол трения
. После разложения получим две группы сил:
— осевые составляющие и
- окружные силы. Они связаны соотношением
, и суммарная величина осевой составляющей на всех кулачках:
В соединении между втулкой 6 и полумуфтой 4 возникает сила трения
, направленная вдоль шлицев.
- суммарная окружная сила
- средний диаметр кулачков с винтовой рабочей поверхностью (для кулачков с плоской рабочей поверхностью D - наружный диаметр кулачков)
- средний диаметр контакта в шлицевом соединении;
- приведенный коэффициент трения в шлицевом соединении.
Условия равновесия элементов кулачковой муфты в момент выключения можно с достаточной точностью выразить равенством:
- сила отдачи пружины
Соотношения основных размеров кулачковых предохранительных муфт см. [1], стр. 435.
Достоинства – применяются при частых перегрузах
Недостатки – конструктивно тяжелей и дороже, чем срезная муфта
Шариковые предохранительные устройства (см. [1], [5])
Рисунок 4
Шариковые предохранительные устройства аналогичны кулачковым. Одна из конструкций показана на рисунке 4. Роль кулачков здесь играют стальные закаленные шарики 4, находящиеся в контакте с тороидальными (рисунок 5а) или конусными (рисунок 5б) поверхностями и призматическими пазами (рисунок 5в). При вращении колеса 5 шарики, прижатые к рабочей поверхности, вращают втулку 3 и вал 1. Во время перегрузки вал 1 и втулка 6 останавливаются, а колесо 5 продолжает вращаться, выжимая шарики 4 в отверстия втулки. Муфта регулируется гайкой 2.
Рисунок 5
Суммарная сила сжатия пружин
- угол наклона касательной в точке контакта шарика с рабочей поверхностью
- угол трения между шариками и поверхностями контакта
- приведенный коэффициент трения между шариками и стенками отверстия при осевом перемещении шариков.
У предохранителей, выполненных по вариантам, представленным на рисунках 5б, 5в угол
определяется углом конусности и в процессе смещения шариков почти не изменяется. Если шарики находятся в контакте с тороидальной поверхностью с
, то
- диаметр шарика
h - высота, на которую он выступает из отверстия.
Если е — зазор между торцами полумуфт в рабочем состоянии, то величина хода подвижной части муфты
Величина окружной силы Р0, передаваемой муфтой, зависит от расположения шариков. Стоит при перегрузке шарикам сместиться, как угол а начнет увеличиваться и окружная сила
, которую в состоянии передать муфта, резко уменьшится, а это приведет к быстрому срабатыванию.
Муфты работают удовлетворительно, если величина нормального давления в зоне контакта
. Величина
, действующая на один шарик, берется в зависимости от диаметра шарика
.
|
| 11 | 12 | 14 | 16 | 20 | 24 | 28 | 32 |
|
| 160 | 180 | 200 | 220 | 280 | 340 | 400 | 500 |
Число шариков, потребных для передачи заданной окружной силы
.
Значения основных параметров шариковых предохранительных муфт представлены в [1], стр. 437
Достоинства – применяются при частых перегрузах
Недостатки – конструктивно тяжелей и дороже, чем срезная муфта
Фрикционные предохранительные муфты (cм. [1], [4])
Рисунок 6
К
онструкция:
Наибольшее распространение получили дисковые муфты, как более надежные. Конструкция предохранителя показана на рисунке 6. Втулка 2 установлена на шлицах вала 1. Корпусом для наружных дисков 4 служит зубчатое колесо 5. Внутренние диски 3 насажены на шлицах втулки 2. Пакет дисков с помощью пружин 7, вставленных в отверстия диска 8, зажимается между стенкой колеса 5 и нажимным диском 6. Сжатие и регулировка пружин осуществляются с помощью гайки 11, диска 10 и шариков 9. При перегрузке ведомое звено останавливается, ведущее продолжает вращаться, а диски пробуксовывают. Материалом для дисков при наличии смазки служит закаленная сталь, при отсутствии смазки - прессованный асбест или металлокерамика в паре со сталью.
Достоинства – после перегрузки муфта автоматически восстанавливает свою работоспособность
Недостатки – при соединении муфтой 2х валов необходимо обеспечение полной соосности обеих полумуфт (в данном случае соосность обеспечена размещением полумуфт на одном валу)
Со временем сила нажатия пружины уменьшается из-за износа дисков. Для увеличения времени работы муфты без регулировки повышают податливость пружины за счет увеличения ее длины.
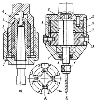
Рисунок 7
П
ростая конструкция патрона для установки и закрепления сверл и зенкеров диаметром 6—65 мм показана на рисунке 7а. Втулка 4 с внутренним конусом Морзе вставлена в отверстие корпуса 3. В пространстве между ними установлена резиновая втулка 1. Затягиванием гайки 2 регулируется сила прижатия резины к корпусу и втулке. Во время работы возникающая сила трения передает вращение от корпуса 3 к втулке 4. При перегрузке происходит проскальзывание по одной из поверхностей резиновой втулки.
При сверлении отверстий малых диаметров (1—3 мм) требуется ограничивать момент до 0,5
. Конструкция такого патрона с постоянными магнитами показана на рис. 7б. Предохранительное устройство имеет корпус 10, несущий в себе магнитную систему, состоящую из двух блоков магнитов 11 и 12. Блок магнитов представляет собой зубчатый диск из магнитомягких полюсов-зубцов, между которыми расположены постоянные магниты 14, намагниченные как показано на рисунке 7в. Блок магнитов 12 может поворачиваться относительно блока магнитов 11, вследствие чего изменяется внешнее магнитное поле системы и, следовательно, передаваемый крутящий момент. При настройке устройства на заданный крутящий момент для поворота и фиксирования магнитных систем в нужном положении используют лимб 13, соединенный с блоком магнитов 12. В центре устройства расположен зубчатый якорь 8, выполненный из магнитомягкого материала на немагнитной оси 6. Якорь центрируется в устройстве подшипниками 9 и 7. Свободный конец якоря оснащен инструментальным патроном 5.
Характеристики
Тип файла документ
Документы такого типа открываются такими программами, как Microsoft Office Word на компьютерах Windows, Apple Pages на компьютерах Mac, Open Office - бесплатная альтернатива на различных платформах, в том числе Linux. Наиболее простым и современным решением будут Google документы, так как открываются онлайн без скачивания прямо в браузере на любой платформе. Существуют российские качественные аналоги, например от Яндекса.
Будьте внимательны на мобильных устройствах, так как там используются упрощённый функционал даже в официальном приложении от Microsoft, поэтому для просмотра скачивайте PDF-версию. А если нужно редактировать файл, то используйте оригинальный файл.
Файлы такого типа обычно разбиты на страницы, а текст может быть форматированным (жирный, курсив, выбор шрифта, таблицы и т.п.), а также в него можно добавлять изображения. Формат идеально подходит для рефератов, докладов и РПЗ курсовых проектов, которые необходимо распечатать. Кстати перед печатью также сохраняйте файл в PDF, так как принтер может начудить со шрифтами.
















