практика S21 (1260272)
Текст из файла
e
Министерство науки и высшего образования Российской Федерации Федеральное государственное бюджетное образовательное учреждение высшего образования
«Московский государственный технический университет имени Н.Э. Баумана (национальный исследовательский университет)» (МГТУ им. Н.Э. Баумана)
ФАКУЛЬТЕТ «Робототехника и комплексная автоматизация» (РК)
КАФЕДРА «Системы автоматизированного проектирования» (РК6)
Отчёт по практической работе №3
По курсу «Ознакомительная практика»
Студент:
YOUR_NAME_AND_GROUP(1 курс)
____________________
(подпись, дата)
Проверил:
Кузьмина Инна Анатольевна
____________________
(подпись, дата)
Москва, 2021
Задание:
Разработать программу, которая в любой заданной строке символов находит максимальное число одинаковых символов, стоящих подряд. При поиске программа должна обеспечивать минимальное число явных равнений символов заданной строки. Требуемая строка символов должна передаваться программе через аргументы командной строки ее вызова. Результат работы программы должен идентифицировать код возврата.
Входные данные:
Программа получает на вход любую строку символов.
Выходные файлы:
Результатом работы программы, является вывод числа, характеризующего максимальное количество стоящих подряд одинаковых символов.
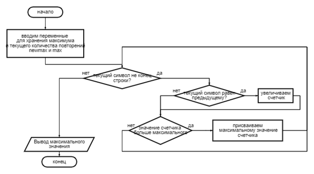
Описание алгоритма:
В функции main создаем и обнуляем две целочисленные переменные – для хранения текущего количества символов подряд и для максимального количества. В цикле до конца строки сравниваем текущий символ с предыдущим, и, при положительном результате увеличиваем счетчик. В случае, если значение счетчика превышает значение максимума, в переменную max записывается значение счетчика.
Литература:
-
Лекционный и семинарский материалы
-
Бьёрн Страуструп «Программирование: принципы и практика с использованием С++» 2 издание.
-
Бьёрн Страуструп «Язык программирования С++» второе дополненное издание
-
База и Генератор Образовательных Ресурсов - http://bigor.bmstu.ru/
Приложение 1. Код программы:
#include <stdio.h>
int main(int argc, char** argv)
{
int i=0,newm=0, max=0;
while(argv[1][i]!=NULL)
{
i++;
if(argv[1][i]==argv[1][i-1])
newm++;
if(newm>max)
max=newm;
}
printf("%d", max);
}
Приложение 2. Блок-схема алгоритма.
Результаты тестирования:
Запуск и передача значения: /lab aadfffffffbaaggg
Вывод программы:
Запуск и передача значений: /lab dfgdfdhdhdfhdf
Вывод программы:
3
Характеристики
Тип файла документ
Документы такого типа открываются такими программами, как Microsoft Office Word на компьютерах Windows, Apple Pages на компьютерах Mac, Open Office - бесплатная альтернатива на различных платформах, в том числе Linux. Наиболее простым и современным решением будут Google документы, так как открываются онлайн без скачивания прямо в браузере на любой платформе. Существуют российские качественные аналоги, например от Яндекса.
Будьте внимательны на мобильных устройствах, так как там используются упрощённый функционал даже в официальном приложении от Microsoft, поэтому для просмотра скачивайте PDF-версию. А если нужно редактировать файл, то используйте оригинальный файл.
Файлы такого типа обычно разбиты на страницы, а текст может быть форматированным (жирный, курсив, выбор шрифта, таблицы и т.п.), а также в него можно добавлять изображения. Формат идеально подходит для рефератов, докладов и РПЗ курсовых проектов, которые необходимо распечатать. Кстати перед печатью также сохраняйте файл в PDF, так как принтер может начудить со шрифтами.
















