Семинар 7-8 (1244825), страница 3
Текст из файла (страница 3)
|
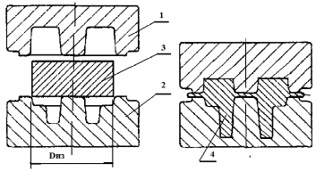
КИМз = Тп = Рис. 18. Штамповка в торец а – начало штамповки; б – конец штамповки; Dиз – диаметр исходной заготовки | ||
|
Рис. 19 Поковка после штамповки | ||
|
Рис. 20. Обрубка заусенца |
Рис. 21. Пробивка перемычки-пленки | |
|
Материал (указать марку стали) Рис. 22 Эскиз детали |
Рис. 23 Поковка, поступающая на механическую обработку В, Н – плоскость разъема штампа | |
СЕМИНАР 8. Специальные машины ГКШП.
4. Штамповка на горизонтально-ковочных машинах (ГКМ) (рис. 46Д)
|
Рис. 46Д Штамповка на горизонтально-ковочной машине (ГКМ) При штамповке на ГКМ применяются многоручьевые закрытые штампы, состоящие из пуансона и разъемных матриц. Пруток 1 нагретым концом укладывается в неподвижную половину матрицы 2 и подается до упора 3. Пуансон 4 в это время находится в крайнем правом положении (рис. 46Д , а). Затем (рис. 46Д, в), пуансон 4 деформирует конец прутка с усилием Рд до тех пор, пока не образуется готовая поковка. После этого (рис. 46Д, г) подвижная часть матрицы 5 и пуансон 4 отводятся в первоначальное положение. Штампованная поковка 6 извлекается из штампа. Упор 3 занимает исходное положение. Цикл штамповки повторяется. Основной операцией при изготовлении поковок на ГКМ является высадка, часто сопровождающаяся прошивкой. |
V.I. Специальные способы обработки металлов давлением
К специальным способам обработки металлов давлением относятся: штамповка на ковочных вальцах (вальцовка) (рис. 61Д); штамповка на ротационно-ковочных машинах (рис. 62Д); раскатка (рис. 63Д); накатка зубчатых колес (рис. 64Д); высадка на электровысадочных машинах (рис. 65Д); электромагнитная штамповка (штамповка в импульсном магнитном поле) (рис. 66Д); электрогидравлическая штамповка (рис. 67Д), штамповка взрывом (рис. 68Д).
| Рис. 61Д Штамповка на ковочных вальцах (вальцовка) Вальцовка – получение из листовых заготовок волнистой поверхности и других различных выступов | Исходная заготовка пруток или лист. Нагретая исходная заготовка 1 подается с помощью захвата 5 до упора 2 при открытых секторных штампах 3. При повороте секторных штампов 3 происходит захват заготовки и ее обжатие по форме полости штампа. Одновременно с обжатием заготовка выталкивается в направлении, указанном горизонтальной стрелкой. В результате формируется поковка 4. Продукция. Поковки типа звеньев цепей, рычагов, гаечных ключей и т.п. | |
| Рис. 62Д Штамповка на ротационно-ковочных машинах | Исходная заготовка – пруток, труба. Штамповка на ротационно-ковочных машинах заключается в местном обжатии исходной заготовки по периметру Исходную заготовку 1 в виде прутка или трубы помещают в отверстие между бойками 2 машины, находящимися в шпинделе 3. Бойки могут свободно скользить в радиально расположенных пазах шпинделя. При вращении шпинделя ролики 4, помещенные в обойме 5, толкают бойки 2, которые наносят удары по заготовке. В исходное положение бойки возвращаются под действием центробежных сил. Процесс ведется как в холодном , так и в горячем состояниях. Продукция. На легких ротационно-ковочных машинах обрабатывают швейные иглы диаметром до 0,3 мм, а на тяжелых – стальные трубы диаметром до 320 мм и сплошные ступенчатые валы диаметром до 250 мм. | |
| Рис. 63Д. Раскатка | Исходная заготовка - кольцо с меньшим диаметром и большей толщиной стенки, чем у получаемой поковки. При подведении к исходной заготовке 1, надетой на валок 2, быстро вращающегося валка 3 заготовка и валок 2 начинают вращаться. При дальнейшем сближении валков 2 и 3 под действием силы Р увеличивается наружный диаметр исходной заготовки в результате уменьшения толщины стенки и происходит ее контакт с направляющим роликом 4, обеспечивающим получение правильной кольцевой формы наружной поверхности поковки. После касания поковкой контрольного ролика 5 раскатка прекращается. Продукция. Кольца ( в том числе кольца подшипников) с наружным диаметром 70…700 мм и шириной 20…180 мм. | |
| Рис. 64Д Накатка зубчатых колес | Поверхностный слой исходной цилиндрической заготовки 1 с помощью индуктора 2 нагревается током высокой частоты (ТВЧ). Валок 4 , имеющий форму зубчатого колеса, получает принудительное вращение и поступательное перемещение под действием силы Р. Валок 4 вдавливается в заготовку 1 , формируя в ней профиль зубьев. Ролик 3, свободно вращаясь на валу, формирует внешнюю поверхность зубьев. Поверхностный нагрев повышает износостойкость и усталостную прочность зубьев. |
| Рис. 65Д Высадка на электровысадочных машинах | Исходная заготовка – труба, пруток. Исходная заготовка 2 подается до упора 1 и зажимается в радиальном скользящем электроконтакте 3 усилие Р1. Через исходную заготовку пропускается электрический ток. Источником переменного тока является трансформатор 4. Ток нагревает участок исходной заготовки, находящийся между электроконтактом 3 и упором 1.При достижении определенной температуры производится осадка заготовки 2 с усилием Р2. В результате осадки нагретая концевая часть исходной заготовки деформируется. Продукция. Валы и трубы с концевыми утолщениями. |
|
Рис. 66Д Электромагнитная штамповка (штамповка в импульсном магнитном поле) | Электромагнитная штамповка основана на преобразовании электрической энергии в механическую. Полая исходная заготовка 2 устанавливается в зазор между разъемной матрицей 1 и соленоидом (индуктором)* 3. При разряде батареи конденсаторов 4 (время разряда 40-50 мкс) на соленоид 3 вокруг соленоида возникает мгновенное магнитное поле высокой мощности. Это магнитное поле наводит вихревые токи в трубчатой токопроводящей исходной заготовке 2, которые, возникнув, также создают свое магнитное моле. Взаимодействие магнитных полей вихревых токов с магнитным полем индуктора приводит к отталкиванию исходной заготовки от индуктора со скоростью 200 – 300 м/с. Исходная заготовка 2 ударяется о разъемную матрицу 1, деформируется и принимает форму ее внутренней полости. Особенность электромагнитной штамповки - высокая скорость деформирования *Соленоид (индуктор) – спиральные витки из токопроводящего материала. Продукция. Листовые и трубчатые штампованные поковки толщиной до 5 мм |
















