Методический комплекс по лабораторным работам (1233911)
Текст из файла
Методический комплекс лабораторных работ по дисциплине
«Испытания подъемно транспортных, строительных, дорожных средств и оборудования»
методические указания по лАБОРАТОРНым работам
по дисциплине “Испытания подъемно-транспортных, строительных, дорожных средств и оборудования”
Содержание:
-
Изучение принципа действия и устройства контрольно-испытательного стенда модели Э240
-
Испытание автомобильного стартера
-
Исследование автомобильного генератора Г221А
-
Исследование фракционного состава и качества отработавших газов автомобилей с бензиновыми двигателями
-
Измерение дымности отработавших газов дизельных двигателей автомобилей
-
Контроль технического состояния форсунок дизельных двигателей и их регулировка
-
Техническое диагностирование двигателей по содержанию продуктов износа в картерном масле
-
Диагностирование системы электроснабжения с помощью комплекса автодиагностики КАД – 400
-
Компьютерное диагностирование двигателя
Лабораторная работа № 1
ИЗУЧЕНИЕ ПРИНЦИПА ДЕЙСТВИЯ И УСТРОЙСТВА КОНТРОЛЬНО-ИСПЫТАТЕЛЬНОГО
СТЕНДА МОДЕЛИ Э240
Цель работы: ознакомление с устройством, элементами управления и принципом действия контрольно-испытательного стенда Э240.
Основные этапы работы
-
Внеаудиторная подготовка к работе в лаборатории с целью изучения устройства, принципа действия стенда Э-240 и методики проведения испытания на его базе автомобильных электромеханических устройств.
-
Работа в лаборатории, связанная с изучением стенда Э240, его элементов управления и основных этапов подготовки стенда к работе по испытанию автомобильных генераторов и стартеров.
-
Обработка и анализ полученной в лаборатории информации, оформление отчета.
-
Защита лабораторной работы.
Программа работы
-
Внеаудиторная подготовка к работе в лаборатории:
-
Используя настоящие методические указания, техническое описание и инструкции по эксплуатации стенда модели Э240, ознакомьтесь с его назначением, принципом действия и элементами его управления.
-
В процессе подготовки к работе в лаборатории ответьте на контрольные вопросы.
-
-
Работа в лаборатории:
2.1 Подготовьте стенд к работе.
Все органы управления стендом должны находиться в исходном состоянии:
-
переключатели SI - в положении 3;
-
S4 - 12 В;
-
S5 - 30 А;
-
S6 - 2;
-
S7 - 25 A;
-
S10 - 1;
-
S11 - 1;
-
реостат 5 (R3) - против часовой стрелки до упора.
Стенд включается автоматическим выключателем 2 (S3), после этого он практически готов к работе.
-
Произведите проверку исправности стенда методом опробования.
Включите стенд, при этом должна загореться лампа 27. Нажмите
кнопку S12 «Пуск». Шкив привода должен вращаться против часовой стрелки. При вращении по часовой стрелке требуется поменять местами любые две фазы питающей сети.
Плавно перемещайте рукоятку 33 регулирования частоты вращения вариатора против часовой стрелки, частота вращения шкива привода должна увеличиваться, а при возвращении в исходное положение (по часовой стрелке до упора) уменьшаться до минимальной.
ВНИМАНИЕ! Во избежание перегрева ремней время непрерывной работы вариатора на максимальных оборотах должно быть не более 30 с, на средних - 2,5 мин, при перерывах между включениями - 15 мин.
Нажмите кнопку S8 «Стоп». Двигатель электрического привода должен выключиться.
Привод стенда исправен.
-
Установите переключатели:
-
S4 - в положение 24 В;
-
S5 - 10 A;
-
S6 - 4;
-
S10 - 1.
Проводом 2 из комплекта принадлежностей соедините между собой клеммы источника питания «=U » 12/24 В и нагрузки «R» (соответственно клеммы Кл1 и Кл2 на приборной панели стенда).
Установите рукояткой реостата 5 (R3) силу тока 6-8 А, при этом показание вольтметра должно быть не менее 20 В. Установите переключатель S5 в положение 30 А, показание амперметра должно быть 10 А.
Источник питания исправен.
-
Установите переключатели:
-
S6 - в положение 1;
-
S4 - 12 В;
-
S10 - 4.
Нажмите кнопку S12 «Пуск». Вольтметр 14 должен показать напряжение на клеммах питания стартера не менее 10 В.
Установите переключатель S4 в положение 24 В. Нажмите кнопку S12 «Пуск». Вольтметр 14 должен показать напряжение на клеммах питания стартера не менее 20 В.
Силовой блок исправен.
-
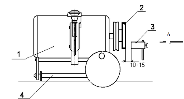
Установку генератора на стенде производите, как показано на рисунке 1.1. Соедините шкив генератора с приводным шкивом стенда (первая ступень) клиновым ремнем из комплекта принадлежностей. Отрегулируйте натяжение ремня.
При проверке генератора постоянного тока в режиме двигателя шкив генератора не требуется соединять с приводным шкивом стенда.
Проверку генераторов при повышенной частоте вращения производите, когда генератор работает совместно с реле-регулятором. При этом клиновой ремень должен быть надет на вторую ступень приводного шкива стенда.
Вид А
Рис. 1.1 Установка генератора в зажимном устройстве стенда:
1 - генератор; 2 - втулка резиновая; 3 - датчик тахометра; 4 - зажим; 5 - риски; 6 - рукоятка зажима
-
Подготовку тахометра для измерения частоты вращения вала генератора проводите следующим образом:
-
установите переключатель S1 в положение 3;
-
наденьте крепежную гайку шкива генератора, резиновую втулку 2 из комплекта принадлежностей и нанесите на ее торце белым мелом (можно наклеить полоски белой бумаги или ленты) одну или две полоски 5 шириной 15 мм по радиусу (см. рис. 1.1). Если на торце втулки нанесена одна риска, то предел измерения тахометра составит 10000 об./мин, если две, то 5000 об./мин;
-
установите по высоте корпус оптического датчика 3 и подвиньте к резиновой втулке так, чтобы нижний край датчика находился на одном уровне с кромкой резиновой втулки на расстоянии 10-15 мм от нее;
-
вставьте шнур питания датчика тахометра в гнездо розетки 8;
-
включите стенд и измерьте частоту вращения генератора.
Отключите тахометр, приведите ручки управления в первоначальное
положение и с помощью выключателя отключите питание стенда.
-
При проверке привода стартера снимите перемычку, идущую от его главных контактов к электродвигателю.
При проверке стартера в режиме холостого хода не требуется ведущую шестерню вводить в зацепление с ведомой шестерней тормозного устройства.
Подготовку тахометра для измерения частоты вращения вала стартера проводите следующим образом:
-
установите переключатель S1 в положение 3;
-
наденьте и закрепите винтами на корпусе датчика тахометра приставку с выходным валом, имеющим на конце обрезиненную конусную вставку;
-
вставьте шнур питания датчика тахометра в гнездо разъема 8;
-
измерьте частоту вращения путем непосредственного притыкания вала датчика к торцу вала стартера.
-
Составление отчета о проделанной работе.
Отчет должен содержать краткое описание блоков стенда, способов управления и назначение измерительных приборов. Кроме этого, в отчете следует описать способы крепления испытываемых устройств на стенде и основные манипуляции для измерения сопротивления изоляции и частоты вращения вала генераторов и стартеров.
-
Защита лабораторной работы.
Методический материал к лабораторной работе
Устройство и принцип работы стенда Э240
Стенд Э240 предназначен для испытания следующих элементов электрооборудования автомобилей и тракторов (АиТ):
-
генераторов постоянного и переменного тока;
-
реле-регуляторов к генераторам;
-
стартеров;
-
тяговых реле стартеров;
-
коммутационных реле.
Основные функциональные узлы и блоки контрольно-испытательного стенда (рис. 1.2) обеспечивают нормальное функционирование испытываемых устройств и содержат набор контрольно-измерительных приборов для осуществления контроля и измерения параметров испытываемых устройств электрооборудования АиТ.
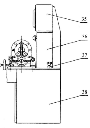
Рис. 1.2 Внешний вид контрольно-испытательного стенда:
вид спереди: 1 - электродвигатель; 2 - автоматический выключатель сети (S3); 3 - вариатор; 4 - натяжное устройство; 5 - реостат нагрузки (R3);
6 - розетка для контроля изоляции;7 - индикатор контроля изоляции;
8 - розетка для подключения датчика тахометра; 9 - переключатель напряжения 12 В и 24 В (S4); 10 - индикаторы пределов измерения вольтметра; 11, 12 - клеммы для подключения проверяемого электрооборудования;
13- переключатель пределов измерения вольтметра (S10);14 - вольтметр;
15 - розетка для измерения напряжения переменного тока;16- переключатель выбора омметра-тахометра-силоизмерителя (S1);17 - ручка установки нуля омметра; 18 - измерительный прибор (омметр, тахометр, силоизмеритель);
19 - розетка омметра; 20 - переключатель выбора модуля и числа зубьев проверяемого стартера (S11); 21 - амперметр; 22 - переключатель пределов измерения амперметра (S5); 23 - индикатор перегрузки; 24 - кнопка принудительного возбуждения (S9); 25 - кнопка «Пуск» черного цвета (S12); 26 - кнопка «Стоп» красного цвета (S8); 27 - индикатор «Сеть»;
28 - предохранитель; 29 - переключатель режимов работы стенда (S6);
30 - переключатель нагрузки; 31 - зажимное устройство для крепления стартеров; 32 - тормозное устройство для стартеров; 33 - ручка управления вариатором; 34 - силовой блок питания; Вид сбоку: 35 – панель приборов,
36 – стойка, 37 – клемма для подключения стартеров, 38 – основание стенда.
Стенд модели Э240 имеет следующие функциональные узлы:
-
электрический привод;
-
силовой блок питания;
-
тахометр;
-
источник питания;
-
измеритель крутящего момента;
-
амперметр;
-
вольтметр;
-
устройство контроля изоляции цепей низкого напряжения.
Привод состоит из асинхронного двигателя с короткозамкнутым ротором и двухступенчатого клиноременного вариатора.
Электрическая схема привода содержит также магнитные пускатели кнопок S12 «Пуск» и S8 «Стоп» и автоматического выключателя S3, с помощью которого осуществляется защита от коротких замыканий в стенде.
Силовой блок питания состоит из силового понижающего трансформатора; выпрямительных диодов, соединенных по мостовой схеме, реле, защищающего силовой блок от коротких замыканий и перегрузок в цепи нагрузки (при силе тока около 900-1000 А).
Выходное напряжение 12 В или 24 В устанавливается с помощью переключателя S4. Включение блока питания осуществляется кнопкой S12 «Пуск», отключение - кнопкой S8 «Стоп».
Источник питания предназначен для выработки напряжений постоянного тока (стабилизированного +15 В; стабилизированного +2 В; нерегулируемого +12 В, +24 В) и напряжений переменного тока (12 В, 150 В, 220 В).
Электрическая схема контроля изоляции состоит из ограничительных резисторов и тиратрона. При замыкании гнезд розетки 6 (имитации пробоя проверяемой изоляции) тиратрон загорается.
Омметр предназначен для измерения сопротивления постоянному току цепей проверяемого электрооборудования. Схема омметра состоит из переключателя пределов измерения S1, установки нуля «0» и измерительного прибора. Измеряемое сопротивление подключается к гнездам розетки 19.
Тахометр состоит из оптического датчика, измерительного прибора, переключателя S1 и усилителя-преобразователя. Датчик состоит из фоторезистора и лампы подсветки. Он имеет два исполнения: бесконтактный и приточного типа. У бесконтактного датчика свет лампы отражается от белой полосы (бумага, липкая лента), наклеиваемой на резиновую втулку из комплекта принадлежностей, которая крепится на валу проверяемого генератора. При вращении ротора генератора чередование темных и белых полос фиксируется фоторезистором. Если наклеена одна полоса, то предел измерения тахометра - 10000 об./мин, если две, то 5000 об./мин.
У приточного типа датчика свет лампы отражается от белого сектора диска, насаженного на вал датчика.
Измерение силы тока производится измерительным прибором 21 через шунты. Переключение его пределов измерения выполняется переключателем S5. Предел измерения 0-10 А используется для измерения силы тока в цепи источника питания +12 В, +24 В. Пределы 0-30 А и 0-100 А используются для измерения силы тока в цепи нагрузки. Пределы измерения 0-300 А и 0-1000 А используются для измерения силы тока в цепи силового блока питания стартера.
Схема вольтметра состоит из измерительного прибора 14 и добавочных резисторов, расширяющих пределы его измерения. Переключатель S10 осуществляет подключение вольтметра к различным точкам стенда для измерения напряжения.
В состав измерителя крутящего момента входят: преобразователь тормозного усилия в электрический сигнал (датчик давления), переключатели S1, S11 и измерительный прибор 18.
Переключателем S1 устанавливается предел измерения крутящего момента.
Нагрузкой проверяемых генераторов служит реостат R3. Реостатом устанавливается плавная, а переключателем S7 ступенчатая регулировка силы тока нагрузки генераторов.
Управление режимами работы стенда осуществляется переключателями S4, S6, S7 и кнопками управления S8, S9, S12.
С помощью переключателя S6 устанавливается программа испытаний:
-
в положении 1 испытываются стартеры, мощные генераторы постоянного тока в режиме двигателя, ограничители тока реле-регуляторов;
-
в положениях 2-4 испытываются генераторы постоянного и переменного тока в режиме холостого хода и под нагрузкой, реле-регуляторы, коммутационные реле.
Лампа 27 сигнализирует о включении стенда. Лампы 10 сигнализируют о пределе измерения вольтметра (20 В или 40 В).
Характеристики
Тип файла документ
Документы такого типа открываются такими программами, как Microsoft Office Word на компьютерах Windows, Apple Pages на компьютерах Mac, Open Office - бесплатная альтернатива на различных платформах, в том числе Linux. Наиболее простым и современным решением будут Google документы, так как открываются онлайн без скачивания прямо в браузере на любой платформе. Существуют российские качественные аналоги, например от Яндекса.
Будьте внимательны на мобильных устройствах, так как там используются упрощённый функционал даже в официальном приложении от Microsoft, поэтому для просмотра скачивайте PDF-версию. А если нужно редактировать файл, то используйте оригинальный файл.
Файлы такого типа обычно разбиты на страницы, а текст может быть форматированным (жирный, курсив, выбор шрифта, таблицы и т.п.), а также в него можно добавлять изображения. Формат идеально подходит для рефератов, докладов и РПЗ курсовых проектов, которые необходимо распечатать. Кстати перед печатью также сохраняйте файл в PDF, так как принтер может начудить со шрифтами.









