Методический комплекс по лабораторным работам (1233911), страница 7
Текст из файла (страница 7)
Для печати - нажать «Enter», отмена печати - «F1». После печати или отмены происходит переход в меню «Измерение». Текстовый ввод осуществляется клавишами букв и цифр, смена регистра - «Shift», выбор цифр «↑» выбор букв«↓» переход к следующей букве - «→».
-
Проверка дымомера производится с использованием контрольного светофильтра. Для этого в Главном меню при установленном курсоре на строке «Проверка» нажать кнопку «Enter». Будет выполнена операция «Установка нуля», и приор перейдёт в режим измерения дымности по контрольному светофильтру.
Установить в окно корпуса фильтр, на экране будет отображаться текущее значение дымности.
Сравнить измеренное значение со значением, указанным в паспорте прибора. Разность показаний не должна отличаться более чем на ±0,3 м-1.
| Марка автомобиля | Показатели Режимы | Коэффициент поглощения света K, м–1 | Коэффициент ослабления света N, % | t масла С° | Частота вращения коленвала Об\мин |
| Измерение по фильтру | |||||
| Режим измерения на свободном ускорении | 1 2 3 4 5 6 Ср | ||||
| Режим измерения на максимальной частоте вращения |
Содержание отчёта
1. Название и номер лабораторной работы.
2. Цель работы.
3. Порядок выполнения задания.
4. Результаты замеров в виде табл.
5. Выводы.
Контрольные вопросы
1. Назовите основной и вспомогательный параметры дымности отработавших газов дизельных двигателей.
2. Каковы требования к дымности автомобиля в режиме свободного ускорения?
3. Расскажите о назначении прибора.
4. Опишите принцип работы оптического блока.
5. Что называется эффективной оптической базой? Чему она равна?
6. Каково назначение переключающего клапана оптического блока дымомера?
7. Как осуществляется подготовка автомобиля к контролю дымности?
8. Опишите режим измерения дымности на свободном ускорении.
Лабораторная работа № 6
Контроль технического состояния форсунок дизельных двигателей и их регулировка
1. Цель работы
Данная лабораторная работа выполняется с целью ознакомить студентов с основными показателями технического состояния форсунки, технологией проверки, регулировки и необходимым для этого оборудованием.
2. Общие сведения о форсунках и их износе
Неисправность форсунок дизельных двигателей внутреннего сгорания одна из причин снижения мощности и ухудшения топливо-экономических показателей двигателя. При неисправных форсунках двигатель работает с дымным выпуском отработавших газов, неустойчиво, с перебоями, трудно запускается.
Форсунка предназначена для впрыска в цилиндр тонкораспыленного топлива и равномерного распределения его по всему пространству камеры сгорания. В наиболее распространенных форсунках закрытого типа камера сгорания сообщается с внутренней полостью форсунки только при подаче топлива, в остальное время выходное отверстие форсунки закрывается запорной иглой. Отверстие открывается автоматически под давлением топлива, создаваемого насосом.
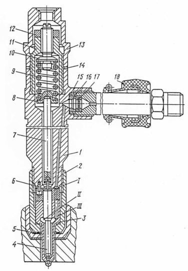
Форсунка состоит из корпуса 1 (Рисунок 10.1), к которому с помощью накидной гайки 2 крепится распылитель 3 и центруется штифтом 6. Отверстие распылителя постоянно закрыто запорной иглой 4. Внутри корпуса проходит штанга 7, на верхнем конце которой закреплена тарелка 8. Пружина 9, опираясь одним концом в винт 10, закрепленный в стакане 11, а другим в тарелку 8, плотно прижимает иглу к отверстию распылителя. Натяжение пружины регулируется винтом 10 с контргайкой 12, которые сверху закрыты колпачком 13 с уплотнительной шайбой 14.
Топливо подводится к форсунке по трубопроводу 15 через штуцер 16 с сетчатым фильтром 17 и поступает по наклонному каналу I корпуса и каналу распылителя III в кольцевую полость II, расположенную под утолщенной частью иглы, и давит на нижний конус иглы. Входное отверстие распылителя открывается в тот момент, когда давление в полости II и на нижнем конце иглы превысит давление пружины. Тогда топливо впрыскивается в камеру сгорания.
Рисунок 10.1 Общий вид форсунки
Распылитель 3 и запорная игла 4 являются прецизионными парами, уплотнение которых достигается только за счет точности изготовления и совместной притиркой.
Значительное влияние на качество распыливания и количество топлива, подаваемое форсункой в цилиндр, вызывает износ деталей распылителя. Нарушение притирки между иглой и распылителем вызывает подтекание топлива, приводящее к ухудшению распыливания, образованию нагара на поршнях, закоксованию отверстий распылителя. Увеличение зазора между иглой и распылителем уменьшает количество топлива, поступающего в цилиндр, так как часть его вытекает через этот зазор.
Проверка технического состояния форсунки может осуществляться либо непосредственно на дизеле, либо при ее снятии. При диагностировании на двигателе используют приспособление представляющее собой манометр и ручной насос высокого давления, который подсоединяют к трубке высокого давления, предварительно отсоединив ее от штуцера топливного насоса секции проверяемой форсунки. Для проверки общего технического состояния работы форсунки на двигателе может быть использован и воброакустический способ с прослушиванием уровня и характера звука работы, а также регистрируя интенсивность вибрации эталонной и проверяемой форсунок.
Более распространенным является способ проверки и регулировки форсунки со снятием ее с двигателя и установки на стенде. Стенд состоит из корпуса, в который вмонтирован плунжерный насос 1 высокого давления с рычагом 2, манометра 3, бачка с топливом 4, крана подачи топлива 5 к испытуемой форсунке 6, соединительных элементов и ванны 7.
Рисунок 10.2 Схема стенда для испытания форсунки
3 Методика проверки и регулировки форсунки
Определение технического состояния и регулировки форсунки состоит из следующих операций:
Внешний осмотр. Торец распылителя должен иметь легкий налет копоти, значительные коксовые отложения, нагарообразования указывают на неисправность форсунки.
Контроль герметичности запорного конуса распылителя осуществляется на стенде следующим образом. Постоянно зажимая пружину форсунки и закачивая насосом топливо создают избыточное давление и выдерживают это давление в течение 1-2 минут. Если за это время на кончике распылителя не появится капля топлива, то качество притирки иглы к распылителю считается удовлетворительным.
Проверка герметичности прецизионной пары определяет ее износ по зазору в сопряжении цилиндрическая часть иглы - распылитель методом гидравлической опрессовки. Для этого на стенде создают насосом избыточное давление в форсунке путем затяжки регулировочным винтом пружины. После чего следят за временем падения давления. У форсунок с новыми распылителями оно составляет 9-20 сек. Распылители с временем падения давления менее 2-5 секунд использовать не следует.
Проверку и регулировку давления впрыска проверяют по давлению в момент начала подъема иглы, так как в процессе впрыска давление непрерывно колеблется и точно замерить его простыми средствами не предоставляется возможным. На приборе давление впрыска регулируют в следующем порядке. На форсунке выворачивают винт на 2-3 оборота и нагнетая топливо насосом со скоростью 60-80 качаний в минуту добиваются появления легкого впрыскивания топлива форсункой, при этом следя за показаниями манометра. Регулируют давление начала впрыска. Отклонение давления не должно превышать 0,05 Мпа от номинального для данного типа форсунки.
Проверку качества и угла распыла проверяют на приборе путем впрыскивания топлива из форсунки на бумажный экран, расположенный на расстоянии 220 мм от распылителя. Топливо должно находиться в туманообразном состоянии. Заметных на глаз струй и подтеков не допускается, а начало и конец впрыска должны сопровождаться резким звуком. После впрыска на нижней поверхности распылителя не должно появляться капель топлива.
-
Порядок выполнения работы
-
Провести визуальный внешний осмотр.
-
Установить форсунку на стенд, переключить кран подачи топлива от насоса к форсунке, удалить воздух из системы прокачивая топливо со скоростью 60-80 качков в минуту.
-
Провести контроль герметичности запорного конуса для чего затягивают пружину форсунки до давления начала впрыска не менее 25 Мпа. Затем в форсунке создают давление топлива 23 Мпа, поддерживая насосом это давление, наблюдают за появлением топлива на кончике распылителя.
-
Проверить зазор между цилиндрической частью иглы и распылителем, для чего насосом подняв давление до 30 Мпа включить секундомер и определить время снижения давления на 5Мпа.
-
Отрегулировать форсунку по давлению начала подъема иглы, для чего предварительно создать давление топлива в приборе 20 – 25 Мпа и регулировочным винтом форсунки достиг нормативного значения.
-
Проверить качество и угол распыла топлива.
Отчет о лабораторной работе должен содержать:
-
краткие сведения о форсунках и основных неисправностях,
-
методику проверки форсунок на стенде,
-
результаты проверки и выводы.
-
Контрольные вопросы
-
Состояние каких поверхностей оценивается при гидравлической проверке форсунки.
-
К каким последствиям приводит износ подвижных частей форсунки.
-
Какими параметрами характеризуется исправная форсунка.
Лабораторная работа № 7
ТЕХНИЧЕСКОЕ ДИАГНОСТИРОВАНИЕ ДВИГАТЕЛЕЙ ПО СОДЕРЖАНИЮ ПРОДУКТОВ ИЗНОСА В КАРТЕРНОМ МАСЛЕ
1 Цель работы
При выполнении данной работы студенты знакомятся с основными способами определения продуктов износа в картерном масле ДВС и практически определяют содержание продуктов износа в масле аппаратом для спектрального анализа СПЕКТРОСКАН МАКС-GV.
2 Методы определения примесей в масле
Одним из методов общего диагностирования двигателей внутреннего сгорания является метод анализа попадающих в масло продуктов износа его деталей.
В двигателе большое число сопряжений работает в условиях жидкостного и полужидкостного трения. В процессе эксплуатации зазоры в сопряжениях увеличиваются и наступают условия, нарушающие оптимальный смазочный режим сопряжений. В этот период резко возрастает скорость изнашивания сопряжений и увеличивается интенсивность попадания продуктов износа в картерное масло.
При установившемся процессе изнашивания количество поступающих в масло продуктов износа деталей двигателя стабилизируется и может быть количественно и качественно определено для каждого типа двигателя. Увеличение количества какого-нибудь элемента по сравнению со среднестатическим показывает на увеличение скорости изнашивания определенной группы деталей.
Существуют различные методы оценки состояния масла: как качественные, так и количественные. Качественный анализ может дать приблизительно состояние масла, которое в процессе эксплуатации при повышенной температуре интенсивно загрязняется как продуктами износа и пылью, так и продуктами разложения самого масла, окалиной, нагаром, водой и т.д. Простейшими средствами контроля за состоянием масла являются: визуальный осмотр масла, находящегося в прозрачном сосуде (масло должно быть прозрачным); отстаивание пробы масла, разбавленной профильтрованным бензином, в прозрачном сосуде в течение часа (наличие осадка свидетельствует о степени загрязненности масла); сжигание пробы масла в смеси с бензином (по наличию колец определяют качество масла); прогревание фильтровальной бумаги с пробой масла на прогретом двигателе (в течение 10 мин.) и по наличию, форме и размерам концентрических колец определяют наличие присадок в масле; фильтрование через бумагу масла, разбавленного бензином.
Применяют также следующий способ анализа дизельного масла: нагретое до 60.....800С масло в количестве 3.....4 капель наносят на белую бумагу и через 10 минут замеряют диаметр образовавшихся колец и подсчитывают их среднее значение. Годность масла устанавливают по коэффициенту
К = Dcp / d1cp ,














