диплом (новый вариант) (1233639)
Текст из файла
1 ОБЗОР СОСТОЯНИЯ ПРОБЛЕМЫ
Свайные фундаменты используются при строительстве на просадочных грунтах, а также при грунтах с низкой несущей способностью (менее 1,5 кг/см²). В зависимости от способа передачи нагрузки от конструкций здания или сооружения на грунт различают сваи - стойки и висячие сваи. Сваи- стойки используются в ситуации, когда мощный слой грунта высокой несущей способности находится под пластами слабого грунта на относительно небольшой глубине. В таком случае, сваи прорезают толщу слабого грунта и опираются на прочный грунт, передавая на него усилия от вышерасположенных конструкций. В случае, когда грунт с высокой прочностью расположен на недостижимой для свай глубине, то используются висячие сваи, которые, уплотняя при погружении грунт между сваями, позволяют использовать его в качестве основания. В таком случае при расчете свайного фундамента учитывается как трение боковой поверхности сваи о грунт, так и работа пяты сваи.
Несущая способность забивной сваи оценивается с помощью формулы Герсеванова Н.М.:
где m - коэффициент условий работы;
F - площадь поперечного сечения сваи, м2;
n - коэффициент, зависящий от материала сваи и способа забивки; для железобетонных свай квадратного сечения сплошных и с круглой полостью, а также полых круглого сечения с наконечником, при забивке их с наголовником, этот коэффициент принимается равным n=150 т/м2; для деревянных свай, забиваемых без: наголовника, n=100 т/м2;
Q - вес ударной части молота, т;
q - вес сваи и наголовника без учета коэффициента перегрузки (для молотов дизельных и двойного действия добавляется и вес стационарной части молота), т;
е - отказ (погружение сваи от одного удара), см;
Н - расчетная высота падения ударной части молота, см.
Анализирую данную зависимость, можно сделать вывод, что для обеспечения необходимой несущей способности сваи, важнейшее значение имеет правильный подбор машины для производства работ, а также тщательное изучение свойств грунта строительной площадки.
Для погружения забивных свай, наибольшее распространение получили дизель-молоты.
1.1 Классификация дизель-молотов и принцип их действия
Дизель-молоты, подобно дизель-компрессорам со свободноплавающими поршнями, относятся к группе прямодействующих двигателей, у которых отсутствует кривошипно-шатунный механизм и энергия газов передается непосредственно рабочему органу — ударной части молота.
а- штоковый со ступенчатым поршнем; б- штанговый с неподвижными штангами; в- трубчатый.
1—свая; 2—рабочий поршень; 3—направляющие (шток, штанга, цилиндр); 4—ударная часть
Рисунок 1 Схемы конструктивного устройства дизель-молотов.
Несмотря на различия в устройстве дизель-молотов на рисунке 1, принцип действия их в основном одинаков. После того как молот поставлен на сваю, ударную часть поднимают и потом сбрасывают. При падении ударной части происходит перекрытие цилиндра и сжатие воздуха, который нагревается до такой температуры, что топливо, впрыснутое внутрь цилиндра, самовоспламеняется. На сжатие воздуха расходуется лишь часть энергии, а оставшаяся часть (в форме удара) передается ударной частью через наголовник на сваю, которая и осуществляет деформацию грунта. За счет образовавшихся в результате сгорания топлива газов внутри цилиндра возникает высокое давление, силой которого ударной части сообщается ускорение и она начинает двигаться вверх. При движении вверх перекрытие цилиндра с некоторого момента заканчивается, оставшиеся рабочие газы освобождаются. Затем начинается движение цилиндра вниз и весь процесс повторяется.
Основными отличительными признаками дизель-молотов, по которым можно подразделять их на группы, следует считать: вид направляющих, способ распыления топлива, вид ударной части, степень сжатия воздуха и вид буфера-аккумулятора кинетической энергии.
Направляющие дизель-молотов предназначаются для обеспечения постоянства относительного положения поршня и цилиндра при движениях одного из них в вертикальном направлении. Направляющие могут быть выполнены в виде штока, в виде штанг (стоек) или в виде трубы.
Распыливание топлива в дизель-молотах осуществляется или обычным форсуночным способом или ударом (ударное распыливание) .
В качестве ударной части дизель-молотов в зависимости от конструктивного устройства используется или подвижный цилиндр или подвижный поршень.
Для повышения эффективности дизель-молота иногда используют аккумулятор кинетической энергии, который выполняется в виде пружинного или воздушного буфера.
Перечисленные отличительные признаки современных дизель- молотов могут встречаться в различных сочетаниях, вследствие чего получаются молоты того или иного типа или разновидности.
По виду направляющих дизель-молоты подразделяются на три типа:
-
штоковые дизель-молоты (рисунок 1 , а). В настоящее время не выпускаются;
-
штанговые дизель-молоты (рисунок1, б);
-
трубчатые дизель-молоты (рисунок 1, в).
1.2 Конструктивные особенности трубчатых дизель-молотов
В отличие от молотов штангового типов, у которых ударной частью является цилиндр, ударная часть трубчатых молотов представляет собой подвижный поршень. Цилиндр же молота остается в процессе работы в относительно неподвижном состоянии и обеспечивает заданное направление возвратно-поступательного движения ударной части, а также служит рабочим цилиндром двигателя.
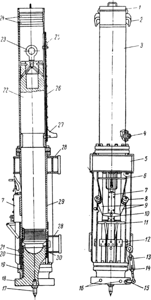
Общий вид и разрез дизель-молота трубчатого типа приведен на рисунке 2. Молот состоит из следующих основных частей: рабочего цилиндра 29, направляющего цилиндра 3, поршня 22, шабота 18, топливного насоса 7 и механизма подъема и сбрасывания поршня, называемого «кошкой».
Рабочий цилиндр молота (рисунок 3) состоит из целого ряда деталей, присоединенных к основной трубе сваркой. К верхней части трубы приварен упор 18 привода механизма подъема, фланец с резьбовыми отверстиями для соединения рабочего цилиндра с направляющим и топливный бак 15. В верхней крышке топливного бака имеются пробка, закрывающая отверстие 17 для заполнения бака топливом и винтовой кран 16, открывающий доступ топлива из бака в щелевой фильтр 14 и далее в топливопровод 13. Нижняя и верхняя крышки топливного бака выполнены так, что они одновременно являются кронштейнами для закрепления верхних направляющих лап. Ниже бака в стенке цилиндра имеется продольная прорезь 2, в которую входит рычаг топливного насоса. Во избежание повреждения рычага топливного насоса над прорезью помещена предохранительная скоба 1с этой же целью приварена скоба 7. Для закрепления топливного насоса на рабочем цилиндре имеется специально приваренная к основной трубе планка 5, в которую ввернуты шпильки 3, а в нижней ее части сделано конусное отверстие, куда входит соответствующий конусный выступ топливного насоса. На уровне топливного насоса размещены равномерно по окружности четыре выхлопных продувочных отверстия, заканчивающихся патрубками 4. Для придания цилиндру прочности на нижний конец основной трубы напрессована наружная гильза.
Охлаждение рабочего цилиндра осуществляется за счет естественного теплообмена с окружающим воздухом, причем для улучшения теплообмена, а также для придания большей жесткости конструкции вдоль цилиндра по периметру приварены ребра 8. Предварительный подогрев цилиндра осуществляется за счет пламени топлива, сжигаемого в корытце 10, расположенном на уровне камеры сжатия. Ниже корытца размещены шариковые масленки 9, предназначенные для смазки шабота. На уровне камеры сжатия в теле рабочего цилиндра сделано резьбовое отверстие, закрываемое пробкой 11 во время работы молота. Это отверстие может быть использовано для очистки камеры сжатия и видимой сферической части шабота от нагара, для ввинчивания капсулы с легковоспламеняющимся топливом при запуске молота, а также для превращения дизель-молота в свободнопадающий, путем открытия отверстия и сообщения камеры сжатия с атмосферной.
Последний прием иногда используется для определения осадки сваи от «чистого» удара, т. е. удара без сжатия воздуха и сгорания топлива, а также для ускорения забивки сваи, когда при большой осадке сваи молот не заводится. В таком случае сваю несколькими «чистыми» ударами погружают до достижения такой осадки, при которой молот уже заводится.
1- крышка; 2- крюки; 3- направляющий цилиндр; 4- болт стопорный; 5- топливный бак; 6 и 11- предохранительные скобы; 7- топливный насос; 8- колпак; 9- патрубки выхлопные; 10- регулировочный рычаг; 12- корытце; 13 и 15- стяжка и штырь для подвешивания шабота; 14- опорное шаботное кольцо;16- отверстия для штыря;
17- штырь-фиксатор; 18- шабот; 19 и 30- нижнее и верхнее полукольца шабота; 20- гильза рабочего цилиндра внутренняя; 21- масленка шариковая; 22- поршень; 23- рым; 24- кольцевые пазы-ловители; 25- упор сбрасывающий; 26- накладка защитная; 27- кронштейн для подъема молота; 28- лапы направляющие; 29- рабочий цилиндр.
Рисунок 2 Дизель-молот трубчатого типа.
1 и 7- скобы предохранительные; 2- прорезь; 3- шпильки; 4- патрубок выхлопной; 5- планка; 6- отверстие посадочное для насоса; 8- ребра; 9- масленки; 10- корытце для сжигания топлива; 11- пробка; 12- лапа направляющая; 13- топливопровод; 14- фильтр; 15- бак топливный; 16- кран; 17- заправочное отверстие; 18- упор поворота рычага кошки.
Рисунок 3 Рабочий цилиндр дизель- молота.
К нижнему фланцу рабочего цилиндра привинчивается винтами опорное кольцо (рисунок 4), через которое цилиндр дизель-молота опирается на заплечики шабота. Это кольцо служит, кроме того, приспособлением для удержания шабота от возможного выпадения его из цилиндра в случаях, когда по каким-либо причинам шабот не будет опираться на сваю; например, при очень большой осадке сваи за один удар, или, когда при подъеме молота шабот не будет подвешен на стяжку. Направляющий цилиндр (рисунок 5) представляет собой трубу, присоединяемую с помощью фланца 4 и винтов к рабочему цилиндру. Направляющий цилиндр, как это следует из названия, направляет движение поршня и одновременно является базой для приспособления автоматического сбрасывания ударной части при запуске, для чего к верхней части цилиндра приваривается упор 2.
1- отверстия для привинчивания кошки к цилиндру; 2- конусная заточка;
3- паз-ловитель компрессионного кольца шабота
Рисунок 4- Опорное кольцо.
1- крюк для подъема молота тросом; 2- упор сбрасывающий; 3- прорезь; 4- фланец; 5- кронштейны подъема молота кошкой.
Рисунок 5 Направляющий цилиндр дизель-молота МСДТ-2500.
Для предотвращения выскакивания поршня за пределы направляющего цилиндра в верхней части цилиндра проточены кольцевые пазы-ловители, в которых удерживается верхнее компрессионное кольцо поршня. Вдоль цилиндра на задней его стенке сделана прорезь 3, в которую входит рычаг кошки при подъеме поршня.
Поршень трубчатого дизель-молота (рисунок 6) является одновременно поршнем двигателя и ударной частью молота, поэтому он выполняется в виде стального цилиндрического стержня, нижняя часть которого заканчивается канавками для поршневых колец и сферическим бойком, предназначенным для распыливания топлива и передачи энергии удара. На поршень надеваются одно стальное кольцо (верхнее) и шесть или семь (в зависимости от общего числа канавок на поршне) чугунных поршневых компрессионных колец. В средней части поршня имеется кольцевая выточка, служащая для захвата поршня рычагом кошки при подъеме для запуска или других целей, а также для закрепления поршня стопорным винтом при транспортировке и хранении молота. Верхняя часть поршня заканчивается наружной кольцевой канавкой 4 и резервуаром в торцовой части 6, предназначенными для автоматической смазки поршня при работе молота.
1-боек; 2- канавки для поршневых колец; 3- выточка; 4- кольцевая канавка; 5- наклонное отверстие для смазки; 6- резервуар для смазки.
Рисунок 6 Поршень трубчатого дизель-молота МСДТ-2500.
Характеристики
Тип файла документ
Документы такого типа открываются такими программами, как Microsoft Office Word на компьютерах Windows, Apple Pages на компьютерах Mac, Open Office - бесплатная альтернатива на различных платформах, в том числе Linux. Наиболее простым и современным решением будут Google документы, так как открываются онлайн без скачивания прямо в браузере на любой платформе. Существуют российские качественные аналоги, например от Яндекса.
Будьте внимательны на мобильных устройствах, так как там используются упрощённый функционал даже в официальном приложении от Microsoft, поэтому для просмотра скачивайте PDF-версию. А если нужно редактировать файл, то используйте оригинальный файл.
Файлы такого типа обычно разбиты на страницы, а текст может быть форматированным (жирный, курсив, выбор шрифта, таблицы и т.п.), а также в него можно добавлять изображения. Формат идеально подходит для рефератов, докладов и РПЗ курсовых проектов, которые необходимо распечатать. Кстати перед печатью также сохраняйте файл в PDF, так как принтер может начудить со шрифтами.















