диплом (новый вариант) (1233639), страница 2
Текст из файла (страница 2)
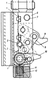
Шабот трубчатого дизель-молота является одновременно и частью, обеспечивающей распыливание и смесеобразование, и наковальней, через которую удары поршня передаются на голову сваи. Верхней торцовой части шабота 1 (рисунок 7) придается такая форма, при которой обеспечиваются тщательное распыливание топлива и хорошее перемешивание частиц топлива с воздухом в объеме кольцевой камеры сжатия 10.
1- шабот; 2- опорное кольцо; 3- нижнее полукольцо шабота; 4- гильза цилиндра; 5- цилиндр; 6- кольца компрессионные чугунные; 7- верхнее полукольцо шабота; 5- ребро; 9- поршень; 10- камера сжатия; 11- сферическое углубление шабота;12—стальное кольцо.
Рисунок 7 Нижняя часть трубчатого молота.
Подъемный механизм - кошка молота (рисунок 8) позволяет поднимать весь молот на необходимую высоту вдоль стрелы копра, а также поднимать поршень и автоматически сбрасывать его при запуске дизель-молота. При подъеме кошки рычаг 8 упирается в торцовую часть выточки поршня и вместе с последним движется вверх до тех пор, пока поворотный рычаг 10 не встретится с верхним упором 2 (рисунок 5), приваренным к направляющему цилиндру. При дальнейшем подъеме кошки рычаг 10 будет поворачиваться вокруг оси, а вместе с ним повернется и рычаг 2 (так как они жестко связаны), вследствие этого серьга 9 выйдет из положения распора, а подъемный рычаг 8 действием силы тяжести поршня отклонится вниз и освободит последний. Так осуществляется подъем и сбрасывание поршня при запуске дизель-молота. Для молота МСДТ-2500, высота сбрасывания ударной части H=1700мм.
1- лапы для движения кошки вдоль стрелы копра; 2- распорный рычаг;
ограничитель поворота рычага 2; 4- болт; 5- чека; 6- корпус; 7- отверстие для подъемного стержня; 8- подъемный рычаг; 9- серьга; 10- поворотный рычаг; 11 и 12—фиксатор положения поворотного рычага.
Рисунок 8 Кошка молота.
1.2 Рабочий цикл дизель-молота
Экономичность и эффективность, а также динамические качества дизель-молота зависят в первую очередь от совершенства процессов, протекающих в двигателе, так как источником энергии является топливо, сгорающее в цилиндре двигателя. Наиболее полное и своевременное сгорание топлива позволяет обратить в механическую работу большее количество тепла и повысить эксплуатационные показатели дизель-молота.
Совершенство тепловых процессов в двигателях характеризуется обычно рядом параметров, из которых основными являются: р - давление газов в цилиндре на различных участках рабочего хода; Т- температура газов в цилиндре; ɑ- коэффициент избытка воздуха; £-коэффициент тепловыделения; ɳн- коэффициент наполнения; γ - коэффициент остаточных газов; n1 и n2- показатели политропы сжатия и расширения.
Двигатель рассматриваемых машин является разновидностью двухтактных двигателей с воспламенением топлива от сжатия. Рабочий цикл двигателя — смешанный, так как сгорание может происходить в зависимости от сопротивления сваи, качества топлива и смесеобразования, конструкции молота при постоянном р или υ или, наконец, при одновременном изменении и υ и р.
Рабочий цикл двигателей дизель-молотов можно разделить на следующие самостоятельные процессы: процесс впуска воздуха и выпуска отработавших газов, процесс сжатия, процесс сгорания, процесс расширения.
Рабочий цикл состоит из двух тактов.
Первый такт включает процесс впуска (наполнения) воздуха и процесс сжатия воздуха; он является подготовительным тактом для двигателя и рабочим для молота, так как именно в течение этого такта происходит соударение молота со сваей.
Второй такт включает процессы сгорания и расширения рабочих газов, а также процесс выпуска отработавших газов. Этот такт является рабочим для двигателя и подготовительным для молота, так как при этом ходе ударной части происходит накопление потенциальной энергии молота.
1.2.1 Процесс впуска воздуха и выпуска отработавших газов
Очистка цилиндра дизель-молота от отработавших газов и заполнение его свежим воздухом осуществляется выпуском газов в конце хода расширения и заполнением цилиндра воздухом из окружающей атмосферы. Выпуск газов у трубчатых молотов в связи с наличием выхлопных отверстий зависит от времени-сечения и скорости движения поршня вверх. В нормальных условиях давление отработавших газов в цилиндре падает от точки "в" (рисунок 10), плавно сравнивается с атмосферным давлением (p0), и при дальнейшем движении поршня вверх из-за сравнительно малого времени-сечения выхлопных окон в цилиндре создается отрицательное давление (разрежение), в результате чего еще при ходе расширения в цилиндр начинает поступать свежий воздух. При движении поршня вниз последний выталкивает воздух из цилиндра через окна. Вследствие сопротивления, возникающего при проходе воздуха через окна, давление воздуха под поршнем начинает расти, особенно, когда поршень приобретает большую скорость при подходе к выхлопным окнам. В результате давление воздуха, заполнившего цилиндр, оказывается выше атмосферного, и, как показывает расчет, в точке "а" оно становится равным pа =l,01 — 1,05 кг/см2 /1/.
H- высота падения ударной части; h- рабочий ход поршня; Vс- объем камеры сжатия; Vh- рабочий объем цилиндра; Va- начальный объем;
р- давление газов в цилиндре; р0- атмосферное давление; τi- задержка воспламенения.
Рисунок 10 Индикаторный процесс «двигателя» дизель-молота с постоянной степенью сжатия ɛ =const.
Таким образом, наполнение цилиндра трубчатого молота происходит с некоторым наддувом. Что касается коэффициента остаточных газов γ, то его величина изменяется в значительных пределах в зависимости от температуры окружающего воздуха, высоты падения ударной части, качества и свойств топлива, качества смесеобразования и т. д. Для трубчатых молотов следует принимать γ в пределах от 3 до 5% /1/.
Таким образом, процесс впуска воздуха и выпуска отработавших газов в дизель-молотах осуществляется в основном идентично. Процесс выпуска газов у трубчатых молотов проходит более эффективно, чему способствуют продувочные окна, создающие вихревые движения воздуха, поступающего в цилиндр из атмосферы.
1.2.2 Процесс сжатия воздуха в цилиндре
Процесс сжатия главным образом характеризуется температурой Tc, давлением pc, и работой сжатия Lc. Установлено, что величина температуры сжатия, должна быть в пределах 700˚-800˚K. Для достижения данной температуры, необходимо, совершить работу сжатия. Если рассматривать работу сжатия с точки зрения эффективности молота, то ее увеличение приведет к снижению энергии удара молота. Здесь, как и в обычном двигателе, работа сжатия почти полностью возвращается на ходе расширения. Однако из-за ограниченной высоты свободного падения ударной части и ее веса ставится предел максимальной величины энергии, которая может быть развита двигателем дизель-молота; ее максимальное значение для данного молота равно произведению QH. Эффективность молота тем выше, чем больше этой энергии будет передано на голову сваи в форме удара.
Вот почему для повышения эффективности дизель-молота следует стремиться не к повышению Lc, а к тому, чтобы потери потенциальной энергии молота, расходуемые на сжатие, были минимальными. Из этого следует, что принципы выбора значений параметров сжатия, используемые при проектировании обычных двигателей, к рассматриваемым молотам могут применяться с учетом сказанного об эффективности дизель-молотов.
В отличие от штанговых молотов, у серийных трубчатых молотов скорость движения поршня при запуске значительно (в 2—3 раза) меньше, чем при нормальной работе, поэтому отрицательное влияние теплоотдачи и утечек при запуске трубчатых молотов весьма заметно. Эти молоты в равных условиях запускаются хуже, чем штанговые /1/.
Таким образом, для надежного запуска трубчатых молотов, расчетная степень сжатия должна приниматься в пределах 13-15.
1.2.3 Процесс сгорания
Эффективность двигателя, особенно его топливная экономичность, повышается по мере сокращения (в оптимальных размерах) продолжительности сгорания топлива вблизи нижней мертвой точки. Однако значительное сокращение времени горения резко увеличивает жесткость работы двигателя и снижает его долговечность. Для дизель-молотов, наоборот, целесообразно добиваться, чтобы процесс сгорания занимал возможно малое время, так как быстрое нарастание давления газов в цилиндре от рс до pz способствует более быстрому погружению сваи в грунт и повышению производительности молота.
Механизм подачи топлива в трубчатых молотах не имеет ничего общего с общепринятыми системами подачи в дизельных двигателях. Подача топлива в трубчатом молоте начинается и заканчивается еще до того, как начнется сжатие воздуха в цилиндре (рисунок 10). Поэтому такой термин, как опережение подачи , которым пользуются обычно, к трубчатым молотам не применим.
В трубчатых дизель-молотах опережения подачи нет, топливо распыливается всегда после того, как поршень достигнет нижней мертвой точки. На процесс сгорания в трубчатых молотах можно влиять за счет улучшения распыливания и смесеобразования, а также за счет изменения свойств применяемого топлива.
1.3 Особенности протекания процессов при запуске дизель-молотов
Условия, которые создаются при запуске дизель-молотов, существенно отличаются от тех, в которых протекает нормальный рабочий процесс «двигателя» дизель-молота после того, как свая будет погружена на определенную глубину или когда грунт полностью утрамбован. Поэтому в отличие от обычных дизельных двигателей дизель-молоты не всегда запускаются сразу. Очень часто приходится до десяти и более раз поднимать и сбрасывать ударную часть, пока дизель-молот заведется. Особенные затруднения возникают при запуске трубчатых дизель-молотов. Во многих случаях оказывается, что продолжительность запуска такого молота приближается по величине к продолжительности чистого времени забивки сваи. На рисунке 11 приведены результаты испытаний трубчатых молотов МСДТ-500 на заводимость на сваях, забиваемых в слабые грунты. Испытания показали, что устойчивый запуск дизель-молотов (в условиях опыта) происходит в диапазоне 17±4 сбрасываний поршня /1/.
Успешный запуск дизель-молота зависит от многих факторов: температуры окружающего воздуха, от скорости ударной части в момент удара, сопротивления сваи (опоры) в момент запуска, состояния цилиндро-поршневой группы, качества распыливания топлива и смесеобразования.
Как показывает опыт эксплуатации трубчатых дизель-молотов, применение предварительного подогрева цилиндра позволяет достигать безотказного запуска молота на уже несколько забитой свае или испытательном стенде при любой температуре окружающего воздуха. Однако эта мера оказывается недостаточной, если свая дает большую осадку от одного удара.
Влияние осадки сваи (опоры) на запуск молота. В обычном поршневом двигателе силы, действующие в цилиндре при сжатии воздуха, сгорании топлива и расширении газов, уравновешиваются внутри цилиндра. В осевом направлении эти силы уравновешиваются с одной стороны крышкой цилиндра, жестко соединенной с блоком, с другой — сопротивлением поршня.
У трубчатого дизель-молота такой «головкой» цилиндра является шабот, опирающийся на способную перемещаться опору. Поскольку шабот не связан жестко с цилиндром и силы давления газов уравновешиваются, с одной стороны, сопротивлением опоры, а с другой, поршня, то при определенных условиях возможна работа этих сил одновременно в направлении опоры и в направлении поршня. Распределение общей работы между этими направлениями зависит в первую очередь от величины сопротивления и осадки опоры или грунта. При запуске молота, когда сопротивление сваи мало, доля работы газов, идущая на осадку сваи, оказывается значительной, вследствие чего запуск трубчатых дизель-молотов затрудняется.















