диплом (новый вариант) (1233639), страница 3
Текст из файла (страница 3)
1- осадка сваи от одного удара l; 2- коэффициент вероятности запуска дизель-молота при данном числе сбрасываний и величине осадки; 3- абсолютная осадка сваи в грунт, при которой происходил запуск молота- ∑l. Вертикальные пунктирные линии ограничивают зону устойчивого запуска молота при испытаниях.
Рисунок 11 Графики условий заводимости трубчатых дизель-молотов МСДТ-500 в слабых грунтах.
Запуск дизель-молота может произойти лишь в том случае, когда энергия, развиваемая молотом, будет достаточна и для сжатия воздуха в цилиндре и для неизбежной осадки сваи. Естественно, что молот вообще не заведется, если свая еще в процессе сжатия воздуха будет давать заметную осадку. Из этого следует, что для каждого молота существует минимальное сопротивление сваи, при котором молот может заводиться. Например, для дизель- молота МСДТ-500 сила сжатия воздуха Рс, составляет 11,3 Т. Следовательно, для уравновешивания силы Рс со стороны сваи должно оказываться сопротивление, величина которого для МСДТ-500 R>PC = 11,3 Т. Только при этом условии (R>PC) свая не сдвинется и произойдет соударение поршня с шаботом и распыливание топлива.
Следует заметить, что силы, действующие в процессе удара, относятся к мгновенным. Мгновенное сопротивление сваи R, т. е. сопротивление несдвинутой сваи, всегда больше сопротивления сдвинутой сваи, так как коэффициент трения покоя в несколько раз больше коэффициента трения движения. Например, проф. Н. Г. Герсеванов показал, что первоначальное усилие, необходимое для сдвига сваи, обычно превышает силу сопротивления сваи дальнейшему продвижению ориентировочно в 1,5—2,5 раза. Эти значения справедливы и для условий запуска дизель-молотов.
Из сказанного следует, что молот должен заводиться и в том случае, когда сопротивление сдвинутой сваи будет в несколько раз меньше мгновенного сопротивления R. Это подтверждается данными эксперимента по запуску молотов МСДТ-500 в слабых грунтах (рисунок 11). На этом рисунке приведен график осадки сваи после каждого сбрасывания поршня с высоты сбрасывания ударной части молота при запуске Нк.
Анализ кривой "2" показывает, что вспышка топлива в отдельных случаях происходит уже при осадке сваи от удара l= 63 мм. Значение Lк при запуске трубчатого молота определено расчетом. Для молота МСДТ-500 LK = 156 кгм. Это тот резерв кинетической энергии поршня, за счет которого может совершаться работа погружения сваи при запуске молота. Величина осадки сваи l при запуске определена опытом и составляет в среднем 41,5 мм за один удар. Однако, как указывалось ранее, запуск произойдет лишь при условии, что молот будет предварительно подогрет.
Следовательно, для безотказного запуска трубчатого дизель- молота необходимым условием является существование минимального сопротивления сваи, которое легче всего выражать косвенным путем - через осадку сваи l в грунт после каждого сбрасывания поршня с высоты Нк.
1.4 Влияние качества смесеобразования на работу дизель-молота
Общеизвестно, что качество распыливания топлива и смесеобразования оказывает решающее влияние на индикаторный коэффициент полезного действия любого двигателя внутреннего сгорания. Это справедливо и для дизельных молотов. Таким образом, рассмотрение условий и зависимостей заводимости трубчатых дизель-молотов показывает, что для улучшения этого весьма важного показателя работоспособности молота могут быть использованы различные способы. Например, при запуске трубчатых молотов можно использовать топлива с невысокой температурой самовоспламенения, но при этом не следует забывать, что будет происходить снижение мощности, а также увеличение периода задержки воспламенения.
Можно также пойти по пути повышения цетанового числа за счет добавления к топливу присадок. Использование присадок позволяет снизить температуру сжатия и уменьшить задержку воспламенения. Но такой путь не является самым удобным, так как присадки отрицательно влияют на процесс при нормальной работе молота, а главное, не могут повлиять на максимум осадки сваи при запуске.
Наконец, запуск трубчатых молотов можно улучшить конструктивными способами, а именно, за счет увеличения рабочего объема Vh, изменения высоты НК и улучшения распыливания топлива и смесеобразования.
В дизель-молотах используются два способа смесеобразования: за счет струйного распыливания топлива и распыливания топлива ударом. Первый способ используется в молотах штангового типа, а второй- в трубчатых молотах.
Эффективность дизель-молота в большой мере зависит от качества смесеобразования. Хорошее смесеобразование способствует более быстрому запуску дизель-молота, а также увеличению эффекта силы давления газов в осадке сваи после удара.
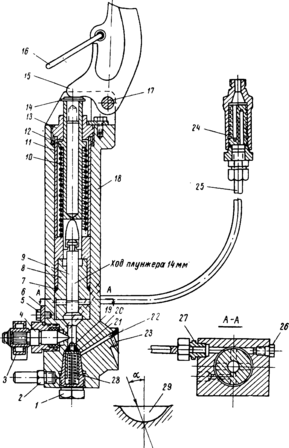
Подача топлива в молотах трубчатого типа осуществляется топливным насосом (рисунок 12) и происходит независимо от распыливания и смесеобразования. Из топливного бака горючее самотеком попадает через фильтр 24, трубку 25 и ниппель 27 в кольцевое пространство между корпусом 18 и гильзой 8 и заполняет подплунжерное пространство в гильзе. Рычаг 15, когда нижний конец поршня находится выше его, силой пружины 10 отклоняется внутрь цилиндра (вправо). При движении поршня обратно (вниз) он своим ребром встречается с рычагом 15 и заставляет его поворачиваться влево. Короткое плечо рычага через головку 14 и толкатель 12 толкает плунжер 9 вниз. Топливо, находящееся в гильзе, плунжером проталкивается вниз и давит на головку клапана 21, которая вследствие этого отходит вниз и открывает доступ топливу в наклонный канал 22. Через этот канал топливо попадает к форсунке 23 и из нее неразрывной струей вытекает в сферическое углубление в шаботе 29. При ударном разбрызгивании важно, чтобы топливо, поступающее в шабот до удара, не разбрызгивалось.
Для обеспечения требуемого направления движения струи важно выдерживать угол наклона оси форсунки а к вертикали. Нарушение этого требования приводит к тому, что струя топлива попадает не в центр сферы шабота, а в сторону, что ухудшает распыливание и смесеобразование.
Как указывалось ранее, качество смесеобразования в трубчатых молотах зависит от формы камеры сгорания, площади контакта между сферами шабота и поршня.
Известно, что в отечественном и зарубежном двигателестроении разработано и применяется большое количество различных форм камер сгорания, обеспечивающих в конкретных условиях хорошее перемешивание топлива с воздухом.
В основу подавляющего большинства современных форм камер сгорания заложен принцип вихревого движения воздуха в камере во время подачи в нее топлива.
1- корпус клапана; 2- ограничитель; 3- коромысло; 4- игла регулировочная; 5- винт; 6- стопорная планка; 7- прокладка; 8- гильза; 9- плунжер; 10- пружина; 11- втулка упорная; 12- толкатель; 13- гайка; 14- головка толкателя; 15- рычаг; 16- кольцо оттягивания рычага; 17- ось рычага; 18- корпус насоса; 19- клапан; 20- конусный выступ корпуса насоса; 21- резиновый наконечник клапана; 22- канал подвода топлива к форсунке; 23- форсунка; 24- фильтр; 25- трубка; 26- пробка контрольная; 27- ниппель; 28- пружина клапана; 29- сфера шабота.
Рисунок 12 Механизм подачи топлива трубчатого дизель-молота.
Это вихревое движение воздуха ведет к завихрению распыленного топлива и к его хорошему перемешиванию с воздухом, т. е. к хорошему смесеобразованию. Из опыта двигателестроения известно, что наилучшей формой для создания упомянутых вихревых движений воздуха в камере сгорания является сфера. Однако сфера не во всех случаях может быть применена.
На рисунке 13 приведен разрез (в вертикальной плоскости сечения) камеры сгорания ромбической формы.
1- шабот; 2- кольцо компрессионное; 3- полукольцо; 4- цилиндр; 5- поршень; 6- кольцо компрессионное; 7- сфера поршня; 8- сферическое углубление шабота.
Рисунок 13 Форма камеры сгорания трубчатых дизель-молотов.
Следует заметить, что при выборе формы камеры сгорания надо учитывать необходимость сохранения соотношения размеров деталей, образующих объем, и одновременного получения оптимальных формы и объема камеры. Рассматривая форму сфер ударной части и шабота, приведенных на рисунке 13, можно заметить, что ударная часть контактирует с шаботом почти по всей площади сферы.
Нетрудно понять, что даже небольшое уменьшение площади контакта поршня с шаботом может привести к резкому увеличению контактных напряжений и давления на единицу поверхности контакта и, следовательно, к более тонкому распыливанию топлива и лучшему смесеобразованию /1/.
При определении размера поверхности контакта поршня с шаботом необходимо учитывать не только наилучшее распыливание топлива, но и то, что при очень малой поверхности контакта, малом радиусе сферы поршня могут происходить заметные остаточные деформации как в головке поршня, так и в металле шабота, что будет приводить со временем к ухудшению смесеобразования.
1.5 Интенсивность развития дизель-молотов
За последние десять лет, новых разработок и изобретений, в области совершенствования дизель-молотов было немного. Основная часть изобретений направлена на увеличение массы ударной части, а так же ее изменении в процессе эксплуатации, путем присоединения или отсоединения дополнительных приспособлений. Также рассматривались варианты:
-
увеличения межремонтного срока работы молота
-
уменьшения вредных выбросов при работе дизель-молота
-
уменьшения шумов при работе молота
-
улучшения заводки молота, путем применения различных способов предварительного подогрева цилиндра.
Снижение интереса к дизель- молотам обусловлено тем что они имеют ряд недостатков, а именно: высокий уровень шума и вредные выбросы в атмосферу, что исключает возможность их применения на стройплощадках, расположенных вблизи жилых помещений. Дизель-молот не универсален, при забивке свай в мягкие податливые грунты, когда из-за недостаточной жесткости основания трудно привести в действие дизель-молот, поскольку ударная часть поднимается на недостаточную высоту и требуемого сжатия в камере сгорания не происходит. Они передают свае лишь 40—50% кинетической энергии удара, расходуя остальные 60—50% на сжатие воздушной смеси. Изменение степени сжатия воздушной смеси в дизель-молотах оказывает большое влияние на энергию удара. Значительное уменьшение степени сжатия создает при работе молотов недопустимые напряжения, которые могут привести к их быстрому разрушению. Поэтому дизель-молоты при равном весе относительно других типов молотов имеют значительно меньшую полезную мощность и большую металлоемкость.
Но не стоит упускать из внимания их достоинства. Основные преимущества дизель-молотов заключаются в независимости их работы от постороннего источника энергии, высокой технической готовности агрегата, сравнительно небольших эксплуатационных затрат и значительной производительности при погружении легких свай. Таким образом, актуальность совершенствования конструкции, экономических и эксплуатационных показателей этих машин сохраняется.
2 ПОИСК РЕШЕНИЯ ПОСТАВЛЕННОЙ ЗАДАЧИ И АНАЛИЗ РАБОЧЕГО ЦИКЛА ДИЗЕЛЬ-МОЛОТА
Для гарантированного запуска молота, температура в камере сгорания при падении поршня должна составлять порядка 700˚-800˚К. Как правило, при эксплуатации молотов в условиях низких температур для гарантированного запуска молота после первого сбрасывания ударной части прибегают к предварительному подогреву камеры сгорания. На подогрев камеры сгорания обычно уходит от 10 до 15 минут, что сопоставимо со временем затрачиваемым на забивку сваи.
Для решения данной проблемы существует множество вариантов. Например, при запуске трубчатых молотов можно использовать топлива с невысокой температурой самовоспламенения, но при этом не следует забывать, что будет происходить снижение мощности, а также увеличение периода задержки воспламенения.
Можно также пойти по пути повышения цетанового числа за счет добавления к топливу присадок. Использование присадок позволяет снизить температуру сжатия и уменьшить задержку воспламенения. Но такой путь не является самым удобным, так как присадки отрицательно влияют на процесс при нормальной работе молота, а главное, не могут повлиять на максимум осадки сваи при запуске.
Наконец, запуск трубчатых молотов можно улучшить конструктивными способами, а именно, за счет увеличения рабочего объема Vh, изменения высоты НК, улучшения распыливания топлива и смесеобразования, а также за счет аккумулирования энергии при подъеме ударной части.
Для сокращения потерь времени при подготовке дизель-молота к эксплуатации, предлагается использование аккумулятора энергии в виде пружины сжатия. При подъеме поршня молота кошкой будет сжиматься пружина, накапливая энергию, которая при расцеплении кошки и поршня будет направлена на ускоренное движение последнего к шаботу. Таким образом, за счет большей энергии ударной части, процесс сжатия воздуха произойдет быстрее, в следствии чего произойдет повышение температуры сжатия до необходимых 800˚К и дизель заведется с первого раза. Помимо улучшения пусковых свойств молота, такое конструктивное решение позволит увеличить частоту ударов молота по свае так как возрастет скорость поршня, что сократит время цикла.
2.1 Выбор аналога дизель-молота
В качестве аналога принимается свайный трубчатый дизель-молот МСДТ-2500-005, за счет широкого спектра забиваемых свай (2,5-6 тонн) данный молот является одним из самых распространенных. Ниже приводятся его общий вид и параметры.















