Борисевич-ПЗ (1232855), страница 4
Текст из файла (страница 4)
Общий вид блока гайковертов представлен на рисунке 1.2.
Допуск перпендикулярности стоек относительно основания рамы должен составлять 1,2 миллиметра. Допуск параллельности стоек 1,2 миллиметра.
Увеличение отверстия в балке диаметром 36 миллиметра допускается диаметром 36,4 миллиметра, при большем износе пластины ее заменить. При установке пластин допуск соосности отверстий относительно их общей оси 0,3 миллиметра.
Втулку заменить при увеличении отверстия более диаметром 41,1 миллиметра.
Ухо кронштейна заменить при увеличении отверстия более диаметром 65,8 миллиметра.
Износ пазов в листе шириной 13 миллиметра допускается до 14 миллиметра, при большем износе пазы восстановить наплавкой.
Ось при износе поверхности менее 39 миллиметра восстановить наплавкой или заменить.
1.5.2. Гайковерт трехшпиндельный
Общий вид трехшпиндельного гайковерта представлен на рисунке 1.11.
Рис. 1.11. - Общий вид трехшпиндельного гайковерта
Кронштейны при наличии трещин в деталях заменить, деформированные детали выправить.
Водило осмотреть, детали с трещинами заменить, деформированные детали выправить.
Грязесъемник заменить. Вилку заменить при увеличении диаметра отверстия более 16,1 миллиметра.
Упоры для клеммных болтов и закладных болтов осмотреть, деформированные детали выправить.
Корпус осмотреть, детали с трещинами заменить, деформированные детали корпуса выправить.
Шпиндель осмотреть. Заглушку при необходимости заменить.
Палец заменить при рисках и забойках, а также при уменьшении диаметра менее диаметра 11,93 миллиметра.
Стойку заменить при наличии трещин и сколов. Износ паза шириной 12 миллиметра допускается до 13 миллиметров.
Дверцы ограждений при деформациях выправить, порванные сетки размером 20x20 миллиметров квадратных заменить.
Валы карданные.
Допуск прямолинейности вала по всей длине 0,9 миллиметра, при большем изгибе вал выправить или заменить. При наличии трещин или скручивании вала или трубы дефектные детали заменить. Игольчатые подшипники при наличии дефектов заменить.
Карты дефектации деталей трехшпиндельного гайковерта представлены в Приложении.
2. ВАРИАНТ УЧАСТКА РЕМОНТА КЛЮЧЕЙ ПМГ С РАЗРАБОТКОЙ СТЕНДА ДЛЯ ИСПЫТАНИЯ БЛОКА ГАЙКОВЕРТА
2.1. Общая характеристика предприятия по ремонту и эксплуатации машин
Одним из крупных предприятий по ремонту путевых машин является Специализированная путевая машинная станция по эксплуатации ремонту путевых машин № 317 структурное подразделение Дирекции по эксплуатации и ремонту путевых машин Дальневосточной железной дороги филиала открытого акционерного общества «Российские железные дороги» (далее – структурное подразделение СПМС № 317).
Структурное подразделение СПМС № 317 создавалось с целью осуществления функций по эксплуатации и ремонту путевых машин для обеспечения потребности железнодорожного транспорта и других отраслей промышленности, юридических и физических лиц в продукции, работах и услугах на территории Российской Федерации.
Для достижения указанной цели структурное подразделение СПМС № 317 вправе в порядке, установленном законодательными и иными актами Российской Федерации, осуществлять следующие виды деятельности:
- выполнение работ комплексами путевых машин на капитальном, среднем, текущем и другие виды ремонтов пути, по снегоборьбе и водоборьбе;
- техническое обслуживание и ремонт специального железнодорожного подвижного состава, путевых машин, в том числе ПМГ, установок, механизмов, оборудования, технических и транспортных средств, средств измерения систем безопасности;
- ремонт, изготовление, реализация путевого и гидравлического инструмента, средств малой механизации, запасных частей;
- сервисное обслуживание путевой техники и оборудования;
- погрузо-разгрузочные работы и иные, транспортные и складские работы и услуги, транспортно-экспедиционная деятельность;
- приобретение, хранение, ремонт и транспортировка запасных частей для путевых машин, узлов, агрегатов, приборов, средств малой механизации, путевого инструмента;
- приобретение, хранение, ремонт, транспортировка и калибровка средств измерения систем безопасности;
- приобретение, хранение и транспортировка горюче-смазочных материалов;
- производство и реализация промышленных товаров;
- заготовка, переработка и реализация черного и цветного металлолома;
- подрядные строительные и ремонтно-строительные работы;
- научно-технические работы, разработка и внедрение новых технических средств, технологий, оборудования, метрологические работы;
- природоохранительные работы и услуги, природоохранительная деятельность;
- работы по мобилизационной подготовке, гражданской обороне, по защите объектов и работников железнодорожного транспорта от террористических актов;
- подготовка, переподготовка и повышение квалификации работников;
- работы по обеспечению промышленной безопасности производственных объектов, эксплуатация и ремонт котлов и сосудов, работающих под давлением трубопроводов, грузоподъемных средств и других технических средств;
- перевозка грузов и пассажиров автомобильным транспортом;
- работы по содержанию материальных ценностей мобилизационного резерва и специального запаса.
Анализ состояния ремонтной базы СПМС №317 позволяет предложить размещение участка ремонта машин ПМГ в ремонтных мастерских ст. Бикин.
2.2. Проект цеха ремонта машин ПМГ
Участок ремонта машин ПМГ представляет собой крытое помещение общей площадью одна тысяча триста семьдесят пять квадратных метров. В этом помещении параллельно друг другу расположено три железнодорожных пути, длина каждого составляет пятьдесят пять метров, что позволяет принимать в ремонт одновременно до двенадцати машин ПМГ. В колеях первого и третьего пути имеются смотровые канавы. Цех оснащён естественным и искусственным освещением, централизованным отоплением, вентиляция цеха обеспечивается за счёт вытяжного вентилятора.
Размещение оборудования и приспособлений на участке ремонта машин представлено на рисунке 1.12.
2.3. Проект стенда для проверки качества ремонта блока гайковёртов
В процессе эксплуатации путевые машины вследствие возникающих нагрузок изнашиваются и теряют свою работоспособность. Работоспособность каждой машины зависит, прежде всего, от сохранения заданных для ее узлов и соединений размеров и зазоров между ними, а также от своевременного смазывания трущихся поверхностей узлов, и механизмов.
Обеспечение для каждой машины нормальных эксплуатационных условий, предусматриваемых технической документацией, сохраняет ее работоспособность на более продолжительные сроки. Наличие тех или иных отклонений от нормальных условий вызывает в машинах и в их узлах ускоренные износы и поломки.
1 - шкаф с инструментом; 2 - выпрямитель сварочный многопостовой (S=0,8 м2 ); 3 - верстак слесарный (S=2 м2 ); 4 - стенд обкатки гайковёртов (S=0,5 м2 ); 5 - Станок наждачно-заточной (S=1 м2 ); 6 - станок вертикально-сверлильный (S=1 м2 ); 7 – калорифер; 8 - вытяжная вентиляция
Рис. 1.12 - Размещение оборудования и приспособлений на участке ремонта машин ПМГ
Преждевременные износы приводят к снижению производительности машин, увеличению стоимости их эксплуатации и ремонта.
Износ характеризуется уменьшением геометрических размеров детали и ее массы, изменением формы, появлением неровностей на ее поверхности, изменением механических качеств материала детали. Износ в машинах тесно связан с качеством и частотой обработки материалов деталей, из которых они изготовлены, с трением и смазкой, правильной сборкой и эксплуатацией.
Одним из важнейших условий поддержания на высоком уровне работоспособности и надежности машин и механизмов является своевременное обнаружение и предупреждение отказов, возникающих в процессе эксплуатации 5.
Одной из основных функций скреплений железнодорожного пути являются противоугонные свойства. Противоугонные свойства скреплений зависят от усилия прижатия рельса к шпале через подрельсовую прокладку.
Усиленная затяжка скреплений повышает динамическое воздействие подвижного состава на путь, ослабленная способствует угону плетей или рельсов. Кроме того, неравномерное усилие прижатия приводит к концентрации напряжений при перепаде температур.
В практике путевого хозяйства используются три принципиальных способа достижения требуемого крутящего момента: механический и гидравлический . Первый способ нашел свое применение в путевых гайковертных инструментах. Это самый известный механический способ с использованием фрикционных и шариковых предохранительных муфт. Насколько он прост, настолько он и не точен. Его применение оправдывается относительно не массовым использованием путевых гайковертных инструментов в сфере обработки рельсошпальной решетки.
Второй способ признан единственно возможным из существующих для путевых моторных гайковертов, работающих на перегоне.
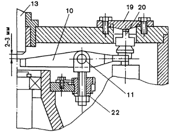
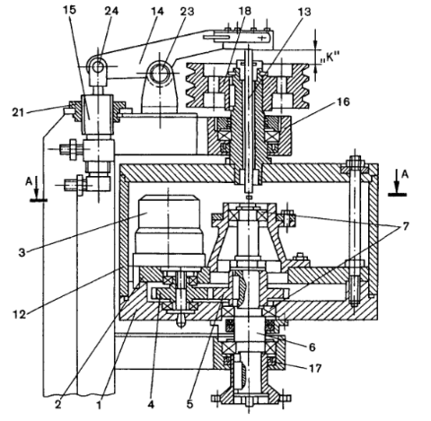
В конструкции машин ПМГ такая муфта выполнена гидравлической и совмещена с маховиком. Так как ограничение крутящего момента необходимо только при завинчивании (окончательной затяжке) гаек, которую выполняют 8 трехлучевых гайковертов из 16, на машине установлены 8 одинаковых по конструкции гидромуфт, встроенных в корпуса маховиков. Остальные 8 маховиков (на отвинчивающих гайковертах) выполнены без гидромуфт. Гидромуфта (рисунок 2.1 – 2.4) состоит из нижнего диска 1, среднего диска 2, на котором размещены три шестеренных гидравлических насоса 3 типа НШ-10 левого вращения с предохранительными клапанами 8 и приводными шестернями 4, входящими в зацепление с шестерней 5, неподвижно закрепленной на ведомом валу 6, установленном в подшипниках на среднем и нижнем дисках.
1 – нижний диск; 2 – средний диск; 3 - гидравлический насос типа НШ-10; 4 - приводная шестерня; 5 – шестерня; 6 – вал ведомый; 7 – подшипники; 12 – колокол; 13 – толкатель; 14 – рычаг; 15 – цилиндр безмоментного съема; 16, 17 – корпус; 18 – шкив; 21 – гайка; 23 – ось; 24 – палец.
Рис.2.1 - Гидромуфта
Средний и нижний диски с установленными на них насосами и клапанами сверху закрыты колоколом 12, образуя корпус маховика с герметичной полостью, заполняемой рабочей жидкостью. В верхней части колокола на полом валу, жестко закрепленном на верхнем диске колокола, на шпонке закреплен шкив 18 клиноременной передачи, приводимый тремя клиновыми ремнями.
10 – рычаг
Р
исунок 2.2 - Сечение А-А на рисунке 2.1
8 – клапан; 9 - шток
Рисунок 2.3 - Сечение Б-Б на рисунке 2.2
10 – рычаг; 11 – ось; 13 – толкатель; 19 – фланец; 20 – сухарь; 22 - втулка
Рисунок 2.4 - Сечение В-В на рисунке 2.2
Для разгрузки гидросистемы от давления шток 9 клапанной пружины отжимается от седла клапана с помощью рычага 10, качающегося на оси 11. По оси полого вала верхнего диска колокола установлен толкатель 13, соединенный рычагом 14 со штоком цилиндра безмоментного съема 15. При перемещении штока цилиндра 15 вверх толкатель движется вниз, одновременно нажимая на концы всех трех рычагов 10, которые, в свою очередь, отжимают от седла штоки подпружиненных клапанов. Положение корпуса цилиндра 15 регулируется гайкой с тем, чтобы обеспечить необходимый зазор (2…3 мм) между рычагом 10 и толкателем 13.
Г
идромуфта предельного момента работает следующим образом. Крутящий момент от шкива клиноременной передачи передается на колокол 12 и жестко с ним связанные верхний и средний диски.
Для того, чтобы передать вращение на ведомый вал 6 необходимо, чтобы ведущие шестерни 4 насосов не вращались относительно валов насосов и не проворачивали вал 6 относительно клапана муфты. В этом случае вал 6 будет вращаться с той же угловой скоростью, что и колокол 12.
В начале процесса завинчивания гайки, когда сопротивление завинчиванию невелико, и крутящий момент не достиг предельного, объем жидкости, находящейся между насосом и шариковым клапаном, не дает возможности валам-шестерням насоса (из-за несжимаемости жидкости) повернуться относительно корпуса насоса. При этом невращающиеся шестерни 4 заставляют вращаться шестерню 5, а с ней и ведомый вал 6 с числом оборотов, равным числу оборотов гидромуфты, выполняющей функцию маховика. Такая же картина будет иметь место и при холостом вращении шпинделей гайковерта. В момент полной затяжки гайки клеммного болта или закладного болта ведомый вал останавливается, а маховик (гидромуфта) продолжает вращение под действием накопленной кинетической энергии и крутящего момента, передающегося от трансмиссии. При этом шестерни 4 насосов начинают обкатываться вокруг шестерни 5, тем самым приводя в действие шестерни насосов, которые начинают создавать давление в системе насос-предохранительный клапан. Это давление будет ограничено усилиями пружин клапанов. При превышении в системе давления, на которое огрегулированы клапаны, они откроются и перепустят часть жидкости в масляную ванну (корпус) гидромуфты. Таким образом, ограничивается крутящий момент, который прикладывается к гайке при ее завинчивании.















