Борисевич-ПЗ (1232855), страница 2
Текст из файла (страница 2)
- высота 3900
Масса конструкционная, т, не более 36,5
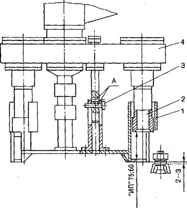
На рисунке 1.2 и рисунке 1.3 представлен общий вид блока гайковёртов с обозначением основных позиций.
1 - ролик опорный; 2 – пневмоцилиндр; 3- рама; 4 - вал карданный
5 – маховик; 6 – гидромуфта; 10 - гайковерт трехшпиндельный; 11 - опора направляющей; 13 - гидроцилиндр
Рис. 1.2 - Блок гайковёртов вид сбоку
7 – монтаж натяжного ролика; 8 – ремень; 9 – ремень; 12 – кожух защитный; 14 – электродвигатель; 15 – пружина; 16 – гидроблок
Рис. 1.3 – Блок гайковёртов вид сверху
При рабочем ходе машины и отпущенном в рабочее положение блоке, искатель трехшпиндельного гайковерта, натолкнувшись на пружинную шайбу болтового соединения, начинает обкатываться вокруг нее вместе с корпусом трехшпиндельного гайковерта в направлении движения машины. На рисунке 1.4 представлено положение искателя скреплений относительно гайки.
При повороте корпуса закрепленный на центральной стойке управляющий упор нажимает толкатель конечного выключателя. При этом происходит опускание пары гайковертов в нижнее положение. Соответствующий вращающийся патрон каждого гайковерта заправляется на гайку скрепления и начинает отвинчивать или завинчивать ее.
1 – искатель; 2 – патрон; 3 – палец; 4 - редуктор трехлучевой
Рис. 1.4 - Установка искателя трехшпиндельного гайковерта относительно гайки
При перемещении машины корпус трехшпиндельного гайковерта продолжает поворачиваться вокруг болтового соединения.
Пока ролик конечного выключателя находится в контакте с управляющим упором, происходит опускание трехшпиндельных
гайковертов и процесс отвинчивания и завинчивания гаек с помощью водил. Водила закреплены на плунжерных парах, приводимых в действие с помощью гидравлики. При полном выходе толкателя с управляющего упора происходит подъем обоих трехшпиндельных гайковертов в верхнее рабочее положение и снятие их вращающихся шпинделей с гаек.
Наконечник искателя, заняв исходное положение, продвигается до встречи с гайкой очередного скрепления.
На рисунке 1.5 изображено положение конечного выключателя относительно управляющего упора.
1 - управляющий упор; 2 - конечный выключатель
Рис. 1.5 - Установка конечного выключателя
При эпюре 1840—2000 шпал/км между наконечником искателя, занявшим исходное положение, и гайкой очередной шпалы имеется запас хода вдоль пути, соответственно равный 170—120 мм, обеспечивающий улавливание гаек при значительном перекосе шпал по эпюре.
Подъем и опускание гайковертов в рабочем цикле происходит на 60 мм (или 75 миллиметров). Водило, с помощью которого происходит подъем и опускание гайковертов, установлено между опорами направляющих (позиция 1 и 2). Направляющая (позиция 7) служит для размещения плунжера, поверхность которого уплотнена резиновыми кольцами. Опоры направляющих прикреплены к раме блока болтами. Каждая опора снабжена регулировочной гайкой с буртиком и имеет два паза. На опоре установлен подпружиненный фиксатор, стержень которого входит в паз гайки. Плунжеры в опорах направляющих (позиция 1 и 2) при подаче рабочей жидкости в верхний или нижний корпус цилиндра опускают или поднимают, водило гайковерта через палец. В направляющие (позиция 7) опор (позиция 1 и 4, 2 и 3) ввернуты угловые штуцера для соединения их друг с другом трубопроводом гидросистемы. В эти же трубопроводы врезаны трубопроводы, подсоединяющиеся соответственно к нижнему и верхнему штуцерам гидроцилиндра безмоментного съема патрона, закрепленного на бугеле крепления каждой из гидромуфт.
Указанная конструкция направляющей обеспечивает угловое отклонение водила гайковерта и установку трехшпиндельного гайковерта по высоте в нижнем и верхнем положениях в рабочем цикле в зависимости от режима работы машины и типа скреплений. Вращением нижней регулировочной гайки устанавливают гайковерт так, чтобы нижняя полость наконечника (обечайки) искателя находилась на 2—3 миллиметра выше нижней плоскости пружинной шайбы обрабатываемых клеммного и закладного болтов.
Вращением верхней регулировочной гайки устанавливают расстояние между верхним торцом водила и нижним торцом этой гайки, равное рабочему гайковерта (60 или 70 миллиметров).
На рисунке 1.6 представлен монтаж направляющих опор с обозначением основных позиций.
Конструкция гайковёрта трёхшпиндельного представляет собой трёхлучевой редуктор со сварным корпусом. Его ведущая центральная вал-шестерня фланцем соединена через карданный вал с фланцами маховиков. Тремя промежуточными шестернями вращение передаётся от центрального вала на три шестерни, насаженные на шпиндели. Каждый шпиндель закреплён в двух подшипниках и имеет возможность свободно проворачиваться на 270 (град) относительно шестерни до упора втулки в кулачок. Обратный поворот производится усилием возвратной пружины правой или левой навивки в зависимости от работы гайковёрта на отвинчивание или завинчивание гаек.
1, 2, 3 и 4 - опора направляющей; 5 - плунжер; 6 - кольцо;
7 - направляющая; 8 – гайка; 9 – масленка; 10 — опора; 11 — шайба;
12 - гайка М48х1,5; 13 - винт; 14 – фиксатор; 15 — палец
Рис. 1.6 – Монтаж направляющих опор
В нижней части шпинделя, заканчивающейся шестигранником, насажен патрон с центрирующей цилиндрической поверхностью и с внутренним шестигранником, размеры которого соответствуют размерам путевой гайки.
Патрон крепится к шпинделю пальцем, который фиксируется пружинным кольцом. Глубина патрона обеспечивает отвинчивание гайки с болта на необходимое (регулируемое) число витков резьбы.
Свободный поворот шпинделя на 270 (град) и наличие возвратной пружины обеспечивает надёжную заправку вращающегося патрона на неподвижную гайку и возврат патрона в исходное положение для заправки на гайку очередной шпалы.
На центральном валу на полой оси, внутри которой расположена пружина сжатия, установлен искатель клеммных (или для закладных) болтов, три наконечника (обечайки), которые установлены соосно с каждым шпинделем и контактируют во время работы машины с пружинной шайбой скрепления. От произвольного поворота вокруг центральной оси искатель удерживает стойка, соединённая со штырём по средствам пальца, который предохраняет
искатель от падения.
Пружина сжатия возвращает искатель в исходное положение при подъёме гайковёрта в рабочем цикле.
Размер между искателем и нижним торцом патрона устанавливается путём установки пальца в нижнее или верхнее отверстие штыря при следующих условиях обработки скреплений:
-
размер 75 мм – при наличии в пути болтов нестандартной, увеличенной длинны (нижнее отверстие);
-
размер 60 мм – при обработки скреплений со стандартной длинной болтов и необходимостью при этом перейти на повышенную производительность (верхнее отверстие).
Трёхшпиндельный гайковёрт с помощью водила связан с направляющей, внутри которой установлены опоры направляющих с плунжерами подъёма и опускания гайковёртов в рабочем цикле. Водило, насаживается на стойку и через два полукольца и шайбу крепится гайкой.
Обработка гаек производится при непрерывном перемещении машины по роторно-конвейерному принципу (рисунок 1.7).
Роль поступательного конвейера в данном случае выполняет железнодорожный путь с обрабатываемыми гайками, роль ротора – вращающаяся головка. За время поворота ротора на угол
оси шпинделя и обрабатываемой гайки неподвижны друг относительно друга. Привод перемещения осуществляется от электродвигателей постоянного тока (питание – через тиристорный преобразователь), привод гайковертов – от асинхронных электродвигателей переменного тока.
В настоящее время на базе машины ПМГ созданы ее модификации 4. Так были созданы и реализованы проекты машин путевой прицепной гайковерт (ППГ-1М) и самоходный дизельный гайковерт (СДГ-05).
Машина ППГ так же как и машина ПМГ относятся к самоходному подвижному составу, то есть имеют ходовое устройство, позволяющее им самостоятельно перемещаться по пути, как в транспортном, так и в рабочем режимах.
Общий вид путевого прицепного гайковерта (ППГ-1М) представлен на рисунке 1.8.
Рис.1.8 - Общий вид путевого прицепного гайковерта
В таблице 1.1 приведены основные параметры и технические характеристики путевого прицепного гайковерта (ППГ-1М).
Таблица 1.1 – Технические характеристики машины ППГ-1М
| Наименование показателя | Значение показателя |
| Количество гайковертов, шт. | 8 |
| Момент крутящий Нм (кгсм.): - при отвинчивании гаек, не менее | 400 (40) |
| - при завинчивании гаек клеммных болтов | 200 (20) |
| - при завинчивании гаек закладных болтов | 160(16) |
| Двигатель, тип | ЯМЗ-236 |
| Мощность двигателя, кВт (л.с.) | 132 (180) |
| Минимальный радиус проходимых кривых, м | 90 |
| Диаметр колеса по кругу катания, мм. | 710 |
| Габаритные размеры, мм: -длина по осям автосцепок | 12250 |
| -ширина | 3150 |
| -высота | 3700 |
Самоходный дизельный гайковерт (СДГ-05) имеет возможность рабочего перемещения, а для работы на перегоне его транспортируют туда и обратно на грузовой платформе, оборудованной бункером-контейнером и устройством съезда-заезда гайковерта на платформу. Бункер-контейнер обеспечивает сохранность гайковерта и защиту от атмосферных воздействий.
Общий вид самоходного дизельного гайковерта (СДГ-05) представлен на рисунке 1.9.
В таблице 1.2 приведены основные параметры и технические характеристики самоходного дизельного гайковерта (СДГ-05).
Рис. 1.9 - Общий вид самоходного дизельного гайковерта















