ПЗ (1230990), страница 5
Текст из файла (страница 5)
Простейший вид имеют уравнения электромагнитных процессов в двигателе, если их представить через вектор потокосцепления обмотки ротора
. То обстоятельство, что
невозможно измерить не является препятствием, так как потокосцепление
легко вычисляется по значениям
при решении:
где
– вектор потокосцепления обмотки ротора, обусловленный током обмотки статора;
,
– векторы потокосцеплений рассеяния обмоток статора и ротора;
– вектор потокосцепления основного потока.
В неподвижной системе координат
модуль электромагнитного момента будет иметь вид:
Однако векторы
и
вращаются в пространстве с угловой скоростью
. Поэтому если для описания процессов выбрать неподвижную систему координат, то проекциями векторов
и
будут мгновенные значения тока фазы и потокосцепления фазы, которые являются синусоидальными функциями времени и регулирование таких величин будет сложной технической задачей. В случае же выбора системы координат
, вращающейся в пространстве с синхронной частотой
, проекции векторов будут постоянными величинами, и управление моментом двигателя будет не сложнее, чем управление токами якоря и возбуждения двигателя постоянного тока (рисунок 1.15).
Задачу управления можно еще более упростить, если совместить какую-либо ось вращающейся системы координат с одним из двух векторов, например совместить ось
с вектором потокосцепления
. Тогда проекция вектора
на эту ось будет равна его модулю, а другая проекция будет равна нулю. При этом уравнение электромагнитного момента примет вид:
Рисунок 1.15 – Представление векторов тока обмотки статора
и потокосцепления обмотки ротора
асинхронного двигателя в неподвижной (
) и вращающейся (
) системах координат при использовании трансвекторного алгоритма управления асинхронным двигателем
Основной задачей системы управления будет определение проекций
и
. Если при этом управление построить так, чтобы потокосцепление обмотки ротора сохранялось постоянным на всех режимах работы двигателя, то регулирование его момента сведется к управлению поперечной составляющей тока статора
.
Пространственное положение вектора
в каждый момент времени во вращающейся системе координат можно определить по мгновенным значениям фазных напряжений и токов обмотки статора асинхронного двигателя [2].
1.2.2.2 Система прямого управления моментом двигателя
В последнее время с развитием цифровых устройств обработки информации появился другой способ управления моментом двигателя, также основанный на векторном представлении электромагнитных величин, но алгоритм управления, которого отличается от трансвекторного. Этот способ называется прямым управлением моментом – DTC (direct torque control).
Задачей прямого управления моментом является повышение быстродействия системы управления асинхронным двигателем. В отличие от систем трансвекторного управления, где изменение момента выполняется путем изменения тока статора, который, таким образом, является управляемой величиной, в системе с прямым управлением моментом управляемой величиной является потокосцепление статора. Изменение потокосцепления достигается путем переключения ключей инвертора напряжения, от которого питается асинхронный двигатель.
В основу работы системы прямого управления моментом положено уравнение электромагнитного момента асинхронного двигателя:
где
– угол между обобщенными векторами потокосцеплений статора
и
Если модули векторов
и
поддерживать постоянными, то значением момента можно управлять, изменяя угол
.
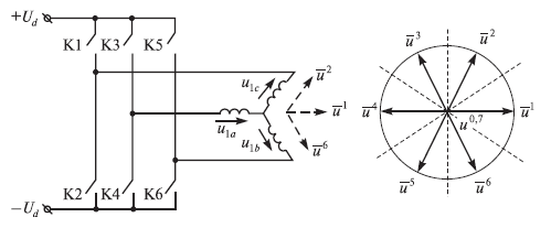
Рисунок 1.16 – Формирование базовых векторов напряжения обмотки статора асинхронного двигателя переключением ключей инвертора
Рассмотрим схему, представленную на рисунке 1.16. Фазы статорной обмотки асинхронного двигателя подключены на источник постоянного напряжения
через систему ключей
–
. Если одновременно замкнуть ключи
,
,
, то к фазам обмотки статора будут приложены напряжения с мгновенными значениями
,
и
. Напряжения
,
и
образуют обобщенный вектор напряжения обмотки статора
. Если теперь вместо ключей
,
,
замкнуть ключи
,
,
, то вектор напряжения повернется на угол 60° по часовой стрелке и займет положение
и так далее. Таким образом, переключая ключи
–
инвертора можно на обмотке статора сформировать восемь векторов напряжения статора
, называемых базовыми. Причем для поворота базового вектора напряжения необходимо переключить только один ключ инвертора. Векторы
и
называются нулевыми. Они получаются при замыкании ключей
,
,
и
,
,
; в этом случае ток по обмоткам двигателя не потечет, что соответствует
и
равными нулю.
Для того чтобы связать уравнение момента двигателя со значением напряжения на обмотке статора, воспользуемся:
Откуда
Асинхронный двигатель, как и всякая электрическая машина, является источником электродвижущей силы, поэтому
значительно больше
. Значит, можно считать, что
, или, переходя к конечным разностям,
Таким образом, вектор приращения потокосцепления обмотки статора
совпадает по направлению с вектором напряжения
и пропорционален длительности его формирования
. В асинхронных двигателях электрическая постоянная времени обмотки ротора значительно больше, чем обмотки статора. Поэтому считается, что после коммутации ключей инвертора обобщенный вектор потокосцепления ротора не меняется
, и изменение момента двигателя
. Поскольку
, то воздействуя на обобщенный вектор напряжения статора
, можно поддерживать постоянное значение
. При этом электромагнитный момент двигателя можно изменять так быстро, как только быстро можно изменять значение угла ϑ, то есть переключать ключи
–
[1].
Рисунок 1.17 – К принципу прямого управления моментом асинхронного двигателя
На рисунке 1.17 показан обобщенный вектор потокосцепления статора
, который в данный момент расположен в секторе I. В процессе регулирования значения
напряжение на обмотке статора может переключаться только в соответствии с базовыми векторами. Переключение происходит только тогда, когда момент двигателя или потокосцепление статора отличаются от заданного значения на величину, большую, чем допустимая ошибка.
Для того чтобы показать, как переключение базовых векторов напряжений влияет на значение электромагнитного момента воспользуемся зависимостью (1.17), из которой следует, что при заданных значениях
и
момент возрастает, если возрастает угол между этими векторами, т.е. если вектор
поворачивается по направлению вращения двигателя.
Пусть в текущий момент векторы
и
занимали положение, как показано на рисунке 1.17; при этом угол между ними имеет значение
. Перенесем диаграмму базовых векторов напряжения в конец вектора
(кроме векторов
и
, так как при расположении вектора
в секторе I их использование не дает однозначного решения при управлении моментом). Если теперь на фиксированное время
замкнуть ключи
,
,
, сформируется вектор
. Это приведет к увеличению вектора потокосцепления обмотки статора на
, в результате чего сформируется новый вектор
. Одновременно увеличится угол
, и момент двигателя возрастет.
Каждый базовый вектор (рисунок 1.17) указывает на таблички, в которых отмечены знаки приращения потокосцепления обмотки статора и электромагнитного момента двигателя, в случае переключения схемы ключей на него. Например, если в данный момент времени
велик, а
мал, то ключи должны переключить схему на формирование вектора
, что приведет к уменьшению потокосцепления статора и увеличению момента двигателя.
В том случае, если в текущий момент времени
и
соответствуют заданным значениям, обмотки статора замыкаются накоротко, формируя один из нулевых базовых векторов
или
. При этом, например,
, то есть вектор потокосцепления обмоток статора не изменит своего значения и направления, а это равносильно тому, что электромагнитный момент также не изменит своего значения. Выбор одного из двух нулевых векторов производится из условия коммутации минимального числа ключей инвертора при переходе к новому режиму управления.
Результат, полученный для сектора I диаграммы, может быть распространен на все другие секторы. В общем виде он может быть сформулирован следующим образом: электромагнитный момент двигателя увеличивается, когда вектор потокосцепления статора поворачивается по направлению вращения двигателя, и уменьшается при повороте этого вектора против направления вращения [1].
Таким образом, переключение ключей автономного инвертора напряжения должно осуществляться в зависимости от отклонения текущих значений
и
от их заданных значений
и
. Значения
и
рассчитываются моделью асинхронного двигателя по текущим значениям
,
,
и
,
,
. Выбор требуемой комбинации включения ключей инвертора производится в соответствии с таблицей оптимальных переключений. Входными величинами для таблицы служат выходные сигналы компаратора
и компаратора
(рисунок 1.18).
Рисунок 1.18 – Блок-схема реализации алгоритма прямого управления моментом асинхронного двигателя:
,
– заданные значения электромагнитного момента и обобщенного вектора потокосцепления обмотки статора асинхронного двигателя
На входах компараторов формируются разности заданного и фактического (рассчитанного по модели) значений величин
и
. Выходной сигнал компаратора потокосцепления
может принимать значения 1 или 0:















