3. Часть 1-5 (1229611), страница 6
Текст из файла (страница 6)
Рисунок 3.9 - Внешний вид электромагнитного реле 833 H
Остальные детали устройства были выбраны из расчета минимальной стоимость и максимальной распространенности. Резисторы в цифровых цепях С1-4 или любые другие с мощностью рассеяния 0.125 или 0.25 ватт. Конденсаторы в цифровых цепях – любые керамические, к примеру, К10-17б. В цепях питания применимы практически любые электролитические конденсаторы, к примеру, К50-35. Диоды выпрямителя выбраны с учетом номинального напряжения, и максимального потребляемого устройством тока – КД202А. Наиболее подходящими клеммниками для подключения управляемых устройств являются клеммники типа 300-101-12 Разъем для подключения программатора – DRB-9FA. В качестве резервного источника питания (а в экономичных устройствах и в качестве основного источника питания) целесообразно использовать 3 последовательно соединенных пальчиковых гальванических элементах.
4 РАЗРАБОТКА ПРОГРАММНОГО ОБЕСПЕЧЕНИЯ
4.1. Выбор общесистемного программного обеспечения
При разработке программного обеспечения одной из главных целей была поддержка всех версий Windows, начиная Windows 98. Операционная система (ОС) MS Windows является более удобной, чем консольная ОС MS DOS, и является самой распространенной ОС, поэтому программы написанные под Windows скорее всего будут работать практически на каждой современной ЭВМ. Важно лишь чтобы выбранная ОС поддерживала работу с COM-портом. Программа «общается» с устройством через COM-порт посредством стандартного программного интерфейса Windows (API).
4.2. Разработка прикладного программного обеспечения
4.2.1. Лингвистическое обеспечение
Прикладное программное обеспечение для ЭВМ было разработано в среде DELPHI. Выбор Delphi обусловлен тем, что в нем очень удобно организована разработка графического интерфейса пользователя. Важным является тот факт, что в Delphi есть возможность вызывать функции стандартного программного интерфейса Windows (API), которые необходимы для работы с СОМ-портом. Выбор системы программирования DELPHI также обусловлен наличием опыта работы с языком программирования Turbo Pascal, доработанная версия которого и используется в системе DELPHI. Программное обеспечение для микроконтроллеров частично разрабатывалось в системе MPLAB IDE, которая поставляется фирмой производителем МК. Только те части кода, которые требуют очень тщательной проработки, были написана на ассемблере, и скомпилированы в MPLAB, так как написать всё программу высокой степени сложности на ассемблере не реально. Поэтому для раз-работки остальных частей программы был использован язык высокого уровня. Почти все программное обеспечение (за исключением вышеупомянутых частей) для микроконтроллеров было написано на языке С2С, в интегрированной среде разработки PicAntIDE.
4.2.2. Разработка алгоритма программного обеспечения
Нижеописанная программа разрабатывалась для работы с демонстрационной версией комплекса, при необходимости использования полноценного комплекса, разрабатывается программа, использующая разработанные модули связи с БС и УС. Нижеописанная программа производит простейшие действия над подключенными устройствами.
Алгоритм управляющей программы ЭВМ приведен на рисунке 4.1
Для реализации алгоритма изображенного на рисунке 4.1 требовалось разработать процедуру, устанавливающую связь с базовой станцией через COM-порт, и производящую обмен данными по алгоритму. Исходный код процедуры BS_data_exchange, написанной на языке Delphi, приведен в листинге 1.
Листинг.1.
Процедура BS_data_exchange
//перед вызовом процедуры в глобальном массиве переменных out_buff //должны содержаться 3 байта с информацией в соответствии с алгоритмом.
procedure BS_data_exchange(port_number: LPCTSTR);
var byte_count, bit_count: integer; //счетчики байт и бит
modemstatus: dword; //регистр состояния COM-порта
comh: hFile; //файл COM-порта
CONST DELAY_=2; //задержка формирования
//импульсов интерфейса
begin
Рисунок 4.1 - Алгоритм управляющей программы ЭВМ
in_buff:=0; //инициализируем входной буффер
comh:=CreateFile(port_number,GENERIC_READ
or GENERIC_WRITE,0,nil,OPEN_EXISTING,FILE_ATTRIBUTE_NORMAL,0); //открываем //порт на чтение и запись в соответствии с описанием функции CreatFile, //первым параметром передается номер COM-порта: если //port_number=’\\.\COM1’, то COM1, если port_number=’\\.\COM2’, то COM2
EscapeCommFunction(comh, CLRDTR); //сброс
EscapeCommFunction(comh, CLRDTR);sleep(DELAY_);
EscapeCommFunction(comh, SETDTR);sleep(DELAY_); //формируем
EscapeCommFunction(comh, SETRTS);sleep(DELAY_); //стартовую
EscapeCommFunction(comh, CLRRTS);sleep(DELAY_); //последовательность
EscapeCommFunction(comh, CLRDTR);sleep(DELAY_); //импульсов
for byte_count:=0 to 2 do //отсчитывааем байты
begin
for bit_count:=0 to 7 do //отсчитываем биты
begin
if(out_buff[byte_count] shl bit_count) and $80>0 then
EscapeCommFunction(comh, SETRTS) //передаем один бит
else
EscapeCommFunction(comh, CLRRTS);
sleep(DELAY_);
GetCommModemStatus(comh, modemstatus); //принимаем один бит
if (modemstatus and MS_CTS_ON<>0) then
in_buff[byte_count]:=in_buff[byte_count]+($80 shr bit_count);
EscapeCommFunction(comh, SETDTR);sleep(2* DELAY_); //формируем
EscapeCommFunction(comh, CLRDTR);sleep(DELAY_); //импульс
//синхронизации
end;
end;
CloseHandle(comh); //закрываем порт
end;
С помощью данной процедуры ЭВМ посылает команды базовой станции, исполняя которые БС управляет УС. Управляемыми устройствами являются блок датчиков. Количество датчиков зависит от количества и типов вагонов.
В качестве достоинств, предложенной реализации следует отметить: автономность комплекса, гибкость к возможностям дальнейшего наращивания. Среди недостатков следует отметить: относительно высокая стоимость радиочастотного модуля, перегруженность диапазона 433 МГц.
Разработанный комплекс можно применять в охранных системах, системах пожаробезопасности, системах контроля доступа, для управления робототехническими комплексами. Дальнейшее развитие комплекса связано с расширением поддерживанием каналов передачи данных, включая ИК канал, разработку более эффективных методов помехозащиты и увеличения дальности связи.
5 ПРИМЕНЕНИЕ СИСТЕМЫ КОНТРОЛЯ ДАВЛЕНИЯ ВОЗДУХА В ТОРМОЗНЫХ ЦИЛИНДРАХ
5.1 Проект системы контроля давления воздуха в тормозных цилиндрах
В настоящее время машинист не имеет никакой информации о состоянии тормозной магистрали и, соответственно, о состоянии прижимных механизмах вагонов поезда.
Необходимо создать прибор контроля плотности тормозной магистрали. Такой прибор уже создан. Его аббревиатура УКПТМ. Его недостатком является то, что он только контролирует плотность ТМ в хвостовом вагоне поезда, не давая информации о состоянии отдельно взятого вагона.
Такая визуализация позволила бы наглядно оценивать состояние прижимных механизмов вагонов.
Его принципиальная схема приведена на рисунке 5.1
1 - датчик давления, устанавливаемый на ТМ хвостового вагона;
2 - пневмогенератор хвостового устройства; 3 - блок питания;
4 - шифратор; 5 - радиопередатчик; 6 - передающая антенна;
7 - принимающая антенна; 8 - радиоприёмник; 9 -дешифратор;
10 - сигнальный индикатор, показывающий машинисту величину давления.
Рисунок 5.1- Принципиальная схема устройства
Но этот недостаток возможно устранить укомплектовкой датчиками давления, пневмогенераторами, блоками питания, шифраторами и радиопередатчиками всех вагонов сети железных дорог.
Дополнительно к уже установленному датчику на хвостовом вагоне необходимо установить датчик на тормозном цилиндре вагона.
В этой системе можно применить датчик давления типа МТ100М Ех, приведённый на рисунке 5.2.
Рисунок 5.2-Датчик давления МТ100М Ех
Характеристики датчика давления МТ100М Ех
Давление: 0,1- 100 МПа
Температура: - 50 ... +80°С
Защита: IP65
Выходной сигнал: 4-20 мА.
Питание: от 10 до 42 В
Потpебляемая мощность не более: 0,8 В·A - пpи напpяжении питания до 36 В.
Исполнения по материалам, контактирующим с измеряемой средой:
титан ВТ9 - материал мембраны; сплав 12Х18Н10Т - материал штуцера.
Масса датчика: не более: 0,35 кг.
Сpедний сpок службы:15 лет.
Габаpитные, установочные и пpисоединительные pазмеpы датчика
приведены на рисунке 5.3.
Рисунок 5.3- Габаpитные, установочные и присоединительные pазмеpы
датчика МТ100М Ех
Электрическая схема подключения датчика МТ100М Ех приведена на рисунке 5. 4.
Рисунок 5.4- Электрическая схема подключения датчика МТ100М Ех
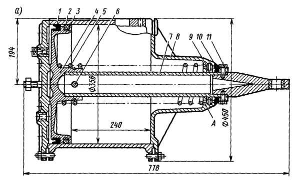
1-манжете;2-кольцо;3-пластинчатая пружина;4-поршень;
5-пружина;6-палец;7-шток;8-передняя крышка;9-сетчатый фильтр;
10-шайба;11-упорное кольцо
Рисунок 5.5 - Тормозной цилиндр 188Б диаметром 14''
Дешифратор будет обрабатывать большее количество информации, а сигнальный индикатор будет иметь вид эквалайзера, показывающего давление в каждого тормозного цилиндра вагона.
Принципиально УКПТМ состоит из двух частей – хвостовой и головной. На ТЦ вагона крепится датчик контроля величины давления сжатого воздуха.
При увеличении давления сжатого воздуха в ТМ до 0,1 МПа (1 кгс/см2) начинает вращаться пневмогенератор, который даёт питание минирадиопередатчику, формирующему и посылающему кодовый радиосигнал о величине давления воздуха в ТМ.
Сигнал принимает прибор (приёмник), установленный в кабине управления локомотива.
Табло прибора имеет шкалу манометра и цифровой индикатор, при устойчивом сигнале показывающие величину давления сжатого воздуха. Эта информация поступает на локомотив постоянно до 5 млн. раз в секунду. Этот параметр настраивается программно. Примерный вид интерфейса приведён на рисунке 6.6.















