Повышение эффективности работы автогрейдера в условиях ООО ДальЖелДор-Логистик (1225337), страница 5
Текст из файла (страница 5)
а – GD521А-1; б - GD675-3
Рисунок 1.10 – Автогрейдеры корпорации Komatsu (Япония)
Модельный ряд средних грейдеров Galion – это три базовые модели 830, 850 и 870 серий В и С, и каждая модель имеет полноприводную версию. Мощность 6-цилиндровых дизелей Komatsu, устанавливаемых них, от 107 до 152 кВт. КП – 6-ступенчатая гидромеханическая. Опционный полный привод приводится от гидронасоса переменной производительности. В передних колесах монтируются гидромоторы. Скорость вращения передних колес и колес балансирной тележки синхронизируется электронной системой. При превышении скорости 19,3 км/ч передний привод автоматически отключается. Максимальная скорость вперед на 6-й передаче – 40 км/ч, назад на 3-й передаче – 22 км/ч. Тяговая рама – Т-образная, гидроцилиндры крепятся к подвижным серьгам хребтовой балки. Отвал поднимается на 90° вправо-влево. На все модели в базовой комплектации устанавливается отвал с шириной захвата 3 658 мм. Дополнительно устанавливаемое оборудование: бульдозерный отвал, задний и монтируемый за передними колесами рыхлители.
1.6 Описание и техническая характеристика автогрейдера ДЗ-98
Автогрейдер ДЗ-98 тяжелого типа (рисунок 1.11), предназначен для строительства грунтовых и гравийных дорог, устройства корыта под основание дороги, перемещения грунта в насыпь, разравнивания материалов и планировки поверхности, выемки кюветов и профилирования откосов, киркования тяжелых и плотных грунтов перед перемещением их отвалом. В зимний период он может быть использован для очистки дорог и территорий от снега./9/
1 - дизель У1Д6-250ТК-С2/СЗ; 2-кабина; 3 - рулевое управление; 4 – карданная передача привода переднего моста; 5 - гидросистема; 6 - основная рама; 7 – кирковщик или бульдозерный отвал; 8 – передний мост; 9 – тяговая рама; 10 - рабочее оборудование (отвал); 11 – средний мост; 12 – балансирная подвеска; 13 - задний мост; 14 – колесо.
Рисунок 1.11 - Автогрейдер ДЗ-98
Основными отличиями этого автогрейдера от автогрейдеров других типов (легкого и среднего) является: повышенная абсолютная и удельная мощность; высокие тяговые характеристики за счет большой мощности двигателя и массы, применения колесной формулы 1х3х3 со всеми ведущими колесами с регулируемым на ходу давлением в шинах; возможность управления выносом отвала, из кабины с места машиниста.
Автогрейдер состоит из основной рамы сварной конструкции, содержащей наголовник, хребтовую трубчатую и подмоторную части в виде двух лонжеронов коробчатого сечения. К наголовнику шарнирно крепится ведущий и управляемый передний мост, кирковщик с приводом, а также шаровая опора тяговой рамы.
Механизм выноса тяговой рамы расположен в середине трубчатой части рамы и шарнирно крепится к ней кронштейнами. Полость трубы используется в качестве ресивера для пневмопривода. Задние лонжероны соединены с хребтовой трубчатой частью поперечной трубой, полость которой также используется как емкость для масла гидропривода. В задней части между лонжеронами установлен двигатель, который с трансмиссией объединен в единый блок. Средний и задний ведущие мосты соединены с лонжеронами основной рамы при помощи подвески в виде качающихся балансиров и реактивных тяг.
Отвал является основным рабочим органом автогрейдера. Он соединен с тяговой рамой через поворотный круг, который обеспечивает его вращение в плане на 360°. Привод поворота гидравлический от гидромотора через червячный редуктор и зубчатую передачу. Тяговая рама соединена с основной рамой шаровым шарниром, двумя гидроцилиндрами подъема-опускания и гидроцилиндром выноса отвала.
Механизм выноса отвала обеспечивает его установку в плане и в вертикальной плоскости под различными углами. При этом все операции по изменению положения отвала за исключением изменения угла резания осуществляются из кабины с рабочего места машиниста. Рычаги, служащие для изменения положения шарниров подвески гидроцилиндров относительно основной рамы, фиксируются в соответствующих положениях пальцевыми фиксаторами, приводимыми в действие пневмоприводом.
В качестве силовой установки на автогрейдере установлен четырехтактный однорядный шестицилиндровый дизель У1Д6-250ТК-С2/СЗ с турбонаддувом. Двигатель имеет систему смазки с «сухим картером», состоящую из бака, насосов, радиатора и предпусковой системы разогрева масла. В бак вмонтирован водомасляный теплообменник для подогрева масла в холодное время.
Пуск двигателя осуществляется после прокачки маслом главной магистрали. Емкость топливного бака 485 л. Подача топлива из бака выполнена таким образом, что обеспечивает работу при поперечном наклоне машины до 17° даже при самом незначительном уровне топлива в баке.
К особенностям двигателя можно отнести наличие двух систем запуска: электрозапуска от аккумуляторов и воздухопуска за счет энергии сжатого воздуха. Заряжается баллон воздухом до давления 150 кгс/см2. Минимальное давление воздуха, при котором возможен пуск двигателя, 40 кгс/см2. Воздушный баллон должен подвергаться испытанию один раз в 5 лет органами технического надзора.
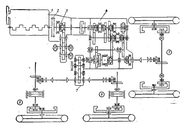
Кинематическая схема автогрейдера показана на рисунке 1.12. Передача мощности от двигателя 1 к мостам осуществляется через механическую трансмиссию, состоящую из редуктора отбора мощности 3, муфты сцепления 2 с гидравлическим сервоприводом, реверсивной коробки передач 4 с постоянным зацеплением шестерен, раздаточного редуктора 7 со стояночным тормозом для передачи крутящего момента к среднему 6 и заднему 8 мостам, карданных передач и механизмов управления.
1 - двигатель; 2 – муфта сцепления; 3 - редуктор отбора мощности; 4 – реверсивная коробка передач; 5 – передний мост; 6 – средний мост; 7 – раздаточный редуктор; 8 – задний мост.
Рисунок 1.12 – Кинематическая схема автогрейдера ДЗ-98
Управление коробкой передач содержит механизм переключения передач и механизм отключения заднего моста.
Задний и средний мосты автогрейдера взаимозаменяемы и состоят из одноступенчатой главной передачи без дифференциала, разгруженных полуосей, колесных одноступенчатых цилиндрических редукторов с внутренним зацеплением и стальной балки. В каждом бортовом редукторе заднего и среднего мостов установлен колесный многодисковый тормоз с пневматическим управлением. Диски тормозов имеют металлокерамические накладки и работают в масляной ванне. Тормоза в процессе эксплуатации регулировок не требуют.
Передний мост 5 является ведущим и управляемым. Основные элементы этого моста унифицированы с задним и средним мостами. Отличие заключается в введении шарниров для поворота колес. Передний мост тормозов не имеет.
Колеса автогрейдера оборудованы специальной системой для изменения давления воздуха в шине на ходу. Максимальное давление в шинах 2,5 кгс/см2, минимальное 1,0 кгс/см2.
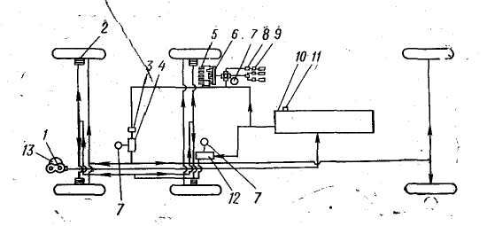
Автогрейдер оборудован пневмоприводом (рисунок 1.13), который обеспечивает централизованную подкачку шин, работу стеклоочистителей и управление фиксирующими защелками механизма выноса отвала, а также привод колесных тормозов. Он работает от компрессора поршневого типа, установленного на двигателе. Компрессор приводится от коленчатого вала двигателя. Электрооборудование автогрейдера имеет напряжение 24 В.
1 — компрессор; 2 — мембранный пневмоцилиндр; 3— клапан ограничения давления воздуха; 4 — кран управления давлением в шинах; 5—пневмоцилиндр; 6 — пневмоклапан; 7 — манометр; 8—краник стеклоочистителя; 9 — стеклоочиститель; 10 — ресивер; 11 — предохранительный клапан; 12 — тормозной кран; 13 — редуктор давления
Рисунок 1.13 - Схема пневмоуправления автогрейдером ДЗ-98
Гидравлический привод предназначен для привода рабочих органов, муфты сцепления и системы управления поворотом машины (рисунок 1.14). Гидрооборудование состоит из двух шестеренных насосов 2 и 17 (НШ-46П и НШ-67А), гидрораспределителя 5 (Р25-125-20X6, 01X30), гидробака 1 с фильтром 3, гидроцилиндров 6—8 и 10 управления отвалом и кирковщиком, гидромотора 9 (НПА-64) для привода поворота отвала и рулевой системы.
1 – гидробак; 2 – гидронасос НШ-67Л; 3 – фильтр; 4 – входная гидромагистраль; 5 – гидрораспределитель; 6 – гидроцилиндр отвала; 7 – гидроцилиндр выноса тяговой рамы; 8 – гидроцилиндр кирковщика; 9 – гидромотор НПА-64; 10 – гидроцилиндр выноса отвала; 11 – гидроцилиндр усилителя руля; 12 – гидрораспределитель рулевого управления; 13 – предохранительный клапан; 14 – делитель потока; 15 – гидроцилиндр привода муфты сцепления; 16 – сливная гидромагистраль; 17 – насос НШ-46П
Рисунок 1.14 – Гидравлическая схема автогрейдера ДЗ-98
Рулевой механизм состоит из рулевого колеса, колонки, карданной передачи, редуктора, совместно с которым смонтирован гидрораспределитель 12 исполнительного гидроцилиндра 11, передаточного шарнирно-рычажного механизма.
Автогрейдер оборудован двухместной кабиной. Внутренние ее стенки оклеены водонепроницаемым картоном и декоративным покрытием. Кабина крепится на площадке, места соединений герметизированы специальными резиновыми уплотнениями. При необходимости она может быть демонтирована.
Кабина оборудована системой отопления и вентиляцией. Предусмотрен обдув лобовых стекол, воздухом, подаваемым от водяного отопителя. Лобовые стекла оборудованы также стеклоочистителями. Имеются солнцезащитные козырьки и зеркало заднего вида. Предусмотрена установка аптечки и огнетушителя.
К преимуществам автогрейдера ДЗ-98 можно отнести возможность установки механической КПП с переключением передач фрикционными муфтами, вынесенными из корпуса коробки; наличие переднего ведущего моста, который обеспечивает наилучшее использование сцепной массы машины, высокую тягу на отвале, курсовую устойчивость при боковом резании, высокую проходимость в сложных условиях; возможность установки сиденья оператора Grammer, кондиционера Konvekta, кабины FOPS-ROPS. Применение неполноповоротного отвала обеспечивает регулирование тягового усилия машины за счет изменения ширины захвата отвала без его выглубления (при этом сокращается количество проходов, повышается качество планировочных работ). Многодисковые колесные тормоза, работающие в масляной ванне, надежны и не требуют регулировки в процессе эксплуатации. Регулируемая рулевая колонка повышает удобство управления
Техническая характеристика автогрейдера ДЗ-98 приведена в таблице 1.1
Таблица 1.1 – Техническая характеристика автогрейдера ДЗ-98
| Показатель | Значение |
| 1 | 2 |
| Общие данные | |
| Класс автогрейдера | 250 |
| Ширина (при отвале в транспортном положении), мм | 3220 |
Продолжение таблицы 1.1
| 1 | 2 |
| Высота (без проблесковых маяков), мм, не более | 4000 |
| Продольная база, мм | 6000 |
| Колея передних колес, мм: | |
| Узких | 2622 |
| широких | 2696 |
| Колея задних колес, мм: | |
| узких | 2502 |
| широких | 2576 |
| Дорожный просвет, мм | |
| под отвалом в транспортном положении | 350 |
| под передним мостом | 615 |
| под задним мостом | 440 |
| под подвеской среднего и заднего мостов | 395 |
| Масса автогрейдера, кг: | |
| эксплуатационная | 19500 |
| приходящаяся на передний мост | 5660 |
| приходящаяся на средний и задний мосты | 13850 |
| Статическая нагрузка на грунт при эксплуатационной массе, Н (кгс): | |
| на отвале, установленном перпендикулярно продольной оси | 103000 (10500) |
| на зубьях кирковщика | 45400 (4630) |
| Количество передач автогрейдера: | |
| при движении вперед | 6 |
| при движении назад | 6 |
| Скорости движения автогрейдера при номинальной частоте вращения коленчатого вала двигателя, км/ч: при движении вперед: | |
Продолжение таблицы 1.1
| 1 | 2 |
| I передача | 3,5 |
| II передача | 5,51 |
| III передача | 9,75 |
| IV передача | 14,1 |
| V передача | 22 |
| VI передача | 41 |
| при движении назад: | |
| I передача | 4,22 |
| II передача | 6,64 |
| III передача | 11,72 |
| IV передача | 16,9 |
| V передача | 26,6 |
| VI передача | 47 |
| Минимальный радиус поворота при движении по сухой бетонированной поверхности, м | 18 |
| Уклон удержания автогрейдера стояночным тормозом, %, не менее | 15 |
| Тормозной путь автогрейдера, движущегося с начальной скоростью 30 км/ч на горизонтальном участке сухого асфальта при выключенном сцеплении, м, не более | 14 |
| Тормозной путь автогрейдера, движущегося с начальной скоростью 30 км/ч при торможении аварийной системой (в случае выхода из строя одного из контуров), м, не более | 41 |
| Двигатель | |
| Тип | Дизельный |
Продолжение таблицы 1.1
| 1 | 2 | |
| Модель | У1Д6-250ТК-С2/С3 | |
| Номинальная мощность, кВт | 184 | |
| Номинальная частота вращения, об/мин | 1700 | |
| Пуск | Стартерный | |
| Трансмиссия | ||
| 1 | 2 | |
| Тип | Механическая, с приводом на все колеса, с механизмом отключения переднего моста | |
| Редуктор привода гидронасосов | Однорядныйс упругой соединительной муфтой | |
| Сцепление | Сухое, двухдисковое, постоянно замкнутое с гидросервированием его привода, с тормозком ведомого вала | |
| Раздаточный редуктор | Однорядный для привода среднего и заднего мостов со стояночным тормозом | |
| Стояночный тормоз | Ленточного типа | |
| Промежуточные передачи к мостам | Карданные | |
| Ходовая часть | ||
| Колесная формула | 1x3x3 | |
| Ведущие мосты | Все | |
| Управляемый мост | Передний | |
| Главная передача мостов | Одноступенчатая, коническая, без дифференциалов | |
Продолжение таблицы 1.1
| 1 | 2 | |
| Бортовые редукторы мостов | Одноступенчатые, цилиндрические, с внутренним зацеплением | |
| Полуоси | Полностью разгруженного типа | |
| Колесные тормоза | Многодисковыес металлокерамическими дисками, работающие в масляной ванне | |
| Подвеска среднего и заднего мостов | Балансирная с реактивными штангами, обеспечивающая прокачку мостов в вертикальной плоскости | |
| Подвеска переднего моста | Шарнирная, обеспечивающая прокачку моста в поперечной плоскости | |
| Размер шин, дюйм | 16.00-24 или 20,5-25 | |
| Давление в шинах, МПа (кгс/см2) | 0,23...0,28 (2,3...2,8) | |
| Управление | ||
| Управление коробкой передач, мультипликатором, реверсом и передним мостом | Механическое | |
| Управление сцеплением | Механическое с гидросервированием | |
| Управление поворотом передних колес | Гидравлическое | |
| Управление тормозами: | ||
| Колесными | Пневматическое | |
| Cтояночным | Механическое | |
| Управление рабочими органами | Гидравлическое | |
| Электрооборудование | ||
| Напряжение, В | 24 | |
| Мощность стартера, кВт (л.с.) | 8,2 (11,2) | |
| Аккумуляторные батареи: | ||
Продолжение таблицы 1.1
| 1 | 2 | |
| тип | 6СТ-190А | |
| количество | 2 | |
| Вместимость заправочных емкостей | ||
| Топливный бак, л | 485 | |
| Система охлаждения и разогрева двигателя, л | 87; 50 | |
| Система смазки двигателя, л | 50; 32 | |
| Гидросистема автогрейдера, л | 120 | |
| Коробка передач, редуктор привода гидронасосов, раздаточный редуктор, л | 35 | |
| Главная передача заднего, среднего мостов (каждого), л | 7 | |
| Главная передача переднего моста, л | 15 | |
| Бортовой редуктор моста, л | 8,6 | |
| Колесный тормоз, л | 3,6 | |
| Предохранитель против замерзания, л | 0,2 | |
| Редуктор поворота отвала, л | 3 | |
| Технико-экономические показатели | ||
| Расход рабочей жидкости гидросистемы, г/моточас, не более: | 7,06 | |
| Удельный расход топлива, кг/м3, не более | 0,15 | |
| Показатели надежности | ||
| 80% ресурс до первого капитального ремонта, моточас, не менее | 8400 | |
| Средняя наработка на отказ, моточас, не менее | 200 | |
| Коэффициент технического использования, не менее | 0,85 | |
| Удельная суммарная оперативная трудоемкость периодических технических обслуживании, чел.ч/моточас, не более | 0,118 | |
Продолжение таблицы1.1
| 1 | 2 | |
| Оперативная трудоемкость ежесменного технического обслуживания, чел/ч, не более | 0,95 | |
| Показатели эргономичности | ||
| Температура на рабочем месте машиниста, °С: не ниже | +14 | |
| при относительной влажности 40-60% , не выше | +28 | |
| при относительной влажности 60-80%, не выше | +26 | |
| для районов со средней температурой воздуха в 13 ч самого жаркого месяца, превышающей плюс 25°С, не выше | +31 | |
| Усилия на органах управления, Н(кгс), не более: | ||
| на рулевом колесе при движении автогрейдера со скоростью не менее 8 км/ч на горизонтальном участке с сухим, твердым, ровным покрытием | 115(11,75) | |
| на педали управления двигателем ) | 50(5,2 | |
| на рычагах управления рабочим оборудованием, используемых в каждом рабочем цикле | 60(6,15) | |
| на рычагах управления машиной, используемых при перемещении ее собственным ходом | 120(12,5) | |
| на педалях типа тормозной | 200(22) | |
| на рычагах и педалях, используемых не более пяти раз в смену | 200(22) | |
| Эквивалентный уровень звука на рабочем месте машиниста (после наработки автогрейдером300 моточасов) дБА, не более | 82 | |
| Гигиенические нормы вибрации и требования к вибрационным характеристикам: | по ГОСТ 121012-90 | |
| Рабочее оборудование | ||
| Путепрокладочное | ||
Продолжение таблицы 1.1
| 1 | 2 |
| Объем призмы волочения в бульдозерном положении, м3, не менее | 3,03 |
| Ширина захвата отвала в путепрокладочном положении, мм, не более | 3400 |
| Высота отвала, мм, не менее | 950 |
| Основной угол резания при бульдозерном положении крыльев отвала | 48° |
| Угол установки крыла отвала назад и вперед от бульдозерного положения в плане, не менее | 24° |
| Опускание отвала ниже опорной поверхности, мм, не менее | 200 |
| Бульдозерное оборудование | |
| Объем призмы волочения, м3, не менее | 2,57 |
| Ширина отвала, мм, не менее | 3200 |
| Высота отвала, мм, не менее | 970 |
| Опускание отвала ниже опорной поверхности, мм, не менее | 110 |
| Основной угол резания отвала | 55° |
| Рыхлительное | |
| Число зубьев рыхлительного оборудования | 5 |
| Максимальное заглубление зуба рыхлительного оборудования, мм, не менее | 230 |
| Ширина захвата рыхлительного оборудования, мм, не менее | 1800 |
| Грейдерный отвал | |
| Длина отвала, мм, не менее | 4200 |
| Высота отвала с ножами, мм, не менее | 700 |
| Угол резания | 30-70 |
Продолжение таблицы 1.1
| 1 | 2 |
| Угол зачистки откосов при угле захвата в плоскости откоса не менее 45° | 0-90 |
| откос внутренних стенок | От 1:2до1:3 |
| откос наружных стенок | От 1:1 до 1:1,5 |
| Угол установки в горизонтальной плоскости, полноповоротного отвала | 0-360 |
| неполноповоротного отвала от положения, перпендикулярного продольной оси автогрейдера | 0+64 |
| Боковое выдвижение отвала в обе стороны относительно тяговой рамы, мм, не менее | 1050 |
| Опускание отвала ниже опорной поверхности, мм, не менее | 500 |
2 Конструкторская часть















