Повышение эффективности работы автогрейдера в условиях ООО ДальЖелДор-Логистик (1225337), страница 8
Текст из файла (страница 8)
∑X = 0: Х4 – Рx = 0, Х4 = Рx = 87,9кН (2.55)
(2.56)
,
(2.57)
Рисунок 2.7 - Схема нагружения основной рамы во втором расчётном положении
Схема нагружения основной рамы во втором расчётном положении на рисунке 2.7. Точка Е на схеме обозначена условная точка приложения динамической нагрузки от масс, приходящихся на задние мосты. Координаты К для точки Е определяются из соотношения:
Точкой приложения суммарной силы тяги Х2 и реакции Z2 показана средняя точка О2 условной оси задних мостов. В такой же средней точке О1 оси переднего моста приложены реакция и динамическая нагрузка от масс, приходящихся на передний мост.
Слева от сечения I-I (со стороны заднего моста):
Справа от сечения I-I (со стороны переднего моста):
Площадь и моменты инерции прямоугольного поперечного сечения составляют:
;
;
Допускаемое напряжение [σ] = 541,7МПа
Профиль бруса выбираем с соответствующим первому расчётному положению. Зная геометрические размеры сечения и его форму можно подсчитать возникающие в нём максимальные напряжения.
Возникающие в опасном сечении I-I основной рамы напряжения от воздействия на него силовых факторов, действующих слева и справа от сечения, подсчитывают раздельно и принимают в расчёт наибольшее.
Для сечения I-I (со стороны заднего моста):
Тогда максимальное напряжение для сечения I-I со стороны заднего моста:
Для сечения I-I (со стороны переднего моста):
Тогда максимальное напряжение для сечения I-I со стороны переднего моста:
Условие выполняется с большим запасом.
2.4 Расчёт тяговой рамы
При расчёте тяговой рамы для расчётного положения принимаю, что на неё действуют максимальные нагрузки, возникающие в условиях нормальной эксплуатации. При этом сочетание возможных нагрузок выбирается таким, чтобы тяговая рама находилась в наиболее благоприятных условиях. Такие условия возникают, если нож отвала автогрейдера в процессе резания встречает поверхностный слой более плотного грунта или под плотным слоем оказывается более рыхлый.
Рисунок 2.7 – действие ножа
При этом реакция грунта Z на площадку затупления ножа О оказывается меньше, чем составляющая Рв от силы Р, действующей по нормали к ножу (рисунок 2.7). В силу этого суммарная сила Р’z действует вниз, вызывая самозатягивание отвала в грунт. Ведущие колёса автогрейдера находятся на пределе полного буксования.
Схема нагружения автогрейдера при расчёте тяговой рамы показана на рисунке 2.8. На конце режущей кромки О ножа отвала действуют усилия Рx, Рy, Рz. Экспериментально установлено, что наибольшее влияние на прочность тяговой рамы оказывают усилия Рx и Рz. Поэтому рассматриваем случай, когда автогрейдер находится на горизонтальной площадке, так как при этом указанные усилия достигают максимальных величин. В условных точках О’2 и О’’2 задних мостов действуют вертикальные реакции Z2п и Z2л и силы тяги X2п и X2л. Кроме того, на задних мостах за счёт упора боковых поверхностей шин в грунт возникает боковая реакция Y2 (на создание её усилий сцепление не расходуется). Передним мостом воспринимается боковая реакция Y1 по пределу сцепления. В точках О’1 и О’’1 действуют реакции Z1п и Z1л в центре тяжести автогрейдера сосредотачивается сила его веса G и равнодействующая инерционных сил Ри подсчитываемая по формуле:
где КД = 1,5 – коэффициент динамичности, принимаемый для первого
расчётного положения; Θ max = 0,85 –максимальный коэффициент использования сцепного веса; G2 = 76,2кН – сила тяжести автогрейдера, приходящаяся на задний мост
Рисунок 2.8 - Схема сил для расчёта тяговой рамы
Составляя уравнения равновесия, получаем выражение для определения неизвестных сил:
после подстановки значения Рх получаем:
Реакцию Z2л находим из уравнения:
Реакцию Z2п находим из уравнения:
Значение Y1 подсчитываем по выражению:
где
- максимальный коэффициент бокового сдвига
f = 0,05 – коэффициент сопротивления перекатыванию
Значение Y2 подсчитываем по выражению:
Остальные реакции колёс находим из уравнений:
Боковую реакцию грунта находим из уравнения
∑Y = 0: Y2 + Py – Y1 = 0 (2.82)
Py = Y1 - Y2 (2.83)
Py = 25 – 16 = 9кН
Усилия в шаровом шарнире О4 определяем с помощью схемы на рисунке 2.9
Рисунок 2.9 - Схема сил, действующих на шаровой шарнир при расчёте тяговой рамы
∑X = 0: Х4 = Рx = 94,5кН
(2.84)
(2.86)
Заменяя шарнир О4 равновеликой системой сил Х4, Y4, Z4, можно рассматривать тяговую раму как консольную балку с местом заделки в плоскости Q’. Максимальные нагрузки будут в месте заделки, т.е. в сечении I-I с наибольшим плечом n. На это сечение будут воздействовать:
- изгибающий момент
- изгибающий момент
Для расчёта профиля, составленного из двух стандартных, выбираю швеллер №24а с размерами Јх1 = Јх2 = 3180 см4, Јy1 = Јy2 = 254 см4, h = 24см, b=9,5 см, х0 = 2,67 см, F = 32,9 см2
Задаваясь параметрами и типом сечения рисунок 2.10, определяем возникающие в нём напряжения:
При этом должно выполняться условие:
(2.93)
Рисунок 2.10 - Поперечное сечение тяговой рамы.
2.5 Расчет механизма подъема отвала
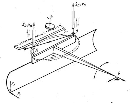
Отвал автогрейдера через поворотный круг и тяговую раму подвешен к основной раме в точках А, В, О (рисунок 2.11), из которых точка О (шарнир тяговой рамы на передней оси) неподвижная, а точки А и В могут изменять свое положение относительно точки О в вертикальной и горизонтальной плоскостях. Механизм подъема отвала выполнен с передачей движения вертикальным тягам через шток гидравлического цилиндра.
В задачу расчета механизма подъема автогрейдера входят:
1) определение подъемного усилия;
2) определение потребной мощности для выполнения операции подъема NП;
3) кинематический расчет для обеспечения выбранной скорости vП;
4) расчет деталей механизма подъема на прочность.
Для определения величины подъемного усилия SП принимается следующее расчетное положение: отвал заглублен одной стороной, производится подъем заглубленного конца отвала; на отвал действует максимальная горизонтальная составляющая реакции грунта Р1 (рисунок 2.12). При этом имеются следующие допущения: вертикальная составляющая реакции грунта препятствует подъему отвала, вес отвала с ножом, вес поворотного круга и всей тяговой рамы сосредоточены в центре тяжести системы, нагрузка воспринимается одним механизмом подъема.
Рисунок 2.11 – Схема подвески отвала автогрейдера
Рисунок 2.12 – Схема для определения усилия в механизме подъеме отвала автогрейдера
Величины силы SП без учета инерционных сил находим по формуле:
где GТ.Р. – сила тяжести тяговой рамы с отвалом, GТ.Р.=20 кН;
Р2 – вертикальная составляющая реакции грунта.
Для общего случая расчета можно принять Р2=0,5Р1. Силу Р1 принимаем равной максимальной свободной силе тяги автогрейдера Р1=Т=146,56 кН. Тогда Р2=0,5146,56=73,28 кН. По чертежу тяговой рамы с отвалом l1=0,81 м; l2=2,7 м; l3=2,3 м; l4=2,1 м. Отсюда
Проведем расчет гидравлического цилиндра механизма подъема. Давление в гидравлической системе р=10 МПа. Определим ориентировочный диаметр поршня из формулы:
Диаметр поршня принимаем dП=100 мм, диаметр штока dШ=60 мм. Определяем максимальное усилие, развиваемое цилиндром:
где АП и АШ – площади поршня и штока.
Усилие Fmax примерно соответствует значению подъемного усилия SП.
Определяем расход масла в гидравлической системе, по следующим формулам:
расход по штоковой полости
расход по поршневой полости
где vП – скорость поршня, рекомендуемая скорость в механизме подъеме отвала vП=0,09-0,18 м/с, принимаем vП=0,12 м/с.
Проведем расчет штока гидроцилиндра на прочность. Длина штока lШ=1200 мм на 20 раз больше диаметра штока. Штоки, длина которых больше 10 диаметров ("длинные" штоки), работающие на сжатие, рассчитывают на продольный изгиб по формуле Эйлера.
Для проверки прочности используем практическую формулу расчета на продольный изгиб:
где - коэффициент уменьшения допускаемого напряжения на сжатие
, для материала штока
=200 МПа.
Для выбора коэффициента определим гибкость штока по формуле
где µ - коэффициент приведения длины, для данного способа закрепления штока µ=0,7;













