Повышение эффективности работы автогрейдера в условиях ООО ДальЖелДор-Логистик (1225337), страница 10
Текст из файла (страница 10)
Наибольший изгибающий момент на отвале в опоре А
Рисунок 2.19. Сечение лобового отвала
Под действием силы q в волокнах части сечения, расположенной справа, возникнут напряжения растяжения, а в волокнах левой части сечения – напряжения сжатия.
Для определения моментов сопротивления в волокнах растяжения Wp и в волокнах сжатия Wсж определяем положение центральной линии у – у расстояниями х1 и х2 относительно крайних точек сечения /11/
Момент сопротивления сечения отвала
где: R = 643 мм – средний радиус кривизны сечения отвала;
α = 27˚ = 0,4712 рад – центральный угол дуги отвала
Моменты сопротивления волокон растяжения и стяжения сечения
Нормальные напряжения в растянутых волокнах
Условие прочности выполнено для стали 3 с переменной нагрузкой
Условие прочности также выполнено
2.7.2 Расчет гидроцилиндра
Усилие перемещения выдвижного отвала для штоковой полости гидроцилиндра в холостом режиме
Fх = Рво × f × К (2.127)
Fх = 150 × 0,1 × 1,5 = 22,5 кг
где: Рво = 150 кг – вес выдвижного отвала;
f = 0,1 – коэффициент трения скольжения;
К = 1,5 – коэффициент неучтенных потерь
Усилие перемещения выдвижного отвала для штоковой полости гидроцилиндра в рабочем режиме
Fр = (Рво + Fс) × f × К (2.128)
Fр = (150 + 2118) × 0,1 × 1,5 = 340 кг
Площадь поршня гидроцилиндра
fп = π×D2/4 (2.129)
fп = 3,14×62/4 = 28,27 см2
где: D = 6 см – диаметр поршня
Площадь сечения штока гидроцилиндра
fш = π×d2/4 (2.130)
fш = 3,14×32/4 = 7,07 см2
где d = 3 см – диаметр поршня
Рабочая площадь штоковой полости гидроцилиндра
fшп = Fп – Fш (2.131)
fшп = 28,27 – 7,07 = 21,2 см2
Минимальное рабочее давление в полостях гидроцилиндра
Рмин = Fх / fшп (2.132)
Рмин = 22,5/ 21,2 = 1,07 кгс/см2
Максимальное давление в штоковой полости гидроцилиндра
Рмакс = Fр / fшп (2.133)
Рмакс = 340/ 21,2 = 16,2 кгс/см2
Объем поршневой полости, при полностью выдвинутом штоке
V = f п× L (2.134)
V = 28,27 × 80 = 2261,6 см3,
где L = 800 мм – ход штока гидроцилиндра
Расход гидравлической жидкости
Q = fп × v (2.135)
Q= 0,2827 × 8 = 2,2616 м3/мин = 226,2 л/мин,
где v = 8 м/мин – скорость перемещения поршня цилиндра
Исходя полученных данных мы выбираем гидроцилиндр 263.01.41.000СБ Тверского экскаваторного завода.
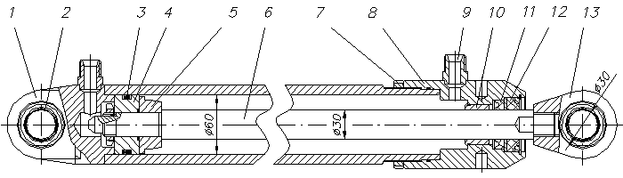
1 – цилиндр; 2 – подшипник ШС; 3 – кольцо резиновое; 4 – поршень;
5 – демпфер; 6 – шток; 7 – контргайка; 8 – гайка; 9 – штуцер; 10 – втулка; 11 – манжета; 12 – грязесъемник; 13 – проушина
Рисунок 2.20. Конструкция цилиндра
3 Разработка технологии изготовления детали
3.1 Описание детали
Штуцер входит в состав рабочего оборудования автогрейдера. Через данный штуцер гидравлическая жидкость под давлением попадает в полости гидроцилиндров – поршневую и штоковую. Гидроцилиндры приводят в движение выдвижные отвалы.
Штуцер представляет собой тело вращения цилиндрической формы. Деталь цельная простая.
Габаритные размеры детали: длина l = 30 мм, диаметр D = 25 мм.
На наружной цилиндрической поверхности детали длиной 17 мм от торца имеется резьба М22х1,5. Сопряжения наружной цилиндрической поверхности с торцом выполнены фаской 1,6х45о. Выход резьбы осуществляется в канавку шириной 4 мм.
Деталь имеет центральное сквозное отверстие диаметром D = 12 мм с входным конусом 37 градусов для присоединения рукава РВД.
Все поверхности детали, кроме конуса и резьбы выполнены с шероховатостью Ra=12,5 мкм. Шероховатость конуса Ra=0,8 мкм, а резьбы Ra=3,2 мкм. Неуказанные предельные отклонения: h14, H14, ±IT 14/2.
Деталь изготавливается из калиброванной стали 35, изделия из которой способны работать в тяжелых режимах нагрузок, и предназначены для эксплуатации в холодном климате. Свойства материала сталь 35 сведены в таблицы 31 и 3.2.
Таблица 3.1 – Механические свойства стали 40Х
| Предел прочности σв, МПа | Предел текучести σт, МПа | Относительное удлинение при разрыве, δ5, % | Относительное сужение, ψ, % | Ударная вязкость, ξ, кДж/м2 |
| 540 | 320 | 20 | 45 | 59 |
Таблица 3.2 – Физические свойства стали 40Х
| Модуль упругости, Е, МПа | Плотность,ρ, кг/см3 | Коэффициент теплопроводности, l, Вт/м·ºС | Уд. электросопротивление, R,109 Ом·м | Уд.теплоемкость, С, Дж/кг·ºС |
| 214 | 7820 | 41 | 210 | 466 |
3.2 Выбор метода получения заготовки
Исходя из конструкции и конфигурации детали и ее размеров, как метод производства рассмотреть изготовление заготовок из круглого стального проката по ГОСТ 2879-88, характеристики которого приведены в таблице 3.3.
Таблица 3.3 – Характеристики стального калиброванного прутка диаметром 25 мм
| Предельные отклонения, мм | Площадь поперечного сечения, см2 | Масса погонного метра, кг | Предельная кривизна на 1 м длины, мм |
| -0,21 | 4,909 | 3,85 | 0,75 |
Результатом проведения технологических операций по обработке заготовки должен стать штуцер с размерами, приведенными на рисунке 3.1.
Рисунок 3.1 – Эскиз детали
3.3 Разработка маршрута обработки детали
Рисунок 3.2 - Назначение способов обработки штуцера
Таблица 3.4 - маршрут обработки детали
| Номер и наименование обрабатываемой поверхности | Вид механической обработки |
| 1,9– торец | Точение |
| 2 – наружная цилиндрическая поверхность | Точение |
| 3,8– фаски | Точение |
| 4 – канавка с фаской | Точение |
| 5 – отверстие осевое | Сверление |
| 6 – конус | Расточка |
| 7 – резьбовая поверхность | Нарезание резьбы плашкой |
| 10 – наружная цилиндрическая поверхность и фаска | Точение |
Технические характеристики токарно-винторезного станка 16К20 сведены в таблицу 3.5.
Таблица 3.5 – Технические характеристики токарно-винторезного станка 16К20
| Наименование параметров | Ед.изм. | Величины |
| Наибольший диаметр обрабатываемой заготовки над станиной | мм | 400 |
Продолжение таблицы 3.5
| Наибольший диаметр точения над поперечным суппортом | мм | 220 |
| Наибольший диаметр обрабатываемого прутка | мм | 50 |
| Наибольшая длина обрабатываемого изделия | мм | 1400 |
| Предел числа оборотов шпинделя | об/мин | 12,5-1600 |
| Пределы подач |
| |
| - продольных | мм/об | 0,05-2,8 |
| - поперечных | мм/об | 0,025-1,4 |
| Наибольшее усилие допускаемое механизмом подач на упоре |
| |
| - продольное | кгс | 800 |
| - поперечное | кгс | 460 |
| Наибольшее усилие допускаемое механизмом подач на резце |
| |
| - продольное | кгс | 600 |
| - поперечное | кгс | 360 |
| Мощность электродвигателя главного движения | кВт | 11 |
| Габариты станка |
| |
| - длина | мм | 3195 |
| - ширина | мм | 1190 |
| - высота | мм | 1500 |
| Масса станка | кг | 3225 |
3.4 Расчет режимов резания и норм времени
Токарная операция
-
Подрезать торец в размер 32мм
1. Резец проходной упорный с φ =90о, Т15К6, тип конструкции М.












