Повышение эффективности работы автогрейдера в условиях ООО ДальЖелДор-Логистик (1225337), страница 2
Текст из файла (страница 2)
Практически все современные автогрейдеры оборудуются автоматическими системами управления. Их необходимость была осознана около 30 лет назад и, однажды появившись, они постоянно совершенствовались, становясь все более и более незаменимыми. Основная функция таких систем – сохранение заданной ориентации отвала в пространстве при движении машины, выдерживая как поперечные, так и продольные уклоны в пределах допусков, предписываемых строителями. Разумеется, обрабатываемая поверхность должна быть выровнена настолько, чтобы разница между проектными отметками и реальной поверхностью не превышала пределов регулирования грейдерного отвала.
Для создания независимой системы координат грейдерного отвала могут использоваться маятниковые, копирные (проволочные и лазерные) и гироскопические задатчики. Целесообразность применения какого-либо из них определяется ценой, которую готов заплатить потребитель за эффект от применения системы. Показатель эффективности автоматических систем профилирования – производительность автогрейдера, определяемая скоростью его движения, при которой отвал успевает реагировать на изменения профиля поверхности, не выходя за пределы нормативных допусков.
Отдельного упоминания заслуживают усилия машиностроителей, направленные на сокращение простоев автогрейдеров. Специфика машины такова, что без специального переоборудования ее можно использовать только для планирования и профилирования, доля которых в общем объеме работ относительно невелика. Естественно, владельцы автогрейдеров не желают мириться с простоем дорогой техники. Учитывая их настроения, фирмы-производители стали создавать для автогрейдеров наборы сменного оборудования, позволяющие, во-первых, расширить их возможности на основных работах, а во-вторых, «освоить смежные профессии»/4/.
Современные автогрейдеры очищают и разравнивают за один проход более широкие поверхности и перемещают далеко вбок валы снега или грунта благодаря удлинителям грейдерных отвалов. Они разравнивают поверхность перед собой передними бульдозерными отвалами и заравнивают колеи своих колес задними подгребающими отвалами. Они прокладывают траншеи в снежной целине фронтальными снежными плугами, рыхлят прочные обочины и взламывают твердые покрытия кирковщиками и рыхлителями, убирают мусор подметальными щетками. Производители с наиболее богатой фантазией даже комплектуют автогрейдеры задненавесными экскаваторами и оборудованием фронтального погрузчика.
1.3 Рабочее оборудование автогрейдера
Автогрейдеры имеют три вида рабочего оборудования: отвал, рыхлитель-кирковщик, бульдозер. Помимо перечисленных видов рабочего оборудования автогрейдеры могут оснащаться откосником, кюветоочистителем, снегоочистителем./5/
Основным рабочим органом автогрейдера является отвал, который состоит из трех сборочных единиц: тяговой рамы, поворотного круга, непосредственно отвала. Тяговая рама имеет треугольную форму. В ее передней части имеется шарнир с крышкой для соединения с головкой основной рамы. Снизу к раме приварены плиты для крепления поворотного круга. На передней плите крепится редуктор поворота отвала. Поворотный круг состоит из кольца с приваренными лапами, зубчатого венца, прикрепленного к кольцу болтами. Такое устройство поворотного круга позволяет изменять положение венца относительно круга при неравномерном износе зубьев. К тяговой раме поворотный круг крепится накладками с регулировочными болтами. Отвал крепится к поворотному кругу двумя кронштейнами, установленными на штанге поворотного круга. Отвал снащен основными и боковыми ножами реверсивного типа. При износе режущей кромки основных ножей перестановка их производится переворачиванием. Боковые ножи при износе их режущей кромки переставляют выдвижением, смещая на одно отверстие вниз, или переворачиванием. Изменение угла резания отвала производится гидроцилиндрами, этим же гидроцилиндром отвал выносится относительно тяговой рамы в обе стороны. Съемный кронштейн для крепления головки штока гидроцилиндра на отвале может быть передвинут. Поворот отвала в плане осуществляется редуктором, цилиндрическая шестерня которого входит в зацепление с зубчатым венцом поворотного круга. Гидравлический шарнир, закрепленный на поперечной балке тяговой рамы, обеспечивает пропуск рабочей жидкости к гидроцилиндрам, изменения угла резания отвала и его выноса.
Редуктор поворота отвала закреплен на тяговой раме болтами и шпильками. Основными его деталями являются корпус, червячное колесо, червяк, крышки, подшипники, валы, шестерня. Посредством втулки и муфты червяк соединяется с валом гидромотора.
Рыхлитель-кирковщик предназначен для рыхления старых асфальтовых покрытий, ремонтируемых булыжных мостовых и разрабатываемых тяжелых грунтов. Рама рыхлителя крепится к балкам основной рамы. Подъем и опускание рабочего органа осуществляются гидроцилиндром. Рыхление производится зубьями при движении автогрейдера вперед. Не рекомендуется движение машины задним ходом при заглубленных зубьях, так как при этом могут быть сорваны их наконечники. Старые дорожные покрытия и плотные грунты следует рыхлить одним средним зубом.
Бульдозерный отвал, имеющий криволинейную поверхность, размещен перед передними колесами и предназначен для сгребания и толкания грунта в направлении вперед, устройства в грунтовом полотне корыта под основание дороги, засыпки траншей и пазух. Подвеска бульдозера выполнена по типу параллелограмма, чтобы отвал занимал положение параллельно разрабатываемой поверхности основания. Подъем и опускание отвала производится гидроцилиндром.
Откосником срезают и отделывают кюветы. Откосники применяют для профилирования откосов треугольного и трапецеидального профиля. Крепится откосник к отвалу с правой стороны с помощью центрального и фиксирующего болтов и поддерживается цепью, закрепленной на раме автогрейдера.
Кюветоочиститель предназначен для очистки боковых канав от снега. Крепят кюветоочиститель к отвалу. Форма кюветоочистителя соответствует сечению кювета.
Снегоочиститель состоит из отвала и универсальной рамы, которая шарнирно прикреплена к раме автогрейдера. В рабочее положение отвал поднимается и опускается с помощью гидроцилиндра. При работе отвал опирается на две лыжи, позволяющие регулировать его высоту.
Боковой отвал к автогрейдеру ДЗ-98В является дополнительным оборудованием и устанавливается на тяговую раму автогрейдера. Боковой отвал предназначен для выполнения работ по уборке снега с обочин дорог, с откосов и за ограждением дороги. В летнее время может быть использован для планировки легких материалов в том числе гравия и т.д. Конструкция оборудования позволяет производить работу одновременно боковым и основным отвалами автогрейдера.
1.4 Технология грейдерных работ
Автогрейдеры в основном используют на строительстве, ремонте и содержании дорог для возведение насыпей, устройства корыт в земляном полотне, профилировании грунтовых дорог, очистки дорог и площадей от снега. Рассмотрим технологию выполнения грейдером некоторых видов работ./6/
Возведение насыпей. Наибольший экономический эффект дает использование грейдеров и автогрейдеров на возведении насыпей до 0,6–0,7 м. Работа этих машин сводится к выполнению трех основных операций – зарезания, перемещения и разравнивания грунта, причем перемещение грунта из резерва является одной из основных операций и составляет 65–75% общего числа его проходов.
Возведение насыпи происходит послойно и постепенным наращиванием ее высоты. Если темп потока по возведению земляного полотна намного больше темпа потока по строительству дорожной одежды и уплотнять каждый отсыпанный слой грунта не требуется, валики в насыпи укладывают вприжим без зазора (рисунок 1.1, а), насыпь уплотнится при естественной осадке грунта.
При уплотнении насыпи валики грунта укладывают вполуприжим (рисунок 1.1, б) с последующим разравниванием и вразбежку (рисунок 1.1, в).
Валики первого слоя грунта укладывают наращиванием от края насыпи к ее оси, при этом первый валик перемещают к краю насыпи и частично разравнивают, второй перемещают через первый, третий – через второй и т. д. (рисунок 1.1, г), с частичным разравниванием каждого валика.
Во втором слое валики укладывают вполуприжим, начиная от оси насыпи к обочине, а последние валики по ширине земляного полотна укладывают вприжим, от разрушающего действия поверхностных и грунтовых вод устраивают водоотводные канавы по бокам дороги.
а – вприжим без зазора; б – вполуприжим; в – вразбежку; г – расположение валиков при возведении насыпи.
Рисунок 1.1 – Схемы укладки валиков грунта в теле насыпи
Откосы земляного полотна крутизной 1:3 планируют грейдерами за два–три прохода по одному месту: первым проходом при движении вдоль бровки земляного полотна планируют верхнюю часть откоса, при обратном проходе — нижнюю часть откоса, перекрывая предыдущий след на 20—30 см. Для окончательной отделки откосов операции повторяют.
При планировке дна резервов грейдер совершает круговые проходы вдоль земляного полотна по правому и левому резервам. Число проходов зависит от ширины резерва.
В готовом земляном полотне корыто выполняют в тех случаях, когда дорожную «одежду» устраивают не сразу после сооружения дорожного полотна или одновременно с возведением насыпи дороги.
Устройство корыта в земляном полотне. Для размещения материала основания дорожного полотна (песка, гравия, щебня) и покрытия делают неглубокую выемку вдоль насыпи – корыто.
Корыто устраивают круговыми проходами грейдера: грунт вырезают из верхней части насыпи и перемещают на обочины, где его разравнивают до требуемого уклона. Прежде чем делать корыто, грунт уплотняют. Весь процесс устройства корыта состоит из восьми следующих проходов.
-
Грейдер зарезает грунт от оси насыпи на глубину 15—20 см ниже отметки корыта и на ширину 1,8 м.
-
Валик грунта, полученный в результате зарезания, перемещают на обочину дороги.
-
Грейдер вторично зарезает грунт насыпи на 3—5 см меньше глубины первого зарезания (т. е. на глубину 12—15 см) при той же ширине реза на расстоянии 1 м от оси насыпи.
4. Разравнивание грунта на обочине с требуемым уклоном в сторону боковых канав. Машинист следит за тем, чтобы грунт не пересыпался за бровку и в боковую канаву.
5. Незначительное зарезание грунта сбрасывающим концом грейдерного отвала. Отвал устанавливают под углом наклона до 6° при угле захвата 40–45. Вырезанный грунт укладывают на обочину вприжим, уплотняя его в месте перехода в корыто. Проход является очень ответственным, поэтому вдоль полотна насыпи на расстоянии 15—20 м устанавливают колышки, которые указывают, что след колес грейдера при движении должен отстоять от них на расстоянии 10—15 см.
6. Повторное зарезание грунта в корыте, чтобы получить требуемую глубину корыта у бровки обочины. Срезаемый грунт частично перемещают на обочину, где укладывают вприжим. Угол отвала должен соответствовать поперечному профилю дна корыта.
7 и 8. Окончательная отделка и планировка дна корыта. Отделку производят от обочины к оси полотна, а перемещаемый грунт разравнивают в средней части корыта, засыпая все неровности.
При этих операциях целесообразно применять удлинитель отвала, что позволяет сократить число проходов. Необходимо разворот грейдера в конце рабочих участков и на крутых поворотах при переездах осуществлять на первой передаче тяговой машины.
С одновременным возведением насыпи корыто можно устраивать двумя, способами в зависимости от высоты насыпи.
При высоте насыпи до 0,3 м корыто образуют путем отсыпки обочин дороги (рисунок 1.2, а): грунт, вырезанный из боковых канав грейдером, перемещают к оси дороги и укладывают на обочины. Когда толщина обочин достигнет требуемой величины, грунт выравнивают для :придания обочине требуемого уклона.
Корыто начинают устраивать с зарезания грунта у бортов на глубину корыта. Отвал устанавливают с углом наклона, соответствующим i поперечному наклону дна корыта. Вырезанный грунт перемещают к оси дороги, разравнивая и планируя его одновременно до тех пор, пока корыто не примет заданный профиль (рисунок 1.2, б). Если в корыте окажется лишний грунт, его перемещают на обочину.
Корыто на насыпи высотой от 0,3 до 0,7 м (рисунок 1.2, б) выполняют следующим способом: обычное зарезание грунта в резервах, послойная укладка его и уплотнение. После уплотнения нижнего слоя, уложенного в насыпи вразбежку, и разравнивания его от края насыпи к ее оси отсыпают второй слой насыпи к обочине, образуя валики, уложенные вполуприжим. Этот слой разравнивают и уплотняют. Дальнейшие операции по устройству корыта аналогичны ранее рассмотренным.
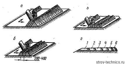
Сооружение и содержание кюветов (водоотводных канав). Водоотводные канавы делают по бокам дороги для предохранения земляного полотна и дорожной одежды от разрушающего действия поверхностных и грунтовых вод.
Для лучшего стока вод боковые откосы насыпи и откосы канавы делают определенной формы с различными поперечными сечениями: треугольные, трапецеидальные или сегментные (обтекаемые). Все виды водоотводных канав устраивают грейдерами.
Последовательность операций при устройстве кюветов показана на рисунке 1.3.
а — отсыпка обочин, б — профилирование корыта, в — устройство корыта на насыпи высотой 0,3—0,7 м; 1 —19 — номера проходов грейдера
Рисунок 1.2 – Схема устройства корыта грейдером с одновременным возведением насыпи
1, 2, 4, 5 — зарезание, 3,6 — перемещение, 7 — проход грейдера с откосником
Рисунок 1.3 – Схема работы грейдера при устройстве боковых водоотводных кюветов
Профилирование грунтовых дорог. При сооружении грунтовых дорог в нулевых отметках грейдеры используют как основные ведущие машины. Профилирование грунтовых дорог грейдерами заключается в разработке грунта боковых канав вдоль сооружаемого полотна дороги и перемещении его к оси дороги, а также в разравнивании грунта для придания дороге профиля с заданным поперечным уклоном.
Грейдеры тяжелого класса сооружают за смену 1,5—2 км грунтовой дороги. При первом проходе зарезание производят от внешней бровки канавы с большим заглублением отвала. При втором проходе вырезанный валик грунта перемещают отвалом по полотну насыпи. Последующие проходы заключаются в постепенном зарезании и перемещении грунта по насыпи. Таким образом сооружают полотно дороги. Зарезание заканчивают при проходе 12, и последний грунт перемещают к оси дороги двумя проходами 13 и 14, а затем разравнивают проходом 16. Профилирование заканчивают отделкой канавы с помощью откосника, установленного на отвале (проход 17), и чистовым разравниванием грунта по полотну дороги (проходы 18 и 19). При последних операциях отвал грейдера оборудуют удлинителем.














