Технологическая карта ремонта ВБ-8 (1224875)
Текст из файла
| Утверждаю:
Главный инженер сервисного локомотивного депо Дата | ТК | Технологическая карта | Всего листов | Лист | ||||||||||||
| Серия локомотива | 4ЭС5К | 9 | 1 | |||||||||||||
| Оборудование, | Выключатель быстродействующий ВБ-8 | Средний разряд работы | Трудоемкость операции | |||||||||||||
| Вид ремонта | Место проведения ремонта | |||||||||||||||
| ТР-3 | Аппаратный цех | 4 | ||||||||||||||
| Опера-ция № | Наименование работ | Технические требования | Оборудование, инструменты, запасные части, материал | Профессия, | Техника безопасности и охрана труда | |||||||||||
| 1. | Выключатель быстродействующий с электровоза снять | Быстродействующий выключатель ВБ-8 снять и разобрать в следующей последовательности: -снять дугогасительную камеру; -разобрать панель дугогашения и электромагнит, совместно с якорем и контактным рычагом. | Набор ключей, плоскогубцы | Слесарь по ремонту подвижного состава, | При ремонте выключателя быстродействующего ВБ-8, слесарь должен руководствоваться инструкцией по охране труда ремонта «Распоряжение от 6 декабря 2012г. N2474р. | |||||||||||
| 2. | Произвести проверку состояния узлов и деталей | Разобрать дугогасительную камеру. Удалить со стенок камеры наплывы металла, нагар. Металлические детали камеры при наличии оплавлений восстановить наплавкой с последующей механической обработкой или заменить новыми. Погнутые деионные решетки камер выправить. Перегоревший ленточный резистор заменить. Стенки камеры и перегородки, имеющие отколы, трещины заменить новыми. | Набор ключей, сварочная машина | Слесарь по ремонту подвижного состава, | Внешний осмотр блоков электронной аппаратуры и проверку затяжки разъемов и гаек на клеммных рейках необходимо производиться только после отключения блоков электронной аппаратуры от питающей электрической цепи. Наладку, проверку и ремонт блоков в отделении электронной аппаратуры допускается производить одному работнику. При недостаточном освещении места установки блоков электронной аппаратуры следует пользоваться переносными электрическими светильниками на напряжение не выше 12 В. В отделении ремонта блоки электронной аппаратуры при их испытаниях необходимо устанавливать на диэлектрические резиновые коврики. При испытании блока не допускается "закорачивание" инструментом токоведущих его частей. Запрещается подключать электроизмерительные приборы на напряжение, превышающее допустимое значение прибора. Присоединять электроизмерительный прибор к проверяемому блоку следует при помощи щупа одной рукой, другая рука должна быть свободна. | |||||||||||
| 3. | Осмотреть рамы, отремонтировать | Изоляционные боковины, имеющие трещины, выбоины и прогары заменить новыми. Разрешается зачистка неглубоких (до 0,5 мм) выбоин и прогаров с последующей окраской изоляционной эмалью. Резиновые прокладки под колодкой демпфера заменить новыми. Гетинаксовую изоляционную панель дугогасительной системы, имеющую расслоения, отремонтировать или заменить новой. | Шлифовальная пластинка, кисти для эмали, набор ключей | Слесарь по ремонту подвижного состава, | ||||||||||||
| 4. | Главные контакты осмотреть, отремонтировать | Главные контакты, имеющие недопустимый износ, заменить новыми. Контактные поверхности контактов подогнать друг к другу с обеспечением линии соприкосновения не менее 85% ширин контактов. При необходимости восстановить поверхность контактов наплавкой латуни с последующей шлифовкой, не нарушая профиль контакта. В положении «ОТКЛЮЧЕНО» установить неподвижный контакт в крайнее нижнее положение при этом раствор силовых контактов должен быть не менее 16 мм. Регулировку зазора производить перемещением нижнего подвижного контакта. Профиль главных контактов проверить шаблоном, нарушенный профиль восстановить. Контактное нажатие должно быть 205,8-264,6 Н (21-27 кгс). | Набор ключей, сварочная машина, шаблон, стенд | Слесарь по ремонту подвижного состава, | Согласно пунктам 1.2,3. | |||||||||||
| 5. | Осмотреть контактный рычаг | При наличии трещин и изломов пластин рычаг разобрать, пластины заменить. | Набор ключей, | Слесарь по ремонту подвижного состава, | Согласно пунктам 1.2,3. | |||||||||||
| 6. | Разборка пневмопривода выключателя быстродействующего | Установить пневмопривод быстродействующего выключателя на верстак. Произвести разборку привода, отвернув 4 болта. Извлеч поршень, шток и пружину из корпуса привода. Поверхности цилиндра, штока, поршня и других деталей протереть технической салфеткой и обезжирить. Нарушения внутренней поверхности цилиндра (риски, выбоины, задиры) не допускаются. Выработка цилиндра должна быть равномерной по диаметру не более 0,7 мм. Наружный диаметр поршня должен быть не менее 124,8 мм. Зазор между штоком поршня и отверстием для него в крышке цилиндра должен быть в пределах 0,1-0,6 мм. Крышку цилиндра с трещинами заменить. Шток, имеющий задиры, погнутость заменить. Пружину, имеющую трещины заменить. Снять смазочное кольцо с поршня. Перед установкой пропитать в приборном масле МВП в течение 12 часов. На рабочих поверхностях манжет не допускаются риски, трещины, надрывы. Внутреннюю поверхность цилиндра, поршня, манжет смазать смазкой ЖТ-79Л. | Набор ключей, салфетка, обезжириватель, смазка ЖТ-79Л | Слесарь по ремонту подвижного состава, | Согласно пунктам 1.2,3. | |||||||||||
| 7. | Сборка пневмопривода выключателя быстродействующего | Произвести сборку, убедиться в четком взаимодействии подвижных частей путем испытания сжатым воздухом давлением 0,35МПа(3,5кгс/см2). Переключение должно быть четким, без остановки в промежуточном положении. Герметичность пневмопривода проверяется изменением утечки воздуха через привод из резервуара емкостью 1 литр, наполненного сжатым воздухом давлением 0,675 МПа (6,75 кгс/см2) в течении 10 минут. Давление сжатого воздуха по истечении времени испытания должно быть не менее 0,64 МПа (6,4 кгс/см2). | Стенд испытания | Слесарь по ремонту подвижного состава, | Согласно пунктам 1.2,3. | |||||||||||
| 8. | Осмотреть и отремонтировать катушки удерживающего электромагнита | Осмотреть катушку удерживающего электромагнита, замерить активное электрическое сопротивление, которое должно соответствовать установленной норме (при 20°С: 90+7,2 (-4,5) Ом). Катушки аппаратов с ослабшими выводами (клеммами), повреждённой наружной изоляцией заменить. Ослабшие на сердечнике катушки закрепить. Сопротивление катушки должно быть в пределах 85,2 Ом. На выводах удерживающей катушки нанести краской обозначение полярности. | Омметр, кисти и краска | Слесарь по ремонту подвижного состава, | Согласно пунктам 1.2,3. | |||||||||||
| 9. | Осмотреть и отремонтировать электромагнитные вентили выключателя | Рисунок 1.1 – Электромагнитный вентиль: 1 – пробка; 2 – пружина; 3 – впускной клапан; 4 – резиновая шайба; 5 – корпус; Детали осмотреть. На корпусах не должно быть трещин, нарушения резьбы, дефектов в виде сколов на уплотнительных буртах впускного и выпускного клапана. Резиновые уплотнительные детали не должны иметь износ более 1 мм. Установка шариков осуществляется с применением смазки ЦИАТИМ-201. Отрегулировать ход клапанной системы следующим образом: ввинчивать выпускной клапан по резьбе шпильки, до отсутствия осевого перемещения подвижной системы (до касания резиновыми шайбами впускного и выпускного клапанов опорных седел корпуса). После этого отвернуть выпускной клапан на один оборот. Зафиксировать штоком положение выпускного клапана от проворачивания. Выставить рабочий зазор под якорем на резьбе штока следующим образом: ввернуть якорь до касания стопа (до отсутствия осевого перемещения). Зафиксировать положения якоря от поворота контргайкой. Проверить работу вентиля при наибольшем рабочем давлении сжатого воздуха трех-пятикратным включением электромагнита при минимальном токе; четкость включения аппарата в трех-пяти положениях якоря, поворачиваемого вручную в пределах 360о. Проверить герметичность вентилей при обесточенной катушке и при наименьшем токе согласно норм (давление в начале испытаний 1 МПа, давление в конце испытаний не менее 0,9 МПа, длительность проверки 10 мин). Проверить электрическую прочность изоляции катушек вентилей, прикладывая между выводов катушки и корпусом испытательное напряжение (электрическая прочность должна быть 1500+100 В). Под болты крепления вентилей кроме пружинных, установить и простые шайбы. Произвести затяжку болтов крепления вентилей поочередно и равномерно (прекратить затяжку болтов крепления после полной просадки их пружинных шайб). Устранить утечку сжатого воздуха между корпусами вентилей и привалочной поверхностью воздухораспределителя установкой нового резинового кольца. Если это не дает эффекта, проверить глубину цековки корпуса вентиля, которая должна быть (1,6+0,1) мм. Этот размер замерять от привалочной поверхности корпуса. Допускается доработка корпуса подшлифовкой его привалочной поверхности (если глубина цековки больше указанной) или подцековкой углубления под резиновое кольцо (если она меньше указанной). Прекратить подтяжку штуцера после исключения утечки по резьбовому соединению. Подтянуть накидную гайку для устранения утечки по медной подводящей трубе только при фиксировании штуцера вторым накидным ключом. Это исключит передачу усилия подтяжки накидной гайки резьбе корпуса. | Набор ключей, стенд испытания, | Слесарь по ремонту подвижного состава, | Согласно пунктам 1.2,3. | |||||||||||
| 10. | Отключающие пружины отсоединить, осмотреть, на место установить | Пружины нетиповые, с уменьшенным числом витков, а также с трещинами и имеющие повреждения в следствии воздействия электрической дуги заменить. Проверить упругость пружин и длину пружин в свободном состоянии. | Набор ключей | Слесарь по ремонту подвижного состава, | Согласно пунктам 1.2,3. | |||||||||||
| 11. | Осмотреть изоляционный воздухопровод | Наличие повреждений (трещины, оплавления, перегибы, уменьшения сечения) не допускаются. Гайки воздухопровода не должны иметь срывов резьбы, трещины. | Дефектоскоп | Слесарь по ремонту подвижного состава, | Согласно пунктам 1.2,3. | |||||||||||
| 12. | Разобрать шарнирные соединения | Шарнирные соединения разобрать, протереть, осмотреть, смазать и собрать. Износ осей при диаметре | Набор ключей, смазка, ветошь | Слесарь по ремонту подвижного состава, | Согласно пунктам 1.2,3. | |||||||||||
| 13. | Проверить состояние гибких шунтов, подводящих проводов | Наконечники, имеющие трещины, изломы или уменьшенную на 20 % контактную поверхность, а также нетиповую конструкцию, заменить. Наконечники, окисленные, или с неудовлетворительной пайкой подвергаются лужению. При обрыве жил шунтов и проводов у наконечников до 20 % сечения заправить так, чтобы их свободные концы плотно прилегали к целым жилам. У проводов с повреждением жил более 20 % сечения наконечники следует перепаять, если длина провода позволяет изъять повреждённый участок, не допуская присоединения проводов в натянутом состоянии. Маркировку проводов восстановить. Гибкие шунты, имеющие следы перегрева, выплавление припоя или неисправность наконечников, обрыв или обгар жил свыше 20% сечения шунта, не соответствующие чертёжным размерам, отремонтировать или заменить. | Дефектоскоп, паяльник | Слесарь по ремонту подвижного состава, | Согласно пунктам 1.2,3. | |||||||||||
| 14. | Осмотреть шунтирующие диоды | Проверить диоды КД202Р на пробой и обрыв. Повреждения, сколы и оплавления не допускаются. При обнаружении неисправностей диоды заменить новыми. | Слесарь по ремонту подвижного состава, | Согласно пунктам 1.2,3. | ||||||||||||
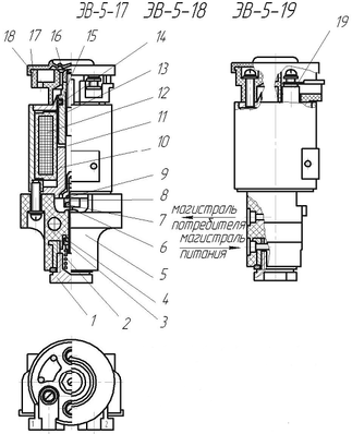
| 15. | Собрать выключатель быстродействующий | Произвести регулировку быстродействующего выключателя после ремонта. Быстродействующий выключатель собирается в обратной последовательности. Рисунок 1.2 – Выключатель быстродействующий ВБ-8: 1 – воздухопровод; 2 – электромагнит; 3 – пневмопривод; | Набор ключей, плоскогубцы | Слесарь по ремонту подвижного состава, | Согласно пунктам 1.2,3. | |||||||||||
| 16. | Установить выключатель на испытательный стенд А2084-01 | Установить неподвижный контакт в крайнее нижнее положение. Зазор между якорем электромагнита и контактным рычагом при замкнутых контактах должен быть (4+1) мм. Регулировать этот зазор шайбами, размещенными между штоком привода и его упором. Обеспечить зазор между магнитопроводом электромагнита и тягой низковольтных контактов в положении «Готов к включению». Отрегулировать длину отключающих пружин, после регулировки стержень законтрить контрогайкой и опломбировать. Замерить контактное нажатие (оно должно быть равным 205,8-264,6 Н (21 – 27 кгс) динамометром, зацепленным за проволоку, продетую в отверстие подвижного контакта. В случае необходимости регулировать контактное нажатие затяжкой пружин. После регулировки пружины опломбировать. Произвести регулировку тока уставки с помощью регулировочных винтов в магнитопроводе удерживающего электромагнита. Ток уставки должен быть (2000+/-100) А. При этом силовой ток должен протекать от нижнего вывода силовой цепи (+) к верхнему(-). После регулировки регулировочные винты опломбировать; Осмотреть низковольтные блокировки, отрегулировать раствор, провал контактов. Толщина напаек мостиковых контактов должна быть не менее 0,6 мм. Они должны составлять соответственно: (4+1) мм, (2+1) мм. Регулировать при разомкнутых главных контактах выключателя винтом. | Набор клюцей, плоскогубцы, динамометр, испытательный стенд | Слесарь по ремонту подвижного состава, | Согласно пунктам 1.2,3. | |||||||||||
| 17. | Испытать выключатель высоким напряжением | Испытательное напряжение переменного тока частотой 50 Гц для испытания электрической прочности изоляции в холодном состоянии выключателя в течение 1 минуты: - между главными выводами, магнитопроводом и выводами удерживающей катушек, между токоведущими деталями и распорками для крепления выключателя на электровозе – 6500 В; - между разомкнутыми главными контактами при установленной дугогасительной камере – 5000 В; - между выводами блокировки, между рядом расположенными контактами блокировки, выводами катушки вентиля и воздуховодом – 1500 В; - остальных – 1500 В. Аппарат считается выдержавшим проверку, если не произошло пробоя изоляции, перекрытия по поверхности или заметного нагревания изоляции. | Стенд | Слесарь по ремонту подвижного состава, | Согласно пунктам 1.2,3. | |||||||||||
| 18. | Снять ВБ-8 со стенда и покрыть детали выключателя электроизоляционной эмалью | Дугогасительные катушки покрыть эмалью ГФ-92 ХК серого или красного цвета, пневмопривод снаружи покрыть лаком БТ-987. | Эмаль ГФ-92 ХК, лак БТ-987, кисти | Слесарь по ремонту подвижного состава, | Согласно пунктам 1.2,3. | |||||||||||
| Разработал: Инженер-технолог ____________________ /Фамилия И.О./ Инженер по охране труда ______________ /Фамилия И.О./ | Проверил: Главный технолог ____________________ /Фамилия И.О./ Инженер по нормированию труда и заработной плате______________ /Фамилия И.О./ Инженер по метрологии ________________ /Фамилия И.О./ | |||||||||||||||
1
Характеристики
Тип файла документ
Документы такого типа открываются такими программами, как Microsoft Office Word на компьютерах Windows, Apple Pages на компьютерах Mac, Open Office - бесплатная альтернатива на различных платформах, в том числе Linux. Наиболее простым и современным решением будут Google документы, так как открываются онлайн без скачивания прямо в браузере на любой платформе. Существуют российские качественные аналоги, например от Яндекса.
Будьте внимательны на мобильных устройствах, так как там используются упрощённый функционал даже в официальном приложении от Microsoft, поэтому для просмотра скачивайте PDF-версию. А если нужно редактировать файл, то используйте оригинальный файл.
Файлы такого типа обычно разбиты на страницы, а текст может быть форматированным (жирный, курсив, выбор шрифта, таблицы и т.п.), а также в него можно добавлять изображения. Формат идеально подходит для рефератов, докладов и РПЗ курсовых проектов, которые необходимо распечатать. Кстати перед печатью также сохраняйте файл в PDF, так как принтер может начудить со шрифтами.















