Пояснительная записка (1223163), страница 4
Текст из файла (страница 4)
Известные примеры решений, направленных на снижение опасности последствий рассматриваемой ситуации предусматривали:
-
пломбирование ручки крана в открытом положении с обязательностью проверки целостности пломбы при приемке-сдаче локомотива;
-
установку предохранительной скобы для закрепления ручки крана в открытом положении;
-
регистрацию на ленте скоростемера факта открытого положения крана и проч.
Реального эффекта эти решения, как показывает опыт эксплуатации (крушение на железнодорожной станции Гусрское 2012 год ДВЖД), не дают. В первом и втором случаях - из-за действия "человеческого фактора" (например, машинист забывает возвратить ручку крана в открытое положение или не удостоверяется при приемке локомотива после ремонта в наличии указанной скобы). В третьем случае из-за сомнительности эффективности самого мероприятия фиксировать ошибочные действия машиниста после поездки, при расшифровке ленты скоростемера. Неумышленное переключение машинистом комбинированного крана из поездного положения в режим двойной тяги из-за «удобной подставки ног» особенно машинистов с низким ростом.
2.5 Ситуации неисправности кранов машиниста и вспомогательного тормоза
В эксплуатации зафиксированы случаи:
- неисправностей кранов машиниста (КМ): излом пружины редуктора, заклинивание его возбудительного клапана в закрытом положении, засорение сетки фильтра редуктора [5, стр.164] и др. При их возникновении исключается возможность торможения поезда из-за истощения его ТМ темпом мягкости в результате работы стабилизатора КМ при поездном положении его ручки;
-
неисправностей КВТ: излом или осадка пружины переключательного поршня, засорение калиброванного канала (диаметром 0,8 мм) к полости между поршнями, пропуск воздуха через клапан буферного устройства [5]; [9] и др. При их возникновении исключается возможность действия автотормоза локомотива, что особенно опасно при автостопном торможении.
До последнего времени никаких технических решений, направленных на устранение негативных последствий таких ситуаций, не предлагалось за исключением:
-
устройства контроля плотности тормозной магистрали (УКПТМ). Данное устройство было разработано в 1989 году на ЗабЖД. Основанием послужило крушение на ст. Каменская в 1987 году, в этом происшествии погибло 106 чел. УКПТМ после его внедрения сразу стало технологически не целесообразно из –за сложностей его перестановки в каждый состав и частой сортировки вагонов.
- система несанкционированного движения поезда (КОН). Данное устройство было разработано в 1998 году. В настоящее время данная система работает совместно с КЛУБ и ЕКС-2. Несмотря на широкое использование КОН она привносит множество случаев влияющих на обрыв автосцепок и «нагружает» работу локомотивной бригады отвлекая от должностных обязанностей в период ведения поезда.
2.6 Анализ конструкции блока блокировки тормозов (ББТ)
Эта система включают в себя (рисунок 2.2) размещенные в каждой кабине ББТ, содержащие расположенные в общем корпусе: атмосферный кран (АК) со съемным ключем-ручкой (одним на тяговое средство), пневмозащелку (ПЗ) и блокировочный контакт (БК).
Рисунок 2.2 – Изменения, вносимые ББТ в пневмосхему тормоза локомотива: «Атм.» – атмосфера; АК – атмосферный кран; ББТ – блок блокировки тормозов; БК – блокировочный контакт; КМ – кран машиниста; К-Р – ключ-ручка; ПЗ – пневмозащелка; ПМ – питательная магистраль; РКм – разобщительный кран к тормозной магистрали; РКп – разобщительный кран к питательной магистрали; ТМ – тормозная магистраль.
АК имеет два фиксированных положения: «выключено» (возможно изъятие съемного ключа-ручки) и «включено» (исключается возможность изъятия съемного ключа-ручки). АК консольно сообщен с патрубком КМ к разобщительному крану ПМ (РКп). В положении АК «выключено» питательный патрубок КМ сообщается с атмосферой. В положении АК «включено» питательный патрубок КМ разобщается от атмосферы. Перевод АК из положения «включено» в положение «выключено» (и обратно) возможен только при разряженной ТМ, давление которой воздействует на ПЗ, фиксирующую АК в указанных положениях.
Замыкающий контакт БК, обеспечивающий создание электрической цепи управления режимом тяги, замыкается в положении АК «включено» при условии наличия давления в ТМ свыше 0,35 МПа (3,5 кгс/см2). В положении АК «выключено» замыкание замыкающего контакта БК невозможно.
Результаты проработки ББТ, реализующего принцип «принуждения» только для осуществления основной операции блокировки тормозов, представлены на рисунке 2.3. Оптимальным вариантом размещения ББТ в кабине тягового средства является его консольное крепление на штуцере, приваренном к питательному патрубку КМ.
Рисунок 2.3 – Размещение системы блокировки тормозов в кабине локомотива
На ряде эксплуатируемых тяговых средств, реализация упомянутого оптимального варианта размещения ББТ затруднена, из-за ограниченного подкранового пространства, требующего необходимости переноса ряда трубопроводов. В этом случае возможен вариант размещения ББТ в кабине тягового средства на боковой стенке.
Пояснения: положение «выключено» (при отсутствии давления в тормозной магистрали): - имеется возможность поворота запорного элемента (с помощью ключа-ручки) из положения «выключено» в положение «включено» - шпиндель запорного элемента пневмозащелкой не фиксируется; - замыкание замыкающего контакта БК исключено нахождением штока пневмозащелки в исходном положении действием возвратной пружины.
Положение «выключено» (при наличии давления в тормозной магистрали):- исключается возможность поворота запорного элемента из положения «выключено» в положение «включено» действием пневмозащелки, фиксирующей шпиндель запорного элемента в положении «выключено» при наличии избыточного давления в тормозной магистрали более 0,1 Мпа (1,0 кгс/см2); замыкание замыкающего контакта БК исключено нахождением хода штока пневмозащелки в положении «выключено».
Положение «включено» (при отсутствии давления в тормозной магистрали): - имеется возможность поворота запорного элемента (с помощью ключа-ручки) из положения «включено» в положение «выключено» - шпиндель запорного элемента пневмозащелкой не фиксируется; - замыкание замыкающего контакта БК исключено нахождением штока пневмозащелки в исходном положении действием возвратной пружины.
Положение «включено» (при наличии давления в тормозной магистрали): - исключается возможность поворота запорного элемента из положения «включено» в положение «выключено» действием пневмозащелки, фиксирующей шпиндель запорного элемента в положении «включено» при наличии избыточного давления в тормозной магистрали более 0,1 Мпа (1,0 кгс/см2);- замыкание замыкающего контакта БК не ограничивается ходом штока пневмозащелки, но осуществляется лишь при наличии в тормозной магистрали избыточного давления сжатого воздуха свыше 0,35 Мпа (3,5 кгс/см2).
В положение «выключено» (рисунок 2.4): - кран вспомогательного тормоза (КВТ) разобщен от магистрали вспомогательного тормоза, отсюда отсутствует возможность управления вспомогательным тормозом локомотива; - полость под нижним поршнем КВТ сообщается с питательным патрубком (ПП) крана машиниста, уровень избыточного давления в ПП (при нахождении ручки КВТ в последнем тормозном положении) ограничивается величиной 0,4 Мпа (4,0 кгс/см2); - это вызывает (при открытом положении ручки двойной тяги) интенсивную разрядку главных резервуаров до указанного значения и исключает возможность зарядки тормозной магистрали до нормируемого уровня.
Рисунок 2.4 – Разобщение КВТ с МВТ в положении «выключено»
В положении «включено» (рисунок 2.5): - КВТ сообщен с магистралью вспомогательного тормоза, чем обеспечивается возможность управления вспомогательным тормозом локомотива; - питательный патрубок крана машиниста изолирован, чем обеспечивается возможность нахождения ручки крана двойной тяги в открытом положении и зарядки тормозной магистрали до нормируемого уровня.
Рисунок 2.5 – Разобщение КВТ с МВТ в положении «включено»
Система блокировки тормозов включает в себя размещенные в каждой кабине ББТ с подключенными воздухопроводами (рисунок 2.3).
ББТ содержит расположенные в общем корпусе 3 (рисунок 2.6): трехходовой запорный элемент шарового типа 1; управляемый шпинделем 2 со съемным ключом-ручкой 4 (одним на тяговое средство); пневмозащелку (ПЗ), включающую в себя фиксатор 5 с возвратной пружиной 6 и шток 7, обеспечивающий замыкание БК 8.
Трехходовой запорный элемент 1 (ТЗЭ) имеет два фиксированных положения: «выключено» (возможно изъятие съемного ключа-ручки) и «включено» (исключается возможность изъятия съемного ключа-ручки).
Перевод ТЗЭ из положения «включено» в положение «выключено» (и обратно) возможен только при разряженной ТМ, давление которой воздействует на ПЗ, фиксатор который 5 раскрепляет шпиндель 2 в указанных положениях. При заряженной ТМ перевод ТЗЭ, как из положения «выключено» в положение «включено», так и обратно невозможен: фиксатор 5 закрепляет шпиндель 2 в указанных положениях.
Замыкающий контакт БК 8, обеспечивающий создание электрической цепи управления режимом тяги, замыкается только в положении ТЗЭ «включено» при условии наличия давления в ТМ свыше 0,35 МПа.
2.7 Предотвращение последствий саморасцепа секций локомотива
Сообщающиеся с атмосферой питательная магистраль (ПМ) и магистраль вспомогательного тормоза (МВТ) на ведущей и ведомой секциях двух секционного локомотива при их саморасцепе практически исключают возможность автоматического затормаживания последних (рисунок 2.7). При этом: - на ведущей секции сработавший на торможение воздухораспределитель № 483 (ВР), хотя и вызывает переход крана вспомогательного тормоза в режим
повторителя, но сообщившаяся в атмосферой МВТ не обеспечивает затормаживания – уровень избыточного давления в ТЦ не превышает 0,09-0,11 МПа; - ведомая же секция в принципе не может затормозится, т.к. её ВР, хотя и срабатывает на торможение, и кран вспомогательного тормоза переходит в режим повторителя, но наполнение МВТ невозможно из-за её отключения БУ № 367.
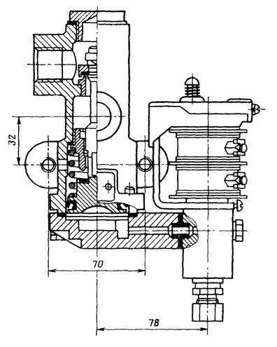
Рисунок 2.8 – Электро-блокировочный клапан КПЭ-99
В разработке изменена схема взаимодействия цепей автоматического и вспомогательного тормозов для двух и более секционных локомотивов. Измененная схема предусматривает установку на каждой секции блокировочного клапана БК (пневматическая часть от электро-блокировочного клапана КПЭ-99) для непосредственного сообщения ВР секции с магистралью тормозных цилиндров (МТЦ) через переключательный клапан (ПК).
Использование ПК одновременно обеспечивает отсечение сообщившейся с атмосферой МВТ (рисунок 2.7). При этом эффективность затормаживания секций локомотива зависит от быстродействия, режима включения и надежности действия ВР секций.
Электро-блокировочный клапан КПЭ-99 (рисунок 2.8) применяется на магистральных локомотивах и служит для подачи сжатого воздуха в систему замещения реостатного тормоза пневматическим. Площадь канала, сообщающего воздухораспределитель с тормозным цилиндром, 70 мм2 и тормозного цилиндра с атмосферой – 35 мм2. Например:
-
уровень избыточного давления, устанавливающийся в ТЦ, определяется режимом включения ВР на порожнем режиме он составляет 0,14–0,18 МПа;
-
время наполнения ТЦ даже до упомянутого уровня избыточного давления определяется суммированием времени срабатывания ВР на торможение; перехода крана вспомогательного тормоза в режим повторителя и наполнением МВТ. В результате отмеченного имеет место существенное завышение тормозного пути.
2.8 Технические требования к устройству обеспечения автоматического затормаживания секций локомотива при их саморасцепе
Основные аспекты технических требований к устройству (рисунок 2.9) обеспечения автоматического затормаживания секций многосекционного локомотива при их саморасцепе [9, 10, 11, 12], получившей наименование - система аварийного торможения (далее – система «АТ») могут быть сформулированы следующим образом: - при включённой электрической цепи управления и наличии давления в ТМ нормированного уровня (например, свыше 0,26–0,27 МПа) работа системы «АТ» должна блокироваться – система «АТ».















