5. архитектурно-строительный раздел (1222473), страница 4
Текст из файла (страница 4)
Рисунок 1.13 – Узлы сопряжения несущих конструкций каркаса
1 – колонна; 2 – цементный раствор; 3 – связевая панель перекрытия; 4 – полка ригеля; 5 – конструктивная арматура для крепления штукатурной сетки; 6 – цементный раствор по штукатурной сетке
Рисунок 1.14 – Узлы сопряжения несущих конструкций каркаса
1 – рядовая панель; 2 – колонна; 3 – пристенная плита перекрытия; 4 – полка ригеля; 5 – конструктивная арматура для крепления штукатурной сетки
1.6.5. Стены-диафрагмы жесткости
Стены-диафрагмы жёсткости представляют собой бетонные панели высотой в этаж, имеющие одно- или двухсторонние консольные полки в верхней части для опирания перекрытий.
При шаге колонн 6 м ширина панели диафрагмы соответствует расстоянию между колоннами в свету.
Принятые марки диафрагм жесткости с основными размерами приведены в таблице 1.5.
Таблица 1.5 – Диафрагмы жесткости
| Марка | Размеры, мм | Масса, т | ||
| L | H | b | ||
| 1Д56.33 | 5560 | 3270 | 140 | 7,30 |
| 1ДП56.33 | 5560 | 3270 | 140 | 6,30 |
| 2Д56.33 | 5560 | 3270 | 140 | 8,23 |
1.6.6. Стены
Стеновые сэндвич-панели – это современный, обладающий малой массой строительный материал, используемый для возведения зданий различного назначения. Стеновые сэндвич-панели выпускаются согласно ТУ 5284-013-01395087-2001.
В проекте приняты сэндвич-панели Teplant с базальтовым утеплителем. Основные характеристики сэндвич-панелей приведены в таблице 1.6.
Таблица 1.6 – Стеновые панели
| Марка | Размеры, мм | Масса м2, кг | ||
| Длина | Ширина | Толщина | ||
| ПСБ-250 | 6000 | 1000 | 250 | 36,7 |
| ПСБ 2-250 | 6000 | 1190 | 250 | 39,0 |
| ПСБ 2-250 | 6000 | 1500 | 250 | 40,3 |
Узлы сопряжения сэндвич-панелей показаны на рисунке 1.15, 1.16.
Рисунок 1.15 – Узлы сопряжения сэндвич-панелей: а) примыкание к цоколю; б) соединение стеновых панелей
1 – стеновая сэндвич-панель; 2 – герметик для наружных работ; 3 – шуруп самосверлящий; 4,5 – доборный элемент; 6 – гидроизоляция; 6 – монтажная пена; 7 – дюбель; 8 – цоколь; 9 – стальной цокольный ригель; 10 – шуруп самосверлящий; 11 – уплотнительная лента
Рисунок 1.16 – Поперечный стык стеновых панелей
1.6.6.1. Теплотехнический расчет стен
Нормируемое значение приведенного сопротивления теплопередаче ограждающей конструкции,
, (м2·°С)/Вт, следует определять по формуле:
, (1.3)
где R0тр – базовое значение требуемого сопротивления теплопередаче ограждающей конструкции, м2·°С/Вт, следует принимать в зависимости от градусо-суток отопительного периода, (
), °С·сут/год, региона строительства;
mp - коэффициент, учитывающий особенности региона строительства. В расчете по формуле (3) принимается равным 1 [12, п. 5.2].
Градусо-сутки отопительного периода, °С·сут/год:
, (1.4)
где tот, zот, - средняя температура наружного воздуха, °С, и продолжительность, сут/год, отопительного периода, принимаемые по своду правил для периода со среднесуточной температурой наружного воздуха при проектировании детских учреждений не более 10 °С (таблица 1.1);
tв - расчетная температура внутреннего воздуха здания, °С.
ГСОП = (22+4,6)*267 = 7102,2 °С·сут/год
В соответствии с [12, таблица 3, примечание 1], значение R0тр для величин, отличающихся от табличных, следует определять по формуле:
R0тр = a * ГСОП + b (1.5)
a, b – коэффициенты, значения которых следует принимать по данным таблицы для соответствующих групп зданий;
a = 0,00035, b = 1,4 [12, таблица 3, поз. 1].
R0тр = 0,00035*7102,2 + 1,4 = 3,9 м2·°С/Вт
R0норм = 3,9 * 1 = 3,9 м2·°С/Вт
Определение сопротивления теплопередаче ограждающих конструкций по проекту
Сопротивление теплопередаче однородных ограждающих конструкций определяют по формуле, м2·°С/Вт:
(1.6)
где αн – коэффициент теплоотдачи (для зимних условий) наружной поверхности ограждающей конструкции Вт/(м2
° С), αв – коэффициент теплоотдачи внутренней поверхности ограждения, Вт/(м2
° С), RК – термическое сопротивление неоднородной ограждающей конструкции, м2·°С/Вт. Для многослойной ограждающей конструкции:
RК = R1 + R2 +...+ Rn + RВП (1.7)
где R1, R2... Rn – термические сопротивления отдельных слоёв ограждающей конструкции, определяемые по формуле (8); RВП – термическое сопротивление замкнутой воздушной прослойки
(1.8)
где δ – толщина слоя, м; λ – расчётный коэффициент теплопроводности материала слоя, Вт/(м2
° С).
Ограждающая конструкция в проекте состоит из следующих слоев (рисунок 1.17):
-
сэндвич-панель Teplant с базальтовым утеплителем (ρ = 110 кг/м3) – δ = 250 мм, λ = 0,045 Вт/(м2
° С).
Рисунок 1.17 – Стеновое ограждение
м2·°С/Вт
Rк = 5,56 + 0,035 + 0,13 = 7,1 м2·°С/Вт
αв = 8,7 Вт/(м2
° С) [14, таблица 4].
αн = 23 Вт/(м2
° С) [14, таблица 6].
R0 =
м2·°С/Вт.
R0норм = 3,9 м2·°С/Вт < R0 = 5,72 м2·°С/Вт – требование удовлетворяется.
1.6.7. Крыша
В проекте принята двускатная стропильная крыша. Кровля выполнена из металлочерепицы. В качестве утеплителя приняты маты из базальтового волокна.
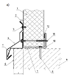
Карнизный узел крыши показан на рисунке 1.18.
Приведённое сопротивление теплопередаче ограждающих конструкций R0 следует принимать в соответствии с принятым конструктивным решением стены, но не менее требуемых значений R0тр, определяемых по двум условиям:
-
санитарно-гигиеническим и комфортным;
-
энергосбережения
Рисунок 1.18 – Карнизный узел кровли
1.6.7.1. Определение толщины утеплителя чердачного перекрытия из условия теплопередачи
ГСОП = (22+4,6)*267 = 7102,2 °С·сут/год (см. п. 1.6.6.1).
В соответствии с [12, таблица 3, примечание 1], значение R0тр для величин, отличающихся от табличных, следует определять по формуле:
R0тр = a * ГСОП + b (1.5)
a = 0,00045, b = 1,9 [14, таблица 3, поз. 1].
R0тр = 0,00045*7102,2 + 1,9 = 5,1 м2·°С/Вт
R0тр = 5,1 * 1 = 5,1 м2·°С/Вт
Перекрытие состоит из следующих слоев:
-
Армированная цементно-песчаная стяжка – δ = 30 мм, λ = 0,93 Вт/(м2
° С) [12, таблица Т.1, поз. 201]; -
Слой пергамина – δ = 1,3 мм, λ = 0,17 Вт/(м2
° С) [12, таблица Т.1, поз. 222]; -
Маты из базальтового волокна – δ = 300 мм, λ = 0,045 Вт/(м2
° С); -
Железобетонное перекрытие – δ = 220 мм, λ = 2,04 Вт/(м2
° С) [12, таблица Т.1, поз. 199].
R1 =
м2·°С/Вт
R2 =
м2·°С/Вт
R3 =
м2·°С/Вт
R4 =
м2·°С/Вт
Rк = 0,032 + 0,008 + 6,67 + 0,11 = 6,82 м2·°С/Вт
R0 =
м2·°С/Вт.
Требование удовлетворяется.
1.6.8. Лестницы
Внутренние лестницы зданий любой конструктивной системы, принятой в проекте, проектируются полносборными. В каркасных зданиях лестница в пределах этажа расчленяется на два сборных элемента – марши с полуплощадками (рисунок 1.19).
В проектируемом здании лестничные клетки размещены в модульных ячейках, ограждённых по четырём углам колоннами и стенами жёсткости. При примыкании лестницы к фасаду она ограждается стенами жёсткости с четырёх сторон (за исключением фасадной).
Лестничные марши со стороны фасада опираются на фасадные ригели, внутри здания – на полки стен жёсткости, рядовые или лестничные ригели, металлические консоли, приваренные к закладным деталям стен лестничных клеток.
Основные характеристики элементов лестниц приведены в таблице 1.7.
Таблица 1.7 – Элементы лестниц
| Марка | Размеры, мм | Масса, кг | ||
| Длина | Ширина | Толщина | ||
| ПЛ-28-22 | 2760 | 2130 | 300 | 1300 |
| ЛМ-33-60-13 | 5760 | 1350 | 1650 | 4000 |
Рисунок 1.19 – Элементы лестниц
1.6.9. Перегородки















