ВКР Шевцов (1220519), страница 5
Текст из файла (страница 5)
Согласно алгоритму работы программы FEMM первоначально выполняется постановка задачи и установление её свойств. В данном случае используется осесимметричная модель постоянного магнитного поля катушки из медного провода с магнитопроводом, выполненным из стали и пермаллоя. Далее устанавливаются геометрические размеры и пространственное положение катушки и магнитопровода на рабочем поле программы.
Рисунок 3.4 – Модель катушки
Следующим этапом является ввод данных о материалах нагрузках и граничных условиях. В качестве материалов в модели использованы материалы встроенной библиотеки программы FEMM. Для торцевых частей катушек используется 416 Stainless Steel, для цилиндрической части магнитопровода - 78 Permalloy. В качестве токопроводящего материала выбран медный обмоточный провод диаметром 0.2 мм. Указаны следующие параметры электрической цепи катушки: ток 0,7 А, количество витков 2000. Все обозначенные параметры, а так же размеры тропецевидной катушки отображены на составленной модели (рисунок 3.4). На представленном рисунке ствол (5), малая шайба (2), большая шайба (3), пермаллой (4), обмоточный провод (5). Модель обычной катушки имеет такие же габаритные размеры, однако у неё отсутствуют малые шайбы и большая шайба имеет меньший внутренний диаметр и прилегает к стволу. На конечном этапе производится разбиение модели на треугольные элементы и рассчитывается модель магнитного поля. Результаты моделирования двух катушек представлены на рисунке 3.5.
Рисунок 3.5 – Моделирование магнитных полей катушек
При анализе полученных моделей установлено, что при одинаковом количестве витков, величине протекающего тока, и других параметров, за исключением формы магнитопровода, величина магнитной индукции в центре катушки трапециевидной формы составила 0,10158 T, тогда как у катушки обычной формы этот показатель равен 0,0901889 T, то есть на один порядок меньше. Кроме того, из рисунка 3.5 следует, что форма магнитного поля трапециевидной катушки изменилась согласно выдвинутой гипотезе. А именно, ширина магнитного поля внутри катушки сузилась, относительно катушки обычной формы. Таким образом повышается эффективность перемещения дроби. Это объясняется тем, что в катушках обычной конструкции магнитное поле большой напряженности распределено по всей внутренней части катушки и при подходе дроби к её центру и одновременном прохождения импульса напряжения, дробь уже находится в поле катушки. Тогда как использование трапециевидных катушек позволяет уменьшить ширину внутренней части катушки с большой напряженностью и одновременно повысить напряженность в её центре. При проходе дроби к центру катушки и одновременном прохождении импульса напряжения в ней, дробь ускоряется ещё больше, так как ещё не достиг точки максимального напряжения магнитного поля.
Проведённое математическое моделирование показывает, что выдвинутая гипотеза полностью соответствует реальности и положительно сказывается на эффективности экспериментальной установки в целом.
3.2.2 Конструкция катушки
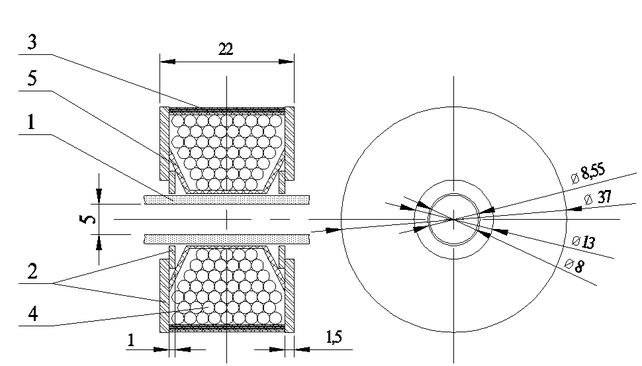
Согласно проведённым исследованиям, катушки для экспериментальной установки в количестве шести штук выполнены следующим образом. Каждая катушка снабжена индивидуальным магнитопроводом, конструкция которого представлена на рисунке 3.6. Магнитопровод катушки, расположенного вокруг диэлектрического ствола (1), состоит из двух составляющих, в качестве материалов торцевых частей использованы шайбы из оцинкованной стали (2) двух диаметров, а цилиндрическая поверхность катушки обмотана лентой из пермаллоя (3) в несколько слоёв и стянута хомутом. Обмоточные провода (4) отделены от ствола электроизоляционной лентой (5) и надёжно закреплены ей внутри магнитопровода. Так как внутренний диаметр катушки незначительно больше чем диаметр ствола, имеется возможность перемещения катушки вдоль него.
Используется медный обмоточный провод ПЭТВ-2 диаметром по меди 0,2 мм. Среднее количество витков в катушках составляет 2000. Среднее сопротивление катушек составляет 100 Ом.
Рисунок 3.6 – Конструкция катушки
3.3 Разработка датчика скорости
Важной задачей при проведении экспериментов является определение скорости полёта ферромагнитного тела после его разгона в установке. Эта задача может быть решена несколькими способами, среди них метод баллистического маятника, метод определения скорости дроби по вмятине, оставляемой им в мишени и другие. Однако наиболее технологичным и удобным является использование датчика скорости на основе полупроводниковых светочувствительных элементов и микроконтроллера (МК). Этот метод позволяет, в отличие от вышеописанных, получить значение скорости дроби почти моментально после его выхода из ствола, не прибегая при этом к каким-либо математическим расчётам или измерениям, так как все они производятся автоматически и с большой точностью.
Принцип измерения скорости движущегося объекта с помощью основе полупроводниковых светочувствительных элементов, изображённый на рисунке 3.7, предельно прост.
Рисунок 3.7 – Принцип измерения скорости движущегося объекта с помощью фотодатчиков
Две пары источник-приёмник (ИС1, ПР1 и ИС2, ПР2) расположены друг напротив друга таким образом, что излучение от источника, показанное заштрихованными стрелками, падает на соответствующий приёмник. В дальнейшем пары ИС1, ПР1 и ИС2, ПР2 именуются первым и вторым датчиком соответственно. Расстояние L между лучами двух датчиков строго фиксировано и называется базой измерения. На рисунке 3.8 показана диаграмма токов ПР1 и ПР2. В момент времени 0-t1 до прохождения дроби через первый датчик уровень сигнала через ПР1 постоянен. В момент времени t1 при пересечении дробью луча источника, сигнал ПР1 падает, так как свет перестаёт падать на его фотоприёмник. После прохождения дроби первого датчика, луч ИС1 снова попадает на ПР1, что отображается восстановлением постоянного уровня сигнала на диаграмме. Кода дробь пересекает луч второго источника в момент времени t2, сигнал второго датчика так же падает и восстанавливается после прохождения дробью датчика.
Рисунок 3.8 – Диаграмма сигналов приёмников
Измерив промежуток времени ∆t между прохождением дробью двух датчиков и зная расстояние между ними, можно определить скорость движения дроби по формуле
υ = L / t. (3.1)
Конструктивно датчик скорости можно разделить на две части: сенсорный блок на основе полупроводниковых фотоэлементов, который вырабатывает первичный сигнал, и счётный блок, который обрабатывает данные, полученные от сенсорного блока, и отображает результаты этой обработки на индикаторе. Принципиальная схема датчика скорости изображена на рисунке 3.9.
Источником питания (ИП) для датчика скорости является батарея из трёх гальванических элементов АА соединённых последовательно. Номинальное напряжение каждого элемента 1,5 В, а суммарно напряжение всей батареи составляет 4,5 В. Данный выбор обусловлен тем, что всё элементы датчика скорости являются низковольтными и не требуют напряжения питания больше 5 вольт. Так как обеспечить напряжение 5 В использованием гальванических элементов АА не возможно, уровень напряжения блока питания установлен кратным их номинальному напряжению, то есть
= 4,5 В.
Рисунок 3.9 – Принципиальная схема датчика скорости
3.3.1 Разработка сенсорного блока
Сенсорный блок состоит из источника и приёмника излучения. В качестве источника используется светодиод. Светодиоды различаются по длине волны излучения, мощности излучения, прямом напряжении и другим параметрам. Диапазон дины излучаемой волны светодиода является важным параметром, обеспечивающим надёжное срабатывание датчика при условиях засветки приёмника излучением видимого спектра. Во избежание засветки приёмника на пути полёта дроби можно поставить затемнённую камеру, внутри которой разместятся датчики. Однако рациональным решением является использование светодиода, длина излучаемой волны которого находится вне видимого спектра. Исходя из вышесказанного, выбран светодиод инфракрасного диапазона АЛ165Б. Его характеристики представлены в таблице 3.1.
Таблица 3.1 – Фотометрические и электрические параметры ИК-диода АЛ165Б
| Мощность излучения, Ре, , мВт, | 15,0 19,0 20,0 |
| Полная мощность излучения, Ре | 25,0 |
| Прямое напряжение, UD, В не более | 1,8 1,5 |
| Длина волны излучения, max, нм | 870±20 |
| Рабочий ток светодиодов, мА | 20,0 |
| Максимальный прямой ток, мА | 100,0 |
| Цоколь | КДИ-12 |
После выхода из ствола, дробь может откланяться от своего первоначального направления движения в разные стороны вследствие своего вращения. Для обеспечения точной фиксации датчиками прохождения дроби необходимо установить оптимальную область чувствительности датчика в горизонтальной и вертикальной оси с учётом геометрических размеров дроби. Согласно 3.1.1 диаметр дроби составляет 5 мм. В горизонтальной плоскости область чувствительности датчика определяется расстоянием между источником и приёмником. При выборе данного параметра важное учесть тот факт, что при увеличении расстояния между источником и приёмником излучения, рассеивание света увеличивается, а вместе с ним падает мощность светового потока на единицу площади. С учётом вышесказанного расстояние между источником и приёмником устанавливается равным 40 мм. Область чувствительности в вертикальной плоскости в случае использования одной пары источник-приёмник равна высоте светодиода. Диаметр основания диода АЛ165Б с цоколем КДИ-12 составляет 6 мм. С учетом того, что диаметр дроби составляет 5 мм, при незначительном отклонении дроби от горизонтальной оси, проведённой между источником и приёмником, датчик не будет срабатывать. Надёжное фиксирование датчиками прохождения дроби при использовании одной пары источник-приёмник затруднительно, так как область чувствительности датчика в вертикальной плоскости сопоставима с размерами дроби. Для увеличения области чувствительности в вертикальной плоскости используется большее количество пар источник-приёмник. Они размещаются вертикально друг над другом на максимально близком расстоянии, как показано на рисунке 3.10. Область чувствительности в вертикальной плоскости установлена размером 36 мм, что соответствует шести парам источник-приёмник. Таким образом, установленная область чувствительности датчика позволяет гарантированно фиксировать прохождение дроби через него. Длина базы датчика скорости устанавливается исходя из удобства монтажа первого и второго датчиков, а так же гарантированного попадания дроби в область чувствительности второго датчика. Длина базы L установлена размером 50 мм.
Светодиоды не нуждаются в управлении и подключаются к источнику питания напрямую. Так как напряжение источника питания равное 4,5 В больше допустимого напряжения питания светодиода АЛ165Б равного 1,8 В, необходимо подобрать резистор для ограничения тока через светодиоды. Возможные схемы подключения резисторов и светодиодов представлены на рисунке 3.11.
1 – фотоприёмник; 2 – светодиод; 3 – дробь
Рисунок 3.10 – Размещение светодиодов и фотоприёмников
На рисунке 3.11 а) изображена схема последовательного подключения светодиодов через один резистор. Подобный вид соединения позволяет сократить потребляемый ток и подключить большое количество светодиодов через один резистор. Все светодиоды, которые соединяются последовательно, должны быть одного типа, а блок питания должен иметь достаточную мощность и обеспечить соответствующее напряжение, равное произведению количества светодиодов на номинальное напряжение одного из них. В данном случае для подключения шести светодиодов необходимо напряжение, рассчитываемое по формуле
UL = UD n, (3.2)
где UD – типичное значение прямого напряжения, В, согласно таблице 3.3.1, UD = 1,5 В; n – количество светодиодов, шт.















