ВКР Шевцов (1220519), страница 4
Текст из файла (страница 4)
Одним из важных факторов является расстояние между катушками. Ферромагнитное тело, при одновременном наведении в двух соседних катушках магнитного поля тело перемещается на середину результирующего, при увеличении расстояния между катушками, ферромагнитное тело перемещается быстрее, чем, если бы катушки были расположены вплотную друг к другу.
Как выяснилось, на перемещение ферромагнитного тела большое влияние оказывает действие краевого эффекта: пройдя середину последней катушки, ферромагнитное тело начинает притягиваться на середину этой катушки, что уменьшает скорость метаемого тела.
Так же установлено, что на скорость перемещения ферромагнитного тела, влияет его длина, если длина ферромагнитного тела меньше продольной длины ширины катушки и больше половины длины соленоида, то значение пондеромоторной силы приложенной к ферромагнитному телу будет большим и ферромагнитное тело перемещается быстрее. Необходимо учитывать, что если ферромагнитное тело слишком длинное (длиннее катушки) тело не успеет достигнуть требуемой точки (конца катушки) и по катушке пойдет ток, и на тело будет действовать сила притягивающая его обратно.
Среди выводов по результатам анализа можно так же указать то, что при использовании единого магнитопровода, магнитный поток от катушки, по которой в настоящий момент времени протекает ток, так же распространяется и на остальные катушки. Иначе говоря, невозможно получить локальный импульс магнитного поля. Решением данной проблемы может быть использование индивидуального магнитопровода для каждой катушки.
3 РАЗРАБОТКА ЭКСПЕРИМЕНТАЛЬНОЙ УСТАНОВКИ
Разработка экспериментальной установки проводится поэтапно. Элементы установки проектируются согласно требованиям, установленным в результате анализа экспериментов проделанных на кафедре «ЭТЭЭМ» ДВГУПС в предыдущие годы. Установка должна обеспечить возможность независимого перемещения каждой катушки относительно ствола и других катушек. Катушки должны быть снабжены индивидуальными магнитопроводами для исключения магнитной связи между ними.
3.1 Разработка конструкции установки
3.1.1 Определение формы и размеров метаемого тела
Первым этапом проектирования является определение формы и размеров метаемого тела, так как этот параметр является основополагающим для расчётов остальных частей установки. От выбора диаметра метаемого тела зависит внутренний диаметр ствола, а от него, в свою очередь, зависит внутренний диаметр катушки, влияющий на её конструкцию и эффективность работы установки в целом. Согласно ГОСТ 11964-81 «Дробь стальная и чугунная техническая» в промышленности применяются следующие виды дроби:
-
литая;
-
колотая;
-
рубленная.
Так же стандарт устанавливает следующий размерный ряд диаметров дроби: 1,0; 1,4; 1,8, 2,2; 2,8; 3,2; 3,6 мм. Исходя из труднодоступности технической дроби и удобства обращения с метаемым телом в ходе экспериментов, в проекте применяются стальные шарики диаметром 5 мм от шарикоподшипников. Шарики изготовлены из углеродистой стали марки ШХ15, ферромагнитные свойства которой достаточны для применения в работе установки. Шарообразная форма метаемого тела соответствует форме литой дроби, а размер немногим больше указанного в стандарте.
3.1.2 Подбор материала ствола
В соответствии с диаметром шарика, подобран материал ствола установки. Основными требованиями, предъявляемыми к этому элементу установки, являются его немагнитные свойства, а так же механическая прочность. Магнитные свойства материала ствола напрямую влияют на эффективность установки, так как ствол расположен внутри магнитной системы, являющейся основным элементом установки. Если ствол будет восприимчив к магнитным полям, то эффективность магнитной системы падает, так как линии магнитной индукции распределяются не перпендикулярно оси симметрии ствола, проходя его насквозь, а распределяются по поверхности, вследствие чего напряженность магнитного поля внутри него падает, что негативно сказывается на скорости дроби.
Механическая прочность материала так же важна, так как при полёте внутри ствола, дробь на большой скорости сталкивается с его стенками, что может повлечь за собой повреждение или разрушение ствола. Кроме того, ствол должен обладать достаточно низкой шероховатостью для снижения трения между его стенками и дробью.
Рассматриваются варианты использования латуни, стекла, бумаги и пластика. Использование латуни является нежелательным, так как для повышения механических свойств и химической стойкости латуней в них часто вводят легирующие элементы, в том числе и никель повышающий восприимчивость материала к магнитным полям. Использование стекла так же не желательно вследствие его хрупкости. Существует возможность изготовления ствола из бумаги, однако, недолговечность и малая прочность этого материала не позволяют применить его в разрабатываемой установке. Наряду со всеми приведёнными выше вариантами, использование пластика является наиболее целесообразным из-за его немагнитных и механических свойств, а так же дешевизне и легкодоступности.
Для обеспечения лучших показателей разгона дроби, расстояние между ним и внутренней частью катушки должно быть минимальным. С учетом этого требования подобрана пластиковая трубка с внутренним диаметром 8 мм и толщиной стенки 1,5 мм.
3.1.3 Конструкция установки
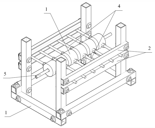
Независимое перемещение каждой катушки относительно ствола и других катушек обеспечивается разработанной конструкцией станины установки (рисунок 3.1). Станина (1) собрана из стальных труб квадратного сечения размерами 20х20 мм скреплённых винтовым соединением. Она состоит из прямоугольной рамы, являющейся основанием установки, с закреплёнными в её углах с внутренней стороны стойками. К каждой стойке по длинной стороне крепятся по две направляющих (2). Катушки (3) закрепляются между шпильками (4) имеющими метрическую резьбу. Расстояние по вертикали между направляющими составляет 10 мм, тогда как диаметр шпильки 8 мм. Это позволяет шпилькам, опираясь на направляющие, свободно перемещаться по ним, а так же закрепляться неподвижно на них барашками. Барашки прикручиваются к каждой шпильке с внешних сторон таким образом, что они сдавливали направляющие, не позволяя шпильке перемещаться в горизонтальной плоскости. В конструкции используются две направляющие для фиксации шпилек по вертикали. При закручивании барашков, шайба, расположенная на шпильке между направляющей и барашком создаёт давление, как на нижнюю, так и на верхнюю направляющую. Разработанная конструкция обеспечивает возможность перемещения катушек вдоль оси ствола (5), ограничивая их перемещение горизонтальной плоскостью и исключая вращение катушек по вертикальным и горизонтальным осям, что существенно расширяет возможности для проведения экспериментов на установке.
Рисунок 3.1 – Общий вид установки
Катушки стягиваются хомутами (рисунок 3.2), состоящими из резиновой прокладки (1), двух стальных дуг (2) с вмонтированными в них гайками (3), а так же стягивающих винтов (4). Резиновая прокладка обеспечивает электрическую изоляцию катушки от станины, стальные дуги делают конструкцию хомута жесткой, а вмонтированные стальные гайки позволяют соединять шпильки с хомутом, обеспечивая жесткость закрепления катушки на станине. Конструкция хомута позволяет при необходимости менять катушки, что облегчает проведение экспериментов на установке.
Рисунок 3.2 – Хомут
3.2 Разработка конструкции катушки
В ходе создания установки на этапе проектирования катушки выдвинута гипотеза, согласно которой магнитное поле, обладающее большим градиентом, эффективней ускоряет ферромагнитные тела попадающие в него. Достигнуть повышения градиента магнитного поля предложено использованием особой формы магнитопровода катушки, а именно приданием ему формы трапеции. Предполагается, что линии магнитной индукции выходящие из торцов магнитопровода расположенного ближе к центру катушки создают внутри него поле большей напряженности. Использование двух шайб разного диаметра в торцевой части магнитопровода позволяют создать особую форму катушки, представляющую в сечении трапецию. Магнитное поле такой катушки по большей части сосредоточенное в центре, а не распределённое по его ширине (рисунок 3.3 а). Таким образом, теоретически создаётся больший градиент магнитного поля по сравнению с катушками обычной формы (рисунок 3.3 б), что должно положительно сказаться на ускорении дроби.
Рисунок 3.3 – Предполагаемое распределение линий магнитной индукции в катушках
3.2.1 Моделирование катушки
В настоящее время для исследования распространения магнитных полей в электрических машинах, на стадии проектирования, применяются математические модели, отличающиеся разным уровнем допущений и сложности вычислений. Можно выделить два типа численных моделей
- двух- и трехмерные модели с расчетом магнитного поля методами конечных разностей или конечных элементов (численные методы расчета);
- модели, основанные на детализированных магнитных схемах замещения.
В первом случае, при известных граничных и начальных условиях чаще всего решается дифференциальное уравнение в частных производных для векторного магнитного потенциала в заданной области.
При расчете методом конечных элементов строится сеть конечных элементов: пространство, занимаемое полем, разбивается с помощью прямых и кривых линий при двумерной задаче, а также с помощью плоских или кривых поверхностей при трехмерной задаче, на отдельные части, имеющие достаточно малые, но конечные размеры. Эти части называются конечными элементами. При решении двумерной задачи конечные элементы чаще всего имеют форму треугольников или прямоугольников, а при трехмерной — форму параллелепипедов, тетраэдров, все боковые поверхности которых представляют собой треугольники. Стороны плоских конечных элементов могут также ограничиваться кривыми линиями, а наружные поверхности объемных могут быть изогнутыми. Конечные элементы не перекрывают друг друга. Особые точки конечных элементов (в этих точках рассчитываются значения искомых параметров) называются узлами, или узловыми точками. Узлы совпадают с вершинами конечных элементов первого порядка. Далее для пояснения основной идеи метода конечных элементов будем иметь в виду расчет двумерного безвихревого магнитного поля с помощью треугольных конечных элементов первого порядка. Каждый такой элемент имеет три вершины-узла. Скалярный магнитный потенциал каждого конечного элемента представляется в виде полинома с постоянными в пределах этого элемента коэффициентами. Для треугольного (1)-го элемента потенциал в декартовой системе координат представляется полиномом первого порядка (линейным)
φM(i)=ai+bix+ciy,
где ai,bi,ci - пока неизвестные постоянные коэффициенты.
Основная задача расчета методом конечных элементов — определить эти коэффициенты для всех конечных элементов, так как это означает возможность расчета скалярного магнитного потенциала в любой точке поля.
Задачи магнитостатики могут быть решены в линейной и нелинейной постановках. В нашем случае источником поля служат распределенные токи. При решении этих задач используется уравнение Пуассона для векторного магнитного потенциала A (B = rot A, B - вектор магнитной индукции). В рассматриваемых задачах вектор индукции B всегда лежит в плоскости модели (xy или zr), а вектор плотности тока j и векторный потенциал A перпендикулярны к ней. Отличны от нуля только компоненты jz и Az в плоско-параллельном случае или jθ и Aθ в осесимметричных задачах. Мы будем обозначать их просто как j и A. Для осесимметричного задач уравнение имеет вид:
,
где компоненты тензора магнитной проницаемости μx и μy (μz и μr), составляющие коэрцитивной силы Hcx и Hcy (Hcz и Hcr), а также плотность тока j - постоянные величины в пределах каждого из блоков модели.
Среди компьютерных программ расчета магнитных полей в настоящее время наибольшее распространение получили программы, в которых используется метод конечных элементов: ANSYS, FEMM, Ansoft, Vector Fields, Cosmosm, FEMLAB, ELCUT и др. Известны также программы, в которых используется метод интегральных уравнений. Конечно- элементные программы можно разбить на две группы: программы, специально предназначенные для расчета магнитных полей, и программы общего назначения, в которых метод конечных элементов используется для решения многих научно-технических задач, описываемых дифференциальными уравнениями в частных производных.
В качестве программного комплекса для компьютерного моделирования магнитного поля катушки выбрана программа FEMM, позволяющая с достаточной точностью произвести моделирование электромагнитной системы с необходимыми параметрами. Одним из наиболее важных достоинств выбранной программы является её доступность и отсутствие необходимости покупки дистрибутива, так как она бесплатна и находится в открытом доступе для скачивания в сети Internet.















