Восстановление изношенных элементов рабочих органов путевых (1220280), страница 9
Текст из файла (страница 9)
Следовательно, источники питания сварочной дуги с крутопадающей внешней характеристикой используются, как правило, при ручной сварке, при сварке неплавящимся электродом в среде защитных газов и сварке под флюсом при сравнительно небольших плотностях тока.
Источники питания с другими типами внешних характеристик рекомендуются для сварки и наплавки
под флюсом на форсированных режимах со значительной плотностью тока, сварки тонкой проволокой, электрошлаковой и др.
Таким образом, для определенного способа сварочно-наплавочных работ должен быть подобран источник питания с такой внешней характеристикой, при которой система “дуга – источник питания” в рабочем режиме будет устойчива.
Кроме отмеченного, источники питания должны удовлетворять следующим основным требованиям:
- возможности функционирования при периодических коротких замыканиях сварочной цепи, происходящих как в процессе сварки, так и при зажигании дуги;
- значение тока короткого замыкания должно быть в 1,5–2 раза больше значения рабочего тока;
- напряжение холостого хода источника должно позволять легко зажигать дугу, обеспечивать устойчивое ее горение и быть безопасным для сварщика при соблюдении им правил техники безопасности;
- возможности регулирования сварочного тока в широком диапазоне.
Принимается трансформатор для ручной дуговой сварки с падающими внешними характеристиками ТД-300 с техническими характеристиками представленными в таблице 4.6.
Таблица 4.6 Технические характеристики трансформатора ТД-300
| Климатическое исполнение, категория размещения | Режим работы ПН, % | Номинальный сварочный ток, А | Пределы регулирования сварочного тока, А | Номинальное рабочее напряжение, В | Первичная мощность, кВА | КПД, % не менее |
| У2, Т2 | 60 | 315 | 0 - 365 | 32 | 20,5 | 88 |
4.9 Ручная сварка покрытыми электродами
Ручная дуговая сварка выполняется плавящимся или неплавящимся (угольным, графитовым, вольфрамовым, гафниевым) электродом. При сварке плавящимся электродом (рисунок 4.10) дуга горит между ним и изделием. Формирование металла шва осуществляется за счет материала электрода и расплавления основного металла в зоне действия дуги. При сварке неплавящимся электродом для формирования металла шва в зону дуги извне подается присадочный материал.
Наибольшее применение нашла сварка плавящимся электродом, так как ее можно применять во всех пространственных положениях, сваривая черные, цветные металлы и различные сплавы. При этом используются электроды диаметром 1÷ 12 мм. Однако основной объем работ выполняется электродами диаметром 3÷ 6 мм.
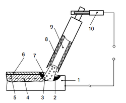
1– основной металл; 2 – сварочная ванна; 3 – электрическая дуга; 4 – проплавленный металл; 5 – наплавленный металл; 6 – шлаковая корка; 7 – жидкий шлак; 8 – электродное покрытие; 9 – металлический стержень электрода; 10 – электрододержатель
Рисунок 4.10 Схема ручной дуговой сварки (наплавки) штучным электродом.
Электроды классифицируются по материалу, из которого они изготовлены, по назначению, по виду покрытия, по свойствам металла шва, по допустимым пространственным положениям сварки или наплавки, по роду и полярности тока.
По назначению электроды подразделяются на следующие группы:
для сварки углеродистых и низколегированных конструкционных сталей – У;
для сварки теплоустойчивых легированных сталей – Т; для сварки высоколегированных сталей с особыми свойствами – В;
для наплавки слоев с особыми свойствами – Н.
По толщине покрытия существуют следующие группы электродов:
с тонким покрытием – М;-
со средним покрытием – С;
с толстым покрытием – Д;
с особо толстым покрытием – Г.
Покрытия могут быть кислые – А, основные – В, целлюлозные – Ц, рутиловые – Р и прочие – П.
В настоящее время при ремонте техники на железнодорожном транспорте находят наибольшее применение кислые, основные и рутиловые покрытия.
Кислое покрытие состоит в основном из оксидов металла, алюмосиликатов и раскислителей. Газовая защита осуществляется за счет сгорания органических составляющих покрытия.
Сварку электродами с кислым покрытием можно производить при помощи постоянного и переменного тока. В процессе сварки сварочная ванна бурно кипит вследствие активного раскисления металла углеродом, что способствует хорошей дегазации металла шва. Поэтому даже при сварке по окалине или ржавчине получаются сравнительно плотные швы, уступающие по характеристикам пластичности и ударной вязкости металла шва электродам с другими видами покрытий. При использовании электродов с кислым покрытием существует склонность к образованию кристаллизационных трещин, большое разбрызгивание металла, значительное выделение в процессе сварки вредных марганцевых выделений. К электродам с кислым покрытием относятся электроды следующих марок: ОМА-2, ЦМ-7,ОММ-5 и др.
Основное покрытие состоит преимущественно из мрамора, плавикового шпата, раскислителей и легирующих элементов (ферромарганец, ферросилиций, феррованадий и др.). Газовая защита расплавленного металла обеспечивается углекислым газом и окисью углерода, которые образуются в результате диссоциации карбонатов.
Электроды с основным покрытием (УОНИ13/45, СМ-11, УОНИ13/55К, ВН-48, ОЗС- 33, ОЗС-25, ОЗС-18, УОНИ13/55У, УОНИ13/65, ВСОР-65У и ряд других) обеспечивают получение наплавленного металла с малым содержанием газов и вредных примесей, с высокими пластическими характеристиками и ударной вязкостью при нормальной и отрицательных температурах, с хорошей стойкостью против образования кристаллизационных трещин и старения. Поэтому такие электроды предназначаются для сварки конструкций из углеродистых и конструкционных сталей, жестких конструкций из литых углеродистых и низколегированных высокопрочных сталей.
Недостатком этого вида покрытий является повышенная чувствительность к порообразованию при увлажнении покрытия, увеличении длины дуги, при наличии окалины, ржавчины или масла на кромках свариваемых изделий.
Сварка электродами с основным покрытием ведется, как правило, на постоянном токе обратной полярности. Чтобы использовать такие электроды для сварки на переменном токе, в покрытие вводятся компоненты, содержащие легкоионизирующие элементы: калиевое жидкое стекло, кальцинированную соду, поташ и др.
Перед сваркой и наплавкой необходима прокалка электродов: с рутиловой обмазкой при t = 80 ÷120 ° С, с карбонато-рутиловым покрытием при t = 200÷250 ° С и с основным – при t = 300÷350 ° С. Время прокаливания 2÷2,5 часа.
Несмотря на широкое распространение ручной дуговой сварки при производстве сварочно-наплавочных работ, она имеет ряд недостатков: сравнительно низкое качество наплавленного металла по причине слабой защиты сварочной ванны от воздействия окружающей среды; большое колебание сварочного тока; значительную вероятность возникновения непроваров, подрезов и других дефектов соединения; большие потери (до 30%) присадочного материала на угар, разбрызгивание, огарки; малую производительность из-за невозможности использования высокой плотности тока и перерывов при смене электродов; сложность технологического процесса, что требует длительного времени подготовки сварщиков и др. Все это следует учитывать при выборе способа сварки и наплавки.
4.10 Расчет режимов ручной дуговой сварки (наплавки)
При ручной дуговой сварке (наплавке) к параметрам режима сварки относятся сила сварочного тока, напряжение, скорость перемещения электрода вдоль шва (скорость сварки), род тока, полярность и др.
Диаметр электрода выбирается в зависимости от толщины свариваемого металла, типа сварного соединения и положения шва в пространстве.
Толщина листа: 10÷15мм.
Диаметр электрода: 5 мм.
В многослойных стыковых швах первый слой выполняют электродом 3–4 мм, последующие слои выполняют электродами большего диаметра.
Сварку в вертикальном положении проводят с применением электродов диаметром не более 5 мм. Потолочные швы выполняют электродами диаметром до 4 мм.
При наплавке изношенной поверхности должна быть компенсирована толщина изношенного слоя плюс 1–1,5 мм на обработку поверхности после наплавки.
Сила сварочного тока, А, рассчитывается по формуле
(4.7)
где К – коэффициент, равный 25–60 А/мм; dЭ – диаметр электрода, мм.
Коэффициент К в зависимости от диаметра электрода dЭ принимается равным К= 50 А/мм.
Силу сварочного тока, рассчитанную по этой формуле, следует откорректировать с учетом толщины свариваемых элементов, типа соединения и положения шва в пространстве.
Т.к. при сварке в вертикальном или потолочном положении значение сварочного тока должно быть уменьшено на 10–15%, тогда коэффициент К = 42,5.
Расчет скорости сварки, м/ч, производится по формуле
(4.8)
где αН – коэффициент наплавки, г/А·ч (αН = 11 г/А·ч); FШВ – площадь поперечного сечения шва при однопроходной сварке (или одного слоя валика при многослойном шве), см2(FШВ=0,3см2) ; ρ – плотность металла электрода, г/см3 (для стали ρ =7,8 г/см3).
Масса наплавленного металла, г, для ручной дуговой сварки рассчитывается по формуле
(4.9)
где FНП – площадь наплавляемой поверхности, см2(FШВ=0,3см2); l – длина шва, см (l=4см); ρ – плотность наплавленного металла, г/см3 (для стали ρ =7,8 г/см3).
Время горения дуги, ч, (основное время) определяется по формуле:
Полное время сварки (наплавки), ч, приближенно определяется по формуле:
(4.10)
где tO – время горения дуги (основное время),ч; kП – коэффициент использования сварочного поста, который принимается для ручной сварки 0,5 ÷ 0,55.
Расход электродов, кг, для ручной дуговой сварки (наплавки) определяется по формуле:
(4.11)
где kЭ – коэффициент, учитывающий расход электродов на 1 кг наплавленного металла (kЭ=1,6);
Расход электроэнергии, кВт· ч, определяется по формуле
(4.12)
где UД– напряжение дуги, В (UД =32В); η– КПД источника питания сварочной дуги (η = 0,8); WO– мощность, расходуемая источником питания сварочной дуги при холостом ходе, кВт (WO = 0,2кВт); Т – полное время сварки или наплавки, ч.
5 Экономический эффект от внедрения новых электродов для восстановления и упрочнения подбоек машин
Экономическая эффективность проведенных исследований и разработок, определяется от повышения износостойкости деталей рабочих органов путевых машин. Расчет экономической эффективности проводился для технологических процессов упрочнения подбоек машин типа ВПР, ВПРС, Duomatic, Unimat.
5.1 Расчеты по базовой технологии
Экономическая эффективность внедрения базовой технологии определяется по формуле:
, руб., (5.1)
где
,
– цена новых и отремонтированных деталей, соответственно, руб.;
,
– остаточная стоимость после эксплуатации новых
и отремонтированных деталей, соответственно, руб.;
,
– наработка новой и упрочненной детали, соответственно, га.
Таблица 5.1 Нормы времени и разряды работ на выполнение операций
технологического процесса ремонта подбойки машины предусматривающего наплавку изношенной
| № операции | Наименование операции | Разряд работы | Норма времени, мин. | Часовая тарифная ставка, руб./ч |
| 05 10 | Очистная Дефектовочная | 2 4 | 5,01 1,502 | 87,66 112,97 |
Продолжение таблицы 5.1
| № операции | Наименование операции | Разряд работы | Норма времени, мин. | Часовая тарифная ставка, руб./ч |
| 15 20 25 30 35 | Слесарная Заточная Сварочная Слесарная Контрольная | 3 4 3 3 4 | 1,304 3,01 17,01 1,304 1,506 | 98,47 112,97 98,47 98,47 112,97 |
В Хабаровском крае средняя цена одной подбойки на 2015 год,составляет 7753,9 руб. Для определения цены ремонта по базовой технологии детали необходимо рассчитать себестоимость ее упрочнения(
) по формуле:
,













