ДП вариант гидропередачи одноковшового экскаватора (1219860), страница 7
Текст из файла (страница 7)
Во всех описанных выше машинах привод рекуперирует, аккумулирует и использует энергию торможения.
2.2 Ориентировочный расчёт энергетических затрат экскаватора при копании
Для того чтобы использовать энергосберегающие устройства, необходимо предварительно оценить энергозатраты, потраченные на цикловые операции: копание, поворот с гружёным ковшом, выгрузка, разворот с порожним ковшом.
Для оценки энергозатрат необходимо выбрать аналог экскаватора 4 типоразмерной группы с ковшом ёмкостью 1 м. куб. В качестве аналога на котором будет совершенствоваться гидропередача целесообразно принять зарубежную технику, так как экскаваторная техника иностранного производства является наиболее прогрессивной и содержит в себе самые передовые инновации.
Экскаватор необходимо выбирать, исходя из условий в которых машина будет работать, грунта, производительности, экологических и иных причин. Так как машина работает в условиях вечной мерзлоты, которая в летний период оттаивает, то следует выбрать гусеничный экскаватор, так как площадь траков больше площади колёсных и пневмоколёсных экскаваторов, а следовательно меньше удельное давление на грунт, что может предотвратить трудности передвижения экскаватора по оттаявшему грунту. Так как в условиях севера преобладают низкие температуры то необходимо выбрать экскаватор северного исполнения, так как северное исполнение машины подразумевает применение других, хладоломких сталей, более совершенные уплотнения и гидроагрегаты, а также утепление кабины оператора, что в условиях значительных отрицательных температур в течение всего дня просто необходимо.
Поэтому в качестве аналога был выбран экскаватор иностранного производства HYUNDAI R220LC-9SH арктического исполнения.
Краткие технические характеристики указаны в таблице 1.
Таблица 1. Технические характеристики экскаватора HYUNDAI R220LC-9SH арктического исполнения
| Страна-производитель | Южная Корея |
| Эксплуатационная масса | 21900 кг |
| Объем ковша | 0,92 м3 |
| Расчетная производительность | 210 м3/час |
| Модель и мощность двигателя | Hyundai D6BV-C, 148 л.с. |
| Скорость вращения | 11,6 об/мин |
| Скорость передвижения | 5,4 км/час |
| Дополнительные характеристики | Арктическое исполнение (-40°) |
Габаритные размеры экскаватора представлены в таблице 2 и указаны на рисунке 12.
Таблица 2. Габаритные размеры экскаватора HYUNDAI R220LC-9SH
| Габаритные размеры | ||
| Габаритная ширина (со стандартными башмаками) | B | 2990 |
| Габаритная длина, мм. | A | 9530 |
| Габаритная высота, мм. | C | 3030 |
| Ширина поворотной платформы, мм. | D | 2740 |
| Высота по крыше кабины, мм. | E | 2920 |
| Дорожный просвет под противовесом, мм. | F | 1060 |
| Высота по крыше моторного отсека, мм. | G | 2320 |
| Минимальный дорожный просвет, мм. | H | 480 |
| Длина задней части поворотной платформы, мм. | I | 2770 |
| Радиус поворота платформы, мм. | I’ | 2830 |
| Опорная длина гусеничной ленты, мм. | J | 3650 |
| Длина ходовой части, мм. | K | 4440 |
| Ширина ходовой части, мм. | L | 2990 |
| Ширина колеи, мм. | M | 2390 |
Продолжение таблицы 2.
| Ширина стандартного башмака, мм. | N | 600 |
| Скорость передвижения, км/ч. | 3.8/5.4 | |
| Скорость вращения, об/мин. | 11.6 | |
| Преодолеваемый подъем, ° | 35 | |
| Давление на грунт (со стандартными башмаками), ат. | 0.46 | |
| Максимальная сила тяги, кг. | 21100 |
Рисунок 12. Габаритные размеры экскаватора HYUNDAI R220LC-9SH.
Затраты энергии на работу машины за цикл можно определить по зависимости:
(2.1),
где
- полезная работа, выполненная за рабочий цикл;
- работа, затраченная на копание;
- работа, затраченная на подъём грунта из забоя;
- работа, затраченная на подъём рабочего оборудования выше уровня забоя;
- работа, затраченная на поворот платформы с гружёным ковшом на разгрузку;
- работа, совершённая при разгрузке ковша;
- работа, затраченная на разворот в забой;
- работа, совершенная при установке рабочего оборудования в исходное положение.
Копание является частью технологического процесса, который не зависит от установки аккумулирующих устройств. Работа, совершённая при копании, определяется зависимостью:
(2.2),
где
- коэффициент плотности грунта, для грунта 3-й категории коэффициент плотности составит
;
- ширина ковша, принимается согласно технической характеристике /2/, для объёма ковша
, ширина принимается
=1,15 м;
- толщина стружки, целесообразно принять среднее значение
= 0,5 м.;
- длина траектории подъёма ковша при копании, длина определится согласно схеме, показанной на рисунке 1. Высота подъёма ковша с грунтом принимается обобщённо и ориентировочно равна длине рукояти с ковшом, длину рукояти можно определить из подобия, в зависимости от объёма ковша, длину
копания примем приближённо равную
,
=3 м.
Полезная работа, совершённая при копании равна:
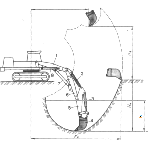
1,6- составная стрела, 2- гидроцилиндр подъёма рукояти, 3- гидроцилиндр ковша, 4- ковш, 5- рукоять, 7- гидроцилиндр составной стрелы, 8- гидроцилиндр подъёма стрелы.
Рисунок 13. Схема копания обратной лопатой
Работа
, совершённая на подъём грунта из забоя также не зависит от аккумулирования и определится выражением:
(2.3),
где
- вместимость ковша,
;
- коэффициент наполнения ковша, можно принять
=1;
- коэффициент разрыхления грунта, для третьей категории
=1,25;
- плотность грунта,
=1600 кг/
;
- высота подъёма рабочего оборудования,
=1 м.;
- потери в шарнирах крепления стрелы, рукояти, и ковша, принимается
=0,97;
Работа, совершаемая при подъёме грунта из забоя равна:
Работа
, затраченная на подъём рабочего оборудования выше уровня забоя не зависит от аккумулирования и определится выражением,
(2.4),
где
- массы стрелы, рукояти с ковшом соответственно, массы можно определить аналитически, по обобщённым значениям, массу рабочего оборудования можно найти также обобщённо.
Масса рабочего оборудования принимается 28 – 32 % от массы экскаватора, при массе экскаватора 21900 кг. принимается:
т.
Масса ковша обратной лопаты принимается согласно техническим характеристикам
т.
Вес стрелы и рукояти:
кН.
Вес стрелы:
кН.
Вес рукояти:
кН.
Вес грунта при наполнении на 100 %:
кН
Вес ковша с грунтом:
кН.
Вес рукояти с ковшом:
кН.
- расстояния до центров тяжести стрелы, рукояти с гружёным ковшом соответственно, высоту подъёма стрелы можно принять равной 3 м., т.е. высоте погрузки в транспортное средство. Высоту подъёма рукояти можно принять 1/3 от высоты подъёма стрелы, т.е. 1 м.
Рисунок 14. Подъём рабочего оборудования из забоя.
Работа, затраченная на подъём рабочего оборудования выше уровня равна:
кДж.
Работа
, которая совершается на поворот платформы с гружёным ковшом на разгрузку может аккумулироваться и поэтому на механизм поворота возможна установка гидроаккумулятора. Работа при повороте платформы определится выражением (2.5). Схема разворота показана на рисунке 3.
- расстояние, которое пройдёт рабочее оборудование в период ускорения;
- расстояние, пройденное в период установившегося режима гидромотора;
- расстояние, пройденное в период торможения.
Рисунок 15. Схема разворота экскаватора на выгрузку
(2.5),
где
- мощность затраченная на поворот платформы с гружёным ковшом
- время поворота платформы, можно принять рекомендуемое значение,
= 2 с.;
Мощность гидромотора поворота платформы определяется зависимостью:
(2.6),














