ПЗ (1219498), страница 3
Текст из файла (страница 3)
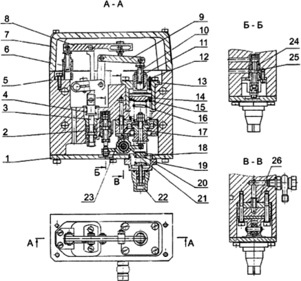
Рисунок 1.3 – Объединенный регулятор частоты оборотов: 1 – корпус нижний; 2 – плита; 3 – корпус средний; 4 – гидроусилитель; 5, 10 – винты; 6 – проставок; 7 – крышка; 8 – стрелка; 9 – шкала; 11, 17 – болт; 12 – сухарь; 13 – планка; 16 – корпус верхний; 18 – сектор; 19 – пробка [1]
Наглядная схема ОРЧО в разрезе представлена на рисунке 1.4.
Рисунок 1.4 – ОРЧО в разрезе: 1,6 – заглушки; 2, 5, 8, 24 – поршни; 3, 52, 55 – пружины, 4, 20, 23, 27, 35, 41, 42, 56 – втулки; 7,10, 13,18, 31, 57, 58 – рычаги; 9 – кулачок; 11, 59 – кронштейны; 12 – шпилька; 14, 16, 29 – тяги; 15 – пробка; 17 – конус; 19 – толкатель; 21 – планка; 22, 34, 54 – золотники; 25 – траверса; 26 – тарелка; 28 – винт; 30 – болт; 32 – опора золотника; 33, 46 – подшипники; 36, 38, 47 – шестерни; 37 – пружина всережимная; 39 – валик с шестерней; 40, 48 – кольца уплотнительные; 43 – крышка; 44 – манжета; 45 – валик приводной; 49 – пластина треугольная; 50 – упор; 51 – заклепка; 53 – гайка [1]
Рисунок 1.5 – Средний корпус: 1 – планка; 2 – втулка неподвижная; 3 – демпфер; 4 – шток; 5 – груз; 6 – золотник; 7 – шестерня; 8 – серьга; 9, 34 – втулки; 10 – поршень силовой; 11, 31 – заглушки; 12, 20, 23 – кольца уплотнительные; 13, 27 – рычаги; 14 – корпус; 15, 16 – штуцеры; 17 – тяга; 18, 33 – пружины; 19 – кронштейн; 21 – поршень аккумулятора; 22 – пакет пружин; 24, 26 – валики; 25 – сектор; 28 – плита; 29 – втулка подвижная; 30 – букса; 32 – поршень буферный; 35 – поршень дополнительный [1]
Измеритель частоты вращения представлен на рисунке 1.6.
Рисунок 1.6 – измеритель частоты вращения: 1 – шток; 2, 23 – тарелки; 4 – шестерня; 5 – колпак; 6 – траверса; 7, 8 – пружины; 8, 24 – шарикоподшипники; 10, 21 – кольца; 11 - кулак; 12 – скоба; 13 – втулка; 14 – груз; 15 – ось; 16 – втулка подвижная; 17 – букса; 18 – золотник; 19 – втулка неподвижная; 20 – корпус; 22 – прокладки; 25 – стакан; А – поверхность опорная буксы; Б – отверстие буксы для подвода масла к поверхности А и на заполнение демпфера; В – пояски золотника с лысками; Г, Ж - отверстия в буксе для подвода масла из аккумулятора; Д – отверстие сливное; Е – поясок золотника, управляющий поршнем дополнительным; И – поясок золотника, управляющий поршнем силовым [1]
Верхний корпус представлен на рисунке 1.7.
Рисунок 1.7 – Верхний корпус1 – гидроусилитель; 2, 11, 44 – тяги; 3, 4, 43, 48 – винты; 5, 31, 45 – поршни; 6 – кулачок; 7, 55 – кронштейны; 8 – шпилька; 9, 23 – гайки; 10, 39, 51, 56, 65, 66, 67, 68 – рычаги; 12, 16, 18, 57 – планки; 13 – конус; 15 – толкатель; 17, 21, 22, 42, 54, 64 – втулки; 19, 53 – золотники; 20, 38 – пружины; 24 – корпус верхний; 25 – плита; 27 – шток; 28 – корпус клапана; 29 – шарик; 30 – крышка; 32 – игла; 33 – пробка; 34 – кольцо; 35 – манжета; 37 – датчик ин-дуктивный; 40, 50 – болты; 41, 63 – валы; 46 – фланец; 47, 58 – траверсы; 52 – опора золотника; 59 – клапана; 60 – шестерня; 61 – блок шестерен [1]
Гидроусилитель представлен на рисунке 1.8.
Рисунок 1.8 – Гидроусилитель1 – плита; 2, 10, 24 – втулки; 3, 25 – золотники; 4, 15, 16, 20 – пружины; 5, 13 – корпусы; 6, 23 – кронштейны; 7 –крышка; 8, 21 ¬ рычаги; 9 – планка; 11 – гайка; 12, 22 – винты; 14 – поршень; 17 – блок мембранный; 18 – тарелка; 19 – пробка; 26 – кольцо [1]
Основные неисправности ОРЧО: разгерметизация мембранного блока механизма защиты по давлению масла, разгерметизация уплотнения приводного вала, разгерметизация уплотнения якоря индуктивного датчика.
1.3 Технология ремонта топливной аппаратуры сервисное локомотивное депо «Тында – Северная»
1.3.1 Технология ремонта форсунки дизеля Д49
Ремонт форсунки и ТНВД производится в цехе по ремонту топливной аппаратуры (рисунок 1.9).
Рисунок. 1.9 – План цеха по ремонту топливной аппаратуры: 1 – накопитель; 2 – станок притирочный; 3 – рабочее место по ремонту форсунок дизеля Д49, Д50, Д100; 4 – стенд зачистки; 5 – Стенд проверки форсунок дизеля Д100; 6 – стенд проверки форсунок дизеля Д50; 7 – стенд проверки форсунок дизеля Д49; 8 – стенд по обкатке топливоподкачивающего насоса с электрической помпой; 9 – стенд по обкатке топливоподкачивающего насоса с механической помпой; 10 – рабочее место по ремонту топливоподкачивающих насосов; 11 – рабочее место по толкателей; 12 – стенд по испытанию плунжерных пар; 13 – рабочее место по ремонту топливных насосов Д50, Д100; 14 – рабочее место по ремонту топливных насосов Д49; 15 – стенд по испытанию топливных насосов дизеля Д100; 16 – стенд по испытанию топливных насосов дизеля Д49
В цехе по ремонту топливной аппаратуры присутствуют перед поступлением на участок по ремонту, форсунка подвергается поверхностной очистке в моечной машине типа А-328 (рисунок 1.10). Далее деталь переносят в накопитель.
Рисунок 1.10 – Моечная машина А-328
Затем форсунку закрепляют на стенде зачистки, где производится очистка от нагара соплового наконечника, колпака. После очистки, проверяют работоспособность форсунки с оценкой качества распыливания, герметичности и гидроплотности на стенде А-106 (рисунок 1.11). Здесь же проверяются резьбовые соединения на щелевом фильтре и на штуцере обратной подачи топлива. Если форсунка соответствует показателям, то регулируется давление впрыска на 31,5–32,5 МПа. Затем на форсунку устанавливают предохранительный колпак и переносят в накопитель.
Накопитель форсунок представлен на рисунке 1.12
Рисунок 1.12 – Накопитель форсунок
Если на стенде А-106 форсунка не соответствует показателям, то происходит полная разборка на рабочем месте на специальном приспособлением Д49.181.119спч. по схеме. Затем меняется сопловой наконечник. Происходит замена распылителя с иглой на новый или на исправный, отвечающий необходимым техническим характеристикам. Неисправные распылители с иглой сортируют на годные или не годные для ремонта. Ремонтируют распылители за счет притирки, с использованием притирочно-доводочных паст на станке типа ПР279, коэффициент ремонта. Щелевой фильтр промывают в чистом дизельном топливе, а при наличии дефектов меняется. Регулировочный болт, при наличии износа, срыва или смятия более 2-х ниток резьбы меняется. Путем подбора штанги, регулируют зазор между корпусом и штангой. Далее форсунка промывается. Далее происходит сборка по схеме, в течение которой заменяются уплотнительные кольца. После сборки проверяется работоспособность форсунки с оценкой качества распыливания, герметичности и гидроплотности на стенде А-106. Качество распыливания проверяется на стенде прокачкой дизельного топлива через форсунку при частоте качания рычага стенда 60–80 раз в минуту. Качество распыливания топлива должно удовлетворять следующим требованиям: начало, и конец впрыскивания должны быть четкими и сопровождаться резким звуком; распыленное топливо – туманообразным и равномерно распределенным по поперечному сечению струи; длина и форма струй из всех отверстий должны быть одинаковы, сплошные струи и местные сгущения не допускаются. Образование "подвпрысков" в виде слабых струй из распылителя перед основным впрыскиванием, а также подтекание в виде капли топлива после двух-трех впрыскиваний на носике соплового наконечника не допускаются. Проверка герметичности распылителей по запирающему конусу проводится при давлении на 10–15 кгс/см2 меньше давления начала впрыскивания – 310 кгс/см2.При этом в течении 10–15 с не допускается отрыва капли от носика соплового наконечника. Допускается его увлажнение.
Гидравлическая плотность распылителя определяется временем снижения давления в системе стенда с установленной форсункой через прецизионный зазор направляющего цилиндра распылителя. При проверке плотности распылителя необходимо замерить время падения давления с 30 Мпа до 25 МПа, которое должно быть не менее 4с. В период опрессовки не допускается появления капель топлива на носике соплового наконечника и просачивания его по резьбовому соединению. После опрессовки на стенде, на форсунку устанавливают предохранительный колпак и переносят в накопитель. Рабочее место по ремонту форсунок Д49 представлено на рисунке 1.13.
Рисунок 1.13 – Рабочее место по ремонту форсунок Д49
Приспособление Д49.181.119спч-1 показан на рисунке 1.14.
Рисунок 1.14 – Приспособление Д49.181.119спч-1
Схема разборки форсунки представлена на рисунках 1.15 и 1.16.
Рисунок 1.15 - Схема разборки форсунки
Рисунок 1.16. – Схема сборки форсунки
1.3.2 Технология ремонта топливного насоса высокого давления Д49
Перед поступлением на участок по ремонту топливной аппаратуры, топливный насос высокого давления проходит поверхностную очистку в моечной машине типа А-328 (рисунок 1.10), после чего, переносят в накопитель. Из накопителя ТНВД переносят на рабочее место. Затем насос устанавливается на приспособление Д49.181.59спч-1 и происходит предварительная разборка, в процессе которой проверяется работоспособность плунжерной пары, создавая давление топлива, равное 6,5 МПа (65 кгс/см2), в полости низкого давления насоса при положении рейки L = 72 мм, выдвигают рейку до упора и замеряют время падения давления с 6,0 МПа до 5,0 МПа (с 60 кгс/см2 до 50 кгс/см2). Время падения давления должно быть не менее 13 секунд, при проверке на приспособлении 30Д.181.61спч-01. Количество замеров не менее двух стабильных, если плунжерная пара соответствует параметрам, то насос собирают и переносят в накопитель для готовой продукции. Если плунжерная пара не соответствует показателям, то происходит полная разборка по схеме. После чего происходит замена всех комплектующих деталей (плунжерная пара, ролик, пружина, втулки, и так далее) на новые или на исправные. После чего детали промывают и сортируют на годные или годные в дальнейшем использовании. Далее идет процесс сборки по схеме. –После сборки подбирается посадочная прокладка в соответствии с выбитой величиной на корпусе насоса. Затем ТНВД устанавливают на обкаточный стенд А2275. Где происходит обкатка, и выставляются все необходимые параметры по следующей технологии:
а) Согласованные с заводом-изготовителем режимы обкатки топливных насосов типов Д49.107.спч-2 и Д49.107.спч-4 с форсунками, приведены в таблице 1.1.
Таблица 1.1 – Режимы обкатки топливных насосов типов Д49.107 спч-2 и Д49.107 спч-4
| Частота вращения кулачкового вала, с (об/мин) | Выдвижение рейки А, мм | Продолжительность обкатки, мин. |
| 5(300) | 80±1 | 20 |
| 5(300) | 85±1 | 20 |
| 5(300) | 95±1 | 20 |
| 8,3(500) | 85±1 | 60 |
| 8,3(500) | 95±1 | 60 |
При обкатке, давление и температура топлива и масла должны находиться в следующих пределах:
- давление топлива (0,4±0,05) МПа [(4±0,5) кгс/см2];















