9-ТИЭТ~1 (1218451), страница 4
Текст из файла (страница 4)
Теплотехнический расчет ограждающих конструкций производится для отапливаемых помещений в зимних условиях, когда тепловой поток направлен из помещений в наружную среду.
Исходными данными служат расчетно-климатические условия для г. Южно-Сахалинска.
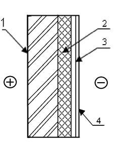
Схема расположения слоёв ограждающих конструкций наружных стен представлена на рисунке 1.3
Рисунок 1.3 - Схема слоёв наружной стены.
1 – Железобетонная стена; 2 – утеплитель;
3 – Штукатурка по армирующей сетке; 4 – защитное покрытие «Seraguard».
Теплотехнические характеристики материалов ограждающих конструкций приведены в таблице 1.11.
Таблица 1.11 - Теплотехнические характеристики материалов
| № слоя | Наименование материала | Удельный вес γ0, кг/м3 | Толщина слоя δ, м | Коэффициент теплопроводности λ, Вт/м0С |
| Наружная стена | ||||
| 1 | Железобетон | 2500 | 0,16 | 2,04 |
| 2 | Пенополистирол | 20 | х | 0,045 |
Продолжение таблицы 1.11
| № слоя | Наименование материала | Удельный вес γ0, кг/м3 | Толщина слоя δ, м | Коэффициент теплопроводности λ, Вт/м0С |
| Наружная стена | ||||
| 3 | Штукатурный слой | 1700 | 0,03 | 0,87 |
Проведем расчет термического сопротивления принятых толщин утеплителя:
Требуемое сопротивление теплопередач R02тр, ограждающих конструкций, исходя из условия энергосбережения по [3, табл. 3].
Градусо-сутки отопительного периода, при этом определяют по формуле: ГСОП = ( tв – tот.пер)×Zот.пер., (2.2)
где Zот.пер - средняя продолжительность относительного периода, со среднесуточной температурой воздуха ниже или равной 80С [8] Zот.пер = 227 сут.; tот.пер.- средняя температура отопительного периода, 0С, tот.пер.=-4,4°С по [8];
ГСОП = (20 + 4,4) × 227 = 5539 (°С×сут)
По [3, табл. 3] исходя из значения ГСОП R0тр определяется по формуле:
,
= 0,00035х5539+1,4=3,34 (м2×°С)/Вт
Необходимую толщину слоя утеплителя наружной стены определяем по формуле:
где di, li - соответственно толщина, м, и коэффициент теплопроводности материала, Вт/(м/°C), i-го конструктивного слоя ограждения; dут, lут - соответственно толщина, м, и коэффициент теплопроводности утеплителя, Вт/(м/°C); aн=23 - коэффициент теплоотдачи наружной поверхности ограждающей конструкции для зимних условий, Вт/(м2·°С), [ 3, табл. 6].
Принятая толщина утепляющего слоя 0,15 м; при этом сопротивление стены теплопередаче составит: R0=3,6 (м2∙0С)/Вт и условие
(3,6>3,34) выполнено следовательно толщина утеплителя для данного пункта строительства рассчитана верно.
1.2.4.2 Расчет сопротивления воздухопроницанию стены
Расчет делается для проверки ограждения на возможное проникновение воздуха через слои ограждения при сильных ветрах в наиболее холодный зимний месяц.
Сопротивление воздухопроницанию ограждающих конструкций, зданий Rи должно быть не менее требуемого сопротивления воздухопроницанию
, определяемого согласно [3, п. 7,1] по формуле
Сопротивление воздухопроницанию многослойной ограждающей конструкции Rи,
, определяют по формуле
| - сопротивления воздухопроницанию отдельных слоев ограждающей конструкции, |
Слой утеплителя из пенополистирола толщиной 0,15 м имеет
; слой декоративной штукатурки толщиной 30 мм
; железобетонная стена толщиной 0,16 м имеет
;
Следовательно, условие воздухопроницаемости стены удовлетворяется.
-
Перекрытия
Перекрытия междуэтажные и покрытие – монолитные железобетонные из
бетона В20, F200 толщиной 160 мм и рабочей арматурой класса А400, с опиранием по контуру на несущие монолитные стены.
-
Теплотехнический расчёт покрытия
Схема расположения слоёв ограждающих конструкций покрытия представлена на рисунке 1.4
Рисунок 1.4 - Схема слоёв покрытия.
1 – Монолитная ж/б плита; 2 – утеплитель;
3 – бетонная плитка тротуарная; 4 – пароизоляция.
Теплотехнические характеристики материалов ограждающих конструкций приведены в таблице 1.12
Таблица 1.12 - Теплотехнические характеристики материалов
| № слоя | Наименование материала | Удельный вес γ0, кг/м3 | Толщина слоя δ, м | Коэффициент теплопроводности λ, Вт/м0С |
| Наружная стена | ||||
| 1 | Монолитная ж/б плита | 2500 | 0,16 | 2,04 |
| 2 | Пенополистирол | 35 | х | 0,032 |
| 3 | Плитка бетонная | 2400 | 0,05 | 1,86 |
Проведем расчет термического сопротивления принятых толщин утеплителя:
Требуемое сопротивление теплопередач R02тр, ограждающих конструкций, исходя из условия энергосбережения по [3, табл. 3].
Градусо-сутки отопительного периода, при этом определяют по формуле:
ГСОП = ( tв – tот.пер)×Zот.пер., (2.2)
ГСОП = (20 + 4,4) × 227 = 5539 (°С×сут)
По [3, табл. 3] исходя из значения ГСОП R0тр определяется по формуле:
,
= 0,0005х5539+2,2=4,97 (м2×°С)/Вт
Необходимую толщину слоя утеплителя покрытия определяем по формуле
где di, li - соответственно толщина, м, и коэффициент теплопроводности материала, Вт/(м/°C), i-го конструктивного слоя ограждения;
dут, lут - соответственно толщина, м, и коэффициент теплопроводности утеплителя, Вт/(м/°C);
aн=23 - коэффициент теплоотдачи наружной поверхности ограждающей конструкции для зимних условий, Вт/(м2·°С), [ 3, табл. 6].
Принятая толщина утепляющего слоя 0,16 м; при этом сопротивление покрытия теплопередаче составит: R0=6 (м2∙0С)/Вт и условие
(6>4,97) выполнено следовательно толщина утеплителя для данного пункта строительства рассчитана верно.
-
Лестницы
Лестница – монолитные железобетонные марши и площадки из бетона класса В20 и рабочей арматурой класса А400 (АIII).
Ограждения лестницы – металлические, индивидуальные.
Лестницы, как средства сообщения между этажами, должны удовлетворять требованиям пропускной способности, пожарной безопасности и гигиеническим, гарантируя малую утомляемость людей при подъеме по ним. Помещения, в которых размещают лестницы, называют лестничными клетками.
Таблица 1.13 – Элементы лестницы.
| Наименование элемента | Марка | Кол-во | Вес (кг) | Эскиз |
| 1 | 2 | 3 | 4 | 5 |
| марши | ЛМ27 | 2 | 1350 | В В
1 - 1 Н L = 2700 , В = 1220, h = 1350 |
Продолжение таблицы 1.13
| Наименование элемента | Марка | Кол-во | Вес (кг) | Эскиз |
| 1 | 2 | 3 | 4 | 5 |
|
| ЛП19 | 3 | 250 | 1 - 1 1 h 1 L В=1860…1900, L=3050, h=350 |
1.2.7 Перегородки
Перегородки внутриквартирные выполняются поэлементно, толщиной 90мм, (по технологии «Кнауф», сер. 1.031.9-3.07, в.1).
Лестничные















