Архитектура (1209676), страница 8
Текст из файла (страница 8)
Окна должны надежно изолировать помещения от наружного шума и удовлетворять требованиям теплозащиты.
Естественное освещение наземных помещений вокзалов обеспечивается равномерным по помещению размещением окон с соотношением к площади пола не менее 1: 5.
Требуемое приведённое сопротивление теплопередаче окон для административных зданий в соответствии с [2, табл.1б*]
=0,51 м2оС/Вт. В соответствии с этим принимаем оконные заполнения из пластиковых профилей с двухкамерным стеклопакетом с межстекольным расстоянием 12 мм, при этом Ro=0,54 м2оС/Вт.
Элементы конструкции оконного блока приведены на рисунке – 1.11. Спецификация окон приведена в таблице 1.12.
Таблица 1.12. – Спецификация окон
| Марка поз. | Эскиз окон | Наименование | Размер проема, мм. | Кол. |
| ОК1 | 6F–12–4F–12–6F | 14202420 | 38 | |
| ОК2 | 6F–12–4F–12–6F | 11401140 | 38 |
Рисунок – 1.11. Конструкция оконного блока:
1- коробка оконного блока; 2- утеплитель; 3- закладная деталь; 4- упорный уплотнитель; 5- переплет; 6 – штапик; 7 – стеклопакет; 8 – фиксирующие прокладки; 9 – термомост; 10 – разделительная прокладка; 11 – герметизация фальца стеклопакета; 12 – водоотвод; 13 – пенополиуретан; 14 – стальной профиль; 15 - герметизирующая лента 16 – слив (оцинкованная сталь).
1.2.9. Двери
В течение срока службы заполнения дверных проемов, в здании железнодорожного вокзала, получили значительный физический износ. Вследствие этого, при реконструкции, они заменяются на новые.
Спецификация дверей приведена в таблице 1.13.
Таблица 1.13. – Спецификация дверей
| Марка поз. | Обозначение | Наименование | Размер проема, мм | Кол. |
| Д1 | Серия 1.136.5-19 | ДН 24-15К | 2385х1518 | 6 |
| Д2 | Серия 1.136.5-19 | ДН 21-13ЩП | 2085х1274 | 8 |
| Д3 | Серия 1.136-10 | ДГ 24-15 | 2371х1472 | 4 |
| Д4 | Серия 1.136-10 | ДГ 21-7 | 2071х670 | 27 |
| Д5 | Серия 1.136-10 | ДГ 21-9 | 2071х870 | 41 |
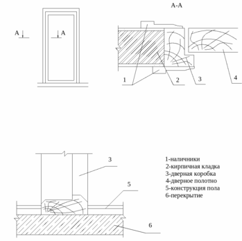
Детали и узлы крепления дверной коробки в дверном проеме приведены на рисунке 1.12.
Рисунок 1.12 – Детали и узлы крепления дверных коробок.
1.2.10. Расчет времени реверберации в зальных помещениях зданий
Одним из основных критериев акустического качества зальных помещений, является время реверберации Т, сек. Необходимое время реверберации на частотах 500 – 2000 Гц должно быть около 1.0 с [20, рис.2.2]. На частоте 125 Гц рекомендованное время реверберации может быть увеличено до 1,4 с.
Расчет времени реверберации сводится к определению его фактического значения (Т, сек) и сравнению с рекомендуемыми значениями (ТОПТ, сек) для данного типа здания.
Объем помещения V = 1639 м3;
Площадь ограничивающей поверхности SОБЩ= 888 м2.
Определения эквивалентной площади звукопоглощения производится по формуле:
Расчет АОБЩ ведется в табличной форме в таблице 1.14.
Таблица 1.14.-Определение эквивалентной площади звукопоглощения
| Поверхность, материал | Площадь | Значение и S, м2, на частотах, Гц | |||||
| 125 | 500 | 2000 | |||||
| | S | | S | | S | ||
| Потолок – бетонный оштукатуренный | 194 | 0,01 | 1,94 | 0,01 | 1.94 | 0,02 | 3,88 |
| Стены с отметки 2 м – штукатурка по кирпичу окрашены клеевой краской | 368 | 0,02 | 7,36 | 0,02 | 7,36 | 0,04 | 14,72 |
| Стены до отметки 2 м – гипсовые перфорированные плиты (d=7 мм и Д=18 мм) со стиллитом толщиной 100 мм вплотную к ограждению | 114 | 0,78 | 88,92 | 0,9 | 102,6 | 0,53 | 60,42 |
| Пол из керамического гранита | 194 | 0,15 | 29,1 | 0,29 | 56,26 | 0,38 | 73,72 |
| Остекление | 18 | 0,35 | 6,3 | 0,18 | 3,24 | 0,07 | 1,26 |
Общая эквивалентная площадь звукопоглощения на частотах:
Фактическое время реверберации выше рекомендованного, поэтому необходимо увеличить звукопоглощение в зала.
Зная
определяем
по формуле
, а затем
.
Из [20, табл2.11] по
находим,
равное 0,25.
Определим, на сколько следует изменить общую эквивалентную площадь звукопоглощения
на частотах:
Для уменьшения времени реверберации разместим звукопоглотитель по всей высоте стены, для этого используем звукопоглощающий материал – минераловатные плиты толщиной 50 мм, покрытые стеклотканью и деревянными рейками 5020 мм положенными «плашмя» через 250 мм.















