ВКР№1 Разработка ремонта Мамчич П.Е. (1208587), страница 6
Текст из файла (страница 6)
, (3.3)
где Цопт – оптовая цена машины, тыс. руб.;
Сдост – затраты на доставку машины с завода изготовителя на строительный объект, тыс. руб. (затраты на доставку принимаются в размере 9-11% от оптовой цены). Тогда:
руб.,
руб. Таким образом, подставляя в (3.3):
руб.
руб.
Сменная эксплуатационная производительность отечественного автокрана при проведении работ с совмещением операций по формуле [9], т/смен:
, (3.4)
где
масса поднимаемого груза, т (
);
коэффициент использования крана по грузоподъемности (
);
коэффициент эксплуатационных потерь связанных с ТО и ПР(
);
продолжительность рабочей смены, ч (
);
продолжительность цикла (с) при работе крана с совмещенными операциями находим из формулы (3.5):
, (3.5)
где
время строповки груза, с (
);
подъем груза до нужного уровня монтажа находим из формулы (3.6), с:
, (3.6)
где
высота подъема груза, м (
);
скорость подъема груза, м/мин (
); Тогда:
с.
время поворота стрелы на заданный угол вычисляется как, с:
, (3.7)
где
заданный угол поворота, град (
);
частота вращения поворотной части, мин-1 (
). Таким образом:
с.
время на перемещение крана, с (
);
время опускания груза до уровня монтажа находим из формулы (3.8), с:
, (3.8)
где
высота подъема над уровнем монтажа, м (
);
скорость опускания крюковой подвески , м/мин (
); Тогда
с.
время на монтаж конструкции и ее крепление, с (
);
время на расстроповку конструкции, с (
);
время на подъем груза с грузозахватным приспособлением над уровнем монтажа, с (
);
время на перемещение крана в обратное положение, с (
);
время на поворот стрелы в исходное положение, с (
);
время затрачиваемое на опускание крюка в исходное положение, с (
);
При совмещении операций подъема груза и перемещение поворотной части автокрана, исключаем время на поворот стрелы, тогда подставляя в (3.5):
с.
Таким образом из (3.4) для отечественного автокрана:
т/смен.
Находим продолжительность операций (3.6)-(3.8) для импортного автокрана:
с.;
с.;
с.
с.
Таким образом из (3.4) для импортного автокрана:
т/смен.
Среднечасовая эксплуатационная производительность отечественного и импортного автокранов
и
определяется исходя из технической производительности
и
коэффициента внутрисменного использования
:
т/час.;
т/час.;
Годовая эксплуатационная производительность экскаваторов рассчитывается по формуле (3.9):
, (3.9)
где Тг – количество машино-часов работы одной среднесписочной машины за год.
Количество машино-часов работы одной среднесписочной машины за год определяется по формуле (3.10):
, (3.10)
где Ф – фонд рабочего времени (количество дней работы в году), которое определяется числом календарных дней в году без выходных и праздничных и потерь рабочего времени по метеорологическим условиям, дни (Ф=225);
коэффициент сменности машины, количество смен/дни (в расчетах принимается
);
средняя продолжительность рабочей смены (принимается
ч);
ремонтный коэффициент, равный количеству дней нахождения машины в ТО и всех видах ремонта, приходящемуся на 1 машино-час работы,
дни/машино-час (
);
средняя продолжительность одной перебазировки машины, дн (
);
среднее количество машино-часов работы техники на объекте, машино-часы (
). Таким образом, подставляя в (3.10):
м.ч
Фонд рабочего времени всегда одинаков в сравниваемых вариантах, за исключением случаев сравнения техники в северном и обычном исполнении.
В работе ремонтный коэффициент принять одинаковым для сравниваемых вариантов. Также одинаковым принимается среднее время одной перебазировки.
Тогда, подставляя найденные значения в (3.9), годовая производительность для обоих вариантов техники будет равна:
т/год
т/год
Из расчетов видно, что годовая производительность импортного автокрана будет больше, чем отечественного.
Основная заработная плата машинистов рассчитывается по формуле (3.11):
, (3.11)
где
средний коэффициент учитывающий премии экипажа (
);
коэффициент к тарифной ставке (
);
часовая тарифная ставка разряда работы машиниста, руб. (
).
руб.
Амортизационные отчисления находим по формуле (3.12), руб.:
, (3.12)
где
норма амортизационных отчислений, % (
). Тогда
руб.
руб.
Стоимость запасных частей
определяется в процентах от основной заработной платы рабочих ремонтников. Для отечественной техники стоимость запасных частей принимаем на 30% больше
, для импортной техники на 40%.
Величина основной заработной платы рабочих-ремонтников определяется по формуле (3.13):
, (3.13)
где
средний коэффициент, учитывающий премии ремонтным работникам (
);
часовая тарифная ставка среднего разряда работы по ТО и ТР, руб. (
);
трудоемкость ТО и ремонтов приходящихся на один машино-час эксплуатации техники, чел.ч/маш.ч (
). Подставив в формулу (3.13):
руб.
Стоимость запасных частей:
руб.
руб.
Затраты на топливо вычисляется по формуле (3.14):
, (3.14)
где 1,03 – коэффициент, учитывающий увеличение расхода топлива на запуск двигателя;
цена топлива, руб./кг (
);
мощность двигателя, кВт (
,
);
расход топлива в час в крановом режиме, кг/кВт*ч (
,
;
коэффициент использования двигателя по времени (
;
коэффициент использования двигателя по мощности (
);
Таким образом из (3.14):
руб.
руб.
Затраты на смазочные материалы
принимаются в размере 25% от затрат на топливо:
руб.
руб.
Накладные расходы принимаются в размере 30% от основной заработной платы и 10% от прочих статей прямых затрат:
, (3.15)
где
затраты на перебазировку, руб (
), тогда из (3.15):
руб.
руб.
Следовательно, себестоимость машино-часа эксплуатации автокрана будет равна:
руб.
руб.
Себестоимость единицы продукции (т) определяется по формуле (3.16), руб:
, (3.16)
руб.
руб.
Себестоимость годового объема работ, выполняемого в каждом варианте составит, руб.:
, тогда:
руб.
руб.
Таблица 3.2.5 – Калькуляция себестоимости машино-часа эксплуатации автокранов в сравниваемых вариантах
| Статьи затрат | Величина показателей, руб. | |
| Отечественная техника | Импортная техника | |
| Заработная плата экипажа машины | 92,25 | 92,25 |
| Амортизационные отчисления | 436,48 | 735,8 |
| Затраты на ТО и TP, в том числе: | ||
| – основная заработная плата рабочих ремонтников | 27,9 | 27,9 |
| – стоимость запасных частей | 36,27 | 39,06 |
| Затраты на топливо | 1270 | 878,5 |
| Затраты на смазочные материалы | 317,5 | 219,6 |
| Затраты на перебазировку | 2000 | 2000 |
| Накладные расходы | 443 | 424 |
| Итого (Смех) | 4595,5 | 4389,2 |
| Себестоимость (Сед) | 87,4 | 61,6 |
| Себестоимость (Сгод) | 12922363,125 | 12333667,5 |
Расчет годового экономического эффекта определим по формуле (3.17):
, (3.17)
Тогда:
руб.
Проверим правильность вычислений подставив значения в формулу (3.2):
руб.
Полученный положительный экономический эффект говорит о эффективности внедрения импортной техники. Несмотря на довольно высокую стоимость импортной техники, ее приобретение позволит предприятию повысить производительность.
-
РЕМОНТ КОНСТРУКЦИИ АВТОКРАНА КС 55713-5
В работе рассмотрим ремонт гидроцилиндра подъема телескопической стрелы автокрана КС 55713-5 и технологический ремонт изношенной поверхности.
Ремонт цилиндра подъёма стрелы автокрана КС 55713-5 следует производить при следующих неисправностях:
- течь масла по уплотнениям;
- проседание штока под нагрузкой.
-
Демонтаж, разборка и сборка гидроцилиндра подъёма стрелы
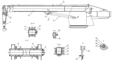
Рис.4.1.1. Рабочее оборудование автокрана КС 55713-5
1-подвеска крюковая; 2- канат; 3- стрела телескопическая; 4-масленка;
5-гидроцилиндр; 7,10,14,-оси; 6,13-втулки; 9,17-гайки; 11-шайба; 16-клин; 15,18-шайба; 19-обойма; 20-ось; 21-зажим; 23- кольцо; 25- винт.
1) Отсоединить подводящие трубопроводы от цилиндра подъёма стрелы. Открытые отверстия гидроцилиндра закрыть заглушками.
2) Застропить гидроцилиндр 5 (рис.4.1.1.), приподнять до разгрузки ось 7. Открутить гайки 9, снять шайбу 15 и выбить ось 7 из отверстий гидроцилиндра 5 и стрелы телескопической 3, вынуть втулки 6.
3) Установить на переднюю часть поворотной платформы подставку и опустить на неё гидроцилиндр подъема стрелы КС 55713-5.
4) Застропить гидроцилиндр 5, обеспечив его равновесие. Открутить гайки 17, снять шайбу 18, вынуть ось 14 и втулки 13, отстропить. Вывернуть из гидроцилиндра 5 маслёнки 4.
5) Снять цилиндр подъема стрелы с автокрана КС 55713-5 грузоподъемностью 25т на базе Камаз-55111.
Рис.4.1.2. Цилиндр подъема стрелы КС 55713-5
1-кольцо пружинное; 2,13,15-гайка; 3,10-кольцо уплотнительное; 4,11-лента направляющая; 5-кольцо защитное; 6-уплотнение поршневое; 7-поршень; 8-корпус; 9-шток; 12-крышка; 14-уплотнение штоковое; 16-втулка; 17-грязесъмник; 18-масленка; А,В-подводы.
время на расстроповку конструкции, с (
);
время на подъем груза с грузозахватным приспособлением над уровнем монтажа, с (
);
время на перемещение крана в обратное положение, с (
);
время на поворот стрелы в исходное положение, с (
);
время затрачиваемое на опускание крюка в исходное положение, с (
);
с.
т/смен.
с.;
с.;
с.
руб.
определяется в процентах от основной заработной платы рабочих ремонтников. Для отечественной техники стоимость запасных частей принимаем на 30% больше
, для импортной техники на 40%.













