1.ДИПЛОМ Алексеев М.О. 455гр (1207710), страница 4
Текст из файла (страница 4)
Реакция в любой точке элемента интерполируется из реакции узлов элементов. Каждый узел полностью описывается рядом параметров, зависящих от типа анализа и используемого элемента. Для расчетов конструкции реакция узла представляется, в целом, тремя перемещениями и тремя вращениями. Для расчета напряжений решающая программа находит перемещения в каждом узле, а затем вычисляет деформации и конечное напряжение.
Программное обеспечение разрабатывает уравнение, управляющее поведением каждого элемента, учитывая его соединения с другими элементами. Эти уравнения связывают реакцию с известными свойствами материала, ограничениями и нагрузками. В каждом из элементов произвольно выбирается вид аппроксимирующей функции. В простейшем случае это полином первой степени. Вне своего элемента аппроксимирующая функция равна нулю. Значения функций на границах элементов (в узлах) являются решением задачи и заранее неизвестны. Коэффициенты аппроксимирующих функций обычно ищутся из условия равенства значения соседних функций на границах между элементами (в узлах). Затем эти коэффициенты выражаются через значения функций в узлах элементов. Составляется система линейных алгебраических уравнений. Количество уравнений равно количеству неизвестных значений в узлах, на которых ищется решение исходной системы, прямо пропорционально количеству элементов. Далее программа упорядочивает уравнения в большую систему совместных алгебраических уравнений и находит неизвестные.
Когда к телу прикладываются нагрузки, оно пытается компенсировать их воздействие, создавая внутренние силы, которые в целом изменяются от одной точки к другой.
У метода конечных элементов есть ряд преимуществ, проявляющихся на реальных задачах: произвольная форма обрабатываемой области; высокая точность расчета.
2.4.2 Расчет устойчивости откоса насыпи
Для расчета устойчивости методом конечных элементов использована программа GenIDE32, разработанная в ТОГУ профессором Горшковым Н.И. и Красновым М.А. [14]. Данная программа позволяет решать различные задачи геотехники, в том числе определение устойчивости оползневого склона и расчет укрепительных мероприятий. При этом, чтобы запроектировать укрепительные мероприятия, необходимо определить коэффициент Пуассона и модуль общей деформации для реальных условий.
Для дальнейшего расчета построены 3 модели земляного полотна, на ПК2+40, ПК2+65 и ПК3+40, включающие 4 макроэлемента: основание, насыпь, балластную призму и шпалу (рис. 2.6, 2.7, 2.8).
Физико-механические характеристики грунтов задавались по материалам инженерно-геологических изысканий. Прочностные характеристики (угол внутреннего трения и удельное сцепление) приняты в соответствии с ручными расчетами методом Г.М. Шахунянца (С = 5.8 кПа, φ = 15.7º). Физико-механические характеристики приведены в табл. 2.5.
Таблица 2.5
Физико-механические характеристики элементов
| Элемент | Удельный вес γ, кН/м3 | Модуль деформации Е, МПа | Коэффициент Пуассона ν | Удельное сцепление С, кПа | Угол внутреннего трения φ, ° |
| Основание (суглинок) | 19,62 | 10000 | 0,4 | 21,58 | 16,0 |
| Насыпь (песко гравий) | 17,66 | 600000 | 0,3 | 5,8 | 15,7 |
| Балласт (щебень) | 22,00 | 120000 | 0,3 | 0 | 40 |
| Деревянная шпала | 10,00 | 300000 | 0,2 | 1000 | 10000 |
Рис. 2.6 Расчетная схема насыпи ПК 2+40, разделенная на конечные элементы
Расчет на устойчивость показывает, что коэффициент равен 1.00: насыпь находится в состоянии предельного равновесия.
Рис. 2.7. Расчетная схема насыпи ПК 2+65, разделенная на конечные элементы
Расчет на устойчивость показывает, что коэффициент равен 1.03: насыпь находится в состоянии предельного равновесия.
Рис. 2.8. Расчетная схема насыпи ПК 3+40 разделенная на конечные элементы
Расчет на устойчивость показывает, что коэффициент равен 1.24: насыпь устойчива.
По данным результатов расчета устойчивости определены расчетные характеристики грунта. На данном участке требуется проектирование усиления земляного полотна.
3 ПРОЕКТИРОВАНИЕ МЕРОПРИЯТИЙ ПО УСИЛЕНИЮ ЗЕМЛЯНОГО ПОЛОТНА
3.1 Обзор мероприятий по усилению земляного полотна
3.1.1 Подпорные стены
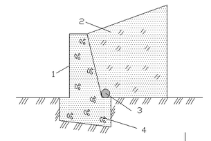
Подпорные стенки применяются для стабилизации небольших оползней скольжения, когда оползневое давление незначительно превышает активное давление от призмы обрушения, грунта за подпорным сооружением [2]. Схема монолитной подпорной стены представлена на рис. 3.1.
Рис. 3.1 Схема монолитной бетонной подпорной стенки.
1 – бетонная стена; 2- грунтовая засыпка; 3 – дренажное устройство; 4 – бетонный блок фундамента.
При большом оползневом давлении вместо одной стены следует разместить несколько ярусов более легких противооползневых стен, рассчитанных на соответствующую часть оползневого давления [2].
В целях противооползневой борьбы обычно используют гравитационные и шпунтовые подпорные стены.
Гравитационные подпорные стены делятся на [2]:
- уголковые,
- массивные,
- ячеистые,
- контрфорсные,
- уголковые сборные конструкции.
Массивные подпорные стены строят из монолитного или сборно-монолитного бетона, реже из камня, с различной конфигурацией и наклоном задней грани, которая примыкает к обратной засыпке или к удерживающему грунту склона или откоса.
Уголковые стены, консольные, с анкерными тягами (рис 3.2) и контрфорсные, выполненные из монолитного или сборного железобетона (рис 3.3).
Рис. 3.2 Уголковая подпорная стена с анкерными тягами
Рис. 3.3 Контрфорсная уголковая подпорная стенка
Сборные подпорные стены из железобетонных элементов бывают:
- плитные
- из уголкового профиля,
- ряжевые,
- из пустотелых ящиков
- смешанные или комбинированные.
Ряжевые стены представляют собой пространственную конструкцию, монтируемую в виде ряжа из продольных и поперечных элементов с загрузкой его грунтом или каменным материалом [2].
Стены уголкового профиля состоят из горизонтальной (фундаментной) и вертикальной или наклонной лицевой плит. В некоторых случаях для увеличения жесткости всей конструкции используют поперечные ребра или контрфорсы.
Стены из пустотелых ящиков, устанавливаются по длине ограждения в один или более ярусов. Для заполнения используют песок или каменные материалы.
Устойчивость противооползневых подпорных стен при воздействии оползневого давления грунта обеспечивается в основном их собственным весом. Заднюю грань стены (рис 3.4) делают наклонной или ступенчатой, что позволяет вовлечь в работу подпорной стены массу грунта, расположенного над этой гранью [2].
Рис. 3.4 Пример подпорной стены из пустотелых ящиков
3.1.2 Анкерные конструкции
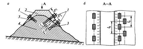
Анкерные конструкции используют для удержания балластного шлейфа конструкции. Они представляют собой один или несколько рядов инъецируемых анкеров, закрепленных в устойчивом ядре насыпи, которые передают требуемое натяжение на поверхность шлейфа через железобетонные плиты, расположенные на откосе. За счет натяжения анкеров происходит обжатие шлейфа с увеличением сил сопротивления смещению на контакте между шлейфом и грунтом ядра насыпи.
Рис. 3.5 Анкерные конструкции: а – разрез; б – план; 1 – железобетонная плита; 2 – балластный шлейф; 3 – анкер; 4 – ядро насыпи; расстояния la,l3,l0 – по расчету.
3.1.2 Берма и контрбанкет
При недостаточной общей устойчивости откосов насыпей и вероятности их оползания наиболее распространенным решением, принимаемым на практике, является отсыпка контрбанкетов. Контрбанкет является поддерживающим сооружением и повышает общую устойчивость откосов насыпи благодаря концентрации массы грунта в нижней части, создавая упор против оползания. Как правило, эти сооружения располагают в пассивной зоне оползня [1].
Контрбанкеты отсыпаются из дренирующих грунтов (песка, щебня) из условия, чтобы их коэффициенты фильтрации был бы выше, чем у грунта насыпи. Контрбанкеты надежны и долговечны.
К их недостаткам следует отнести большие объемы грунта и значительное развитие ширины земляного полотна, что представляет сложности при отсыпке контрбанкетов в зоне водопропускных труб при наличии у подошвы различных коммуникаций , а также на застроенных территориях.
Рис. 3.6 Пример контрбанкета
Берма – это поддерживающее устройство, представляющее собой призму грунта, которая отсыпается тем же грунтом, которым отсыпается насыпь.
На исследуемом участке берма рассматривается, как один из вариантов укрепления откоса насыпи, так как данный вариант укрепления является надежным способом повышения устойчивости откосов.
3.1.3 Контрфорсы
Контрфорсы являются разновидностью контрбанкетов и размещаются в нижней части оползневого склона, насыпи на косогоре в виде отдельных столбов или лент небольшого протяжения (рис. 3.7). Оползневой склон при использовании контрфорсов должен иметь небольшую мощность. Контрфорсы, как правило, проектируют из бутовой, бетонной и железобетонной кладки.
Рис.3.7 Контрфорс в откосе выемки: а – продольный; б – поперечный разрезы; 1 – грунт, срезаемый для уположения откоса; 2 – банкет; 3 – крупнозернистый песок; 4 – бетон; 5 – сухая кладка; 6 – железобетонный лоток; 7 – дренажная труба.
3.1.4 Свайные противооползневые конструкции
Для удержания от сплыва неустойчивых балластных шлейфов на откосах насыпи в качестве противодеформационных мероприятий может быть назначено усиление сваями.
Свайные противооползневые конструкции позволяют обеспечить:
- устойчивость оползневого склона, предотвращая просадки, отколы и значительные горизонтальные смещения насыпей в случаях, когда трасса пересекает оползневый участок в его верхней или средней части;
- устойчивость верховой части оползневого склона в случае его подрезки при устройстве выемки или полувыемки - полунасыпи;
- общую устойчивость откосов высоких насыпей;















