диплом (1198110), страница 4
Текст из файла (страница 4)
На чертеже показана обзорная схема этажейОП «Энергосбыт» (1-го и 2-го, как показывают Приложения Г и Д).
2.3 Анализ организации системы пожарной безопасности объекта и процесса ее функционирования
В целях обеспечения соблюдения требований охраны труда, осуществления контроля за их выполнением в ОП «Энергосбыт» ПАО «Сахалинэнерго»организован отдел охраны труда и технической безопасности, сотрудники которого имеют соответствующую подготовку и опыт работы в этой области.
Отдел ОТ и ТБ подчиняется заместителю директора по общим вопросам; осуществляет организационные, координирующие, методические и контрольные функции в системе организации работ по охране труда.
На основании годовых, квартальных планов в ОП «Энергосбыт»проводятся занятия по пожарно – техническому минимуму (ПТМ).
В целях обеспечения безопасности персонала при эксплуатации технологического оборудования приобретена добротная спецодежда нового поколения, электрозащитные средства, средства индивидуальной защиты (см. рис. 2.5).
Рисунок 2.5 Электрозащитные средства и СИЗ для персонала ОП «Энергосбыт»
В здании ОП «Энергосбыт»два этажа, планыкоторых приведены в Приложениях А и Б, в здании имеются 2 пожарных крана, огнетушителей – 10 шт. В обращении ОП «Энергосбыт» ПАО «Сахалинэнерго» имеются порошковые закачные огнетушители.
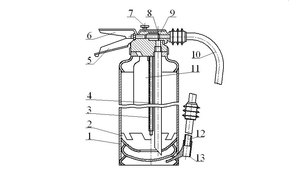
Огнетушитель порошковый, ОП-10 (рис. 2.6) предназначен для тушения пожаров классов А, В, С, а также загораний в электроустановках, находящихся под напряжением до 1140В.
Рисунок 2.6 Огнетушитель ОП-10, применяемый в ОП «Энергосбыт»: 1 – корпус – сосуд с порошком, 2 –мембрана эластичная, 3 – вспушиватель, 4 – сифон, 5 – рукоятка, 6 – рычаг, 7 – пробойник, 8 – клапан, 9 – головка, 10 – шланг, 11 – баллон со сжатым воздухом, 12 – насадок, 13 – фиксатор насадка
Также на объекте имеется набор первичных стредств пожаротушения, представленных на рисунке 2.7.
Рисунок 2.7 Инструменты в составе первичных средств пожаротушения в ОП «Энергосбыт»
Имеется автоматическая пожарная сигнализация с системой оповещения работников ОП «Энергосбыт»ПАО «Сахалинэнерго» при пожаре. Также в здании ОП «Энергосбыт»предусмотрено 2 эвакуационных выхода, и как уже говорилось имеются планы эвакуации для первого и второго этажа (см. Приложения Г-Д).
Извещательная и оповещательная системы здания состоят из:
- пожарного дымового оптического извещателя (рис. 2.8-2.9);
- пожарного оповещателя (рис. 2.10).
Рисунок 2.8 Пожарный дымовой оптический извещатель в ОП «Энергосбыт» ПАО «Сахалинэнерго»
Рисунок 2.9 Строение пожарного дымового оптического извещателя, используемого в ОП «Энергосбыт» ПАО «Сахалинэнерго»
Рисунок 2.10 Пожарный оповещатель в ОП «Энергосбыт»
Таким образом, наличность первичных средств пожаротушения в ОП «Энергосбыт» достаточна. Она включает в себя:
- 10 огнетушителей;
- инструменты (лопаты, багры, вёдра, песок).
Для работы пожарной службы в здании ОП «Энергосбыт» имеется вертикальная лестница (рис. 2.11).
Начальник отдела по ГО и ЧС ОП «Энергосбыт» два раза в год проводит масштабную проверку по пожарной безопасности: осенью и весной.
Рисунок 2.11 Вертикальная пожарная лестница в ОП «Энергосбыт»
В рамках обеспечения пожарной безопасности персонала ОП «Энергосбыт» организовывают проведение учебных эвакуаций: тренировочной, анонсированной и неанонсированной (см. табл. 2.1). Наиболее эффективным мероприятием пожарной безопасности в ОП «Энергосбыт» является неанонсированная эвакуация: именно такой подход позволяет максимально точно диагностировать ситуацию на объекте и разработать комплекс мер по совершенствованию подготовки людей к действиям при пожаре. Более того, как отмечают физиологи, «сами по себе стрессовые воздействия умеренной силы имеют тренирующий характер и приводят к адаптации к ним функциональных систем человека» [21].
Таблица 2.1
Виды учебных эвакуаций (отработок планов эвакуации)
в ОП «Энергосбыт»
| Вид учения | Цель | Описание |
| Тренировочная эвакуация | Формирование требуемых умений и навыков | Участники предупреждены об учебных целях эвакуации и подготовлены к учению. Наблюдатели и оборудование расставлены открыто |
| Анонсированная эвакуация | Закрепление (проверка) выработанных навыков и умений в ситуации, приближенной к реальной | Участники предупреждены об учебных целях эвакуации, но, как правило, не информированы о времени и сценарии учения |
| Неанонсированная эвакуация | Закрепление (проверка) выработанных навыков и умений в ситуации, максимально приближенной к реальной | Никто (кроме высшего руководства) не знает о проведении учения. Учение максимально приближено к реальности |
При проведении учений в ОП «Энергосбыт» создаются условия, отчасти напоминающие проявления пожара, используют генераторы химического дыма. На рис. 2.12 представлено данное устройство.
Рисунок 2.12Генератор дыма для учений по эвакуации людей
в ОП «Энергосбыт»
В заключение, отмечу, что в ОП «Энергосбыт» также организовали тренировки по технике пожарной безопасности для всех работников предприятия. По итогам месячника получено задание усилить противопожарный режим и контроль в ОП «Энергосбыт», в том числе и в ночное время. Хочется подчеркнуть, что качественное обучение действиям при пожаре и повышение культуры безопасности в целом может существенно снизить риск и сохранить множество жизней.
2.4 Выявление проблем организации пожарной безопасности объекта
Несмотря на изложенное в подпункте 2.2, в ОП «Энергосбыт» ПАО «Сахалинэнерго» существует ряд недостатков в организации пожарной безопасности, перечислим их:
1) Не установлен соответствующий пожарной опасности ОП «Энергосбыт» противопожарный режим. Так, требуемый уровень обеспечения пожарной безопасности людей должен быть обеспечен выполнением требований нормативных документов по пожарной безопасности или обоснован и составлять не менее 0,999999 предотвращения воздействия опасных факторов в год в расчете на каждого работника ОП «Энергосбыт» ПАО «Сахалинэнерго», а допустимый уровень пожарной опасности для людей быть не более 10-6 воздействия опасных факторов пожара, превышающих предельно допустимые значения, в год в расчете на одного человека. Обоснования выполняются по утвержденной в установленном порядке Методике [14].
2) В ОП «Энергосбыт» не принимаются меры по усовершенствованию средств тушения пожара и пожарной техники. Так, наиболее эффективной системой тушения пожаров, на современном этапе развития, считается порошковая система пожаротушения, считаю, что именно такую систему более целесообразно будет внедрить в ОП «Энергосбыт» ПАО «Сахалинэнерго».
3) В производственных объектах ОП «Энергосбыт» ПАО «Сахалинэнерго», отсутствуют стандартные знаки безопасности около оборудований, имеющих повышенную пожарную опасность. Около оборудования, имеющего повышенную пожарную опасность, всегда следует вывешивать стандартные знаки безопасности. Так, правила противопожарного режима в РФ (Постановление Правительства РФ №390 от 25.04.2012 г.), п. 20, требование которого следующее:
- Руководитель организации обеспечивает наличие на дверях помещений складского и производственного назначения и наружных установках обозначение их категорий по пожарной и взрывопожарной опасности, а также класса зоны в соответствии с главами 5,7,8 Федерального закона «Технический регламент о требованиях пожарной безопасности» [3].
При этом, в Постановлении Правительства РФ №390 от 25.04.2012 г., не указано требования к обязательному определению категории помещений, но, фактически при проверках, представители надзорных органов требуют технический отчет, подтверждающий надписи (обозначение) на дверях указанных выше помещений.
4) Отсутствуют изготовленные из несгораемых материалов противопожарные двери и окна. Так, согласно СНиП 21-01-97 [7] противопожарные преграды предназначены для предотвращения распространения пожара и продуктов горения из помещения или пожарного отсека с очагом пожара в другие помещения. К противопожарным преградам СНиП 21-01-97 [7] относит противопожарные стены, перегородки, перекрытия, зоны, тамбуры-шлюзы, двери, ворота, окна, люки, клапаны.
5) Проведение учений и противопожарных тренировок не соответствуют установленным срокам. Проведение противопожарных тренировок регламентирует РД 34.12.202 «Инструкция по организации противопожарных тренировок на энергетических предприятиях и в организациях» п. 2 Периодичность проведения противопожарных тренировок. Так, согласно данной Инструкции, каждый работник ОП «Энергосбыт» ПАО «Сахалинэнерго» должен участвовать один раз в полугодие в одной плановой противопожарной тренировке.
Из вышеперечисленного, можно сделать вывод о недостаточной эффективности отдела охраны труда, в частности по организации пожарной безопасности в ОП «Энергосбыт»ПАО «Сахалинэнерго» и о целесообразности проведения мероприятий по ее совершенствованию.
Разработка рекомендаций необходима для более оптимальной организации пожарной безопасности в ОП «Энергосбыт»ПАО «Сахалинэнерго» с целью снижения риска пожаров до приемлемого уровня и сохранения жизни и здоровья работников. Произведем расчет пожарных рисков для ОП «Энергосбыт» ПАО «Сахалинэнерго», после чего можно будет разработать конкретные мероприятия по улучшению организации пожарной безопасности в ОП «Энергосбыт» ПАО «Сахалинэнерго» и по снижению пожарного риска.
3 РАСЧЕТ И АНАЛИЗ ПОЖАРНЫХ РИСКОВ ОП «ЭНЕРГОСБЫТ» ПАО «САХАЛИНЭНЕРГО»
3.1 Понятие пожарного риска
Пожарный риск –инструмент, позволяющий собственнику объекта понимать, что он не переплачивает за пожарную безопасность, а органам надзора убедиться в том, что требования пожарной безопасности на данном объекте соблюдены в обоснованно достаточном объеме [18].
Понятие «Пожарный риск», введено в обиход Федеральным законом Российской Федерации № 123-ФЗ «Технический регламент о требованиях пожарной безопасности» [3].
Статья 6 Федерального закона говорит о том, что пожарная безопасность объекта считается обеспеченной если выполнены все требования и Федерального закона и нормативных документов [3].
Считается, что выполнение всех вышеуказанных требований автоматически означает, что значение пожарного риска на данном объекте не превышает допустимых значений. В то же самое время Федеральный закон допускает невыполнение требований нормативных документов при условии обоснования отхождения от требований расчетом пожарного риска.
Вышесказанное не следует понимать, что расчет пожарного риска – это инструмент ухода от требований нормативной документации, расчет пожарного риска – это скорее инструмент обоснованного подбора мероприятий, компенсирующих невыполнение тех или иных требований нормативных документов.
Таким образом собственник объекта, исходя из соображений экономической целесообразности, сам может определять перечень мероприятий для обеспечения пожарной безопасности на своем объекте, а инспектор Государственного пожарного надзора – не сомневаться в достаточности проведенных мероприятий.
















