ПЗ_ГОТОВ ПОЛНОСТЬЮ (1194735), страница 8
Текст из файла (страница 8)
Аппаратура защиты должна отключать поврежденный участок, при достижении током короткого замыкания определенного значения, на которое эта аппаратура настроена. Такое срабатывание аппаратуры защиты обеспечивается образованием в месте повреждения плотного электрического контакта со сравнительно низким сопротивлением, что повышает ток короткого замыкания. Для того, чтобы обеспечить безопасность обслуживающих работников и других лиц, увеличить надежность защиты контактной сети от токов короткого замыкания осуществляется заземление критических устройств, которые могут оказаться под напряжением из-за нарушения изоляции или при их соприкосновении с оборванными проводами. Заземление выполняется присоединением таких устройств к рельсам. При таком присоединении не должны ухудшаться надежность и устойчивость работы автоблокирующих устройств и устройств электрической централизации. Так же должны быть обеспечены условия защиты подземных сооружений от их коррозии блуждающими токами.
Искровой промежуток защищает арматуру фундаментов и опор контактной сети от протекания по ним блуждающих токов, предотвращает пропуск тока в рельсовые цепи в случае пробоя изоляции контактной сети или воздушной линий продольного электроснабжения, которая проходит по опорам контактной сети. Искровой промежуток должен безотказно выполнять следующие задачи: не пропускать ток с рельсовой сети на опору, удерживать цепь к тяговому рельсу при пробое основной изоляции контактной подвески. Искровой промежуток не должен влиять на работу рельсовой цепи СЦБ.
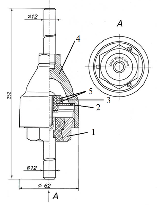
Конструкция искрового промежутка изображена на рисунке 3.4. Прибор выполнен в негерметичном, чугунном корпусе. Искровой промежуток состоит из корпуса 1 с крышкой 4. Внутри корпуса находится съемная вставка, имеющая две контактные шайбы 5 со слюдяной прокладкой 3 между шайбами. Экран 2 в виде карболитового кольца предотвращает приваривание съемной вставки к крышке при пробое промежутка.
Рисунок 3.4 - Конструкция искрового промежутка ИП – 3.
Пробивное напряжение искрового промежутка составляет 800 – 1200 В. Искровой промежуток одной стороной присоединяют к заземляющему проводу, идущему к рельсу, а другой к опоре или к заземляющему спуску, который проложен по опоре. Рабочий искровой промежуток должен иметь изоляцию между выводами при снятой вставке с сопротивлением 10 Мом. Он должен обеспечивать пропуск ударного тока для одностороннего питания: с импульсом 7 – 9 кА и временем протекания 0,04 – 0,06 с; для двустороннего питания: с таким же импульсом и последующем протекании в течении 0,3 с
В нормальном режиме работы заземляемая конструкция и рельсы изолированы друг от друга. Они должны соединяться только когда искровой промежуток оказывается под предельным напряжением и пробивается. Разрядник разряжает опасную зону волны перенапряжения на землю с немедленным последующим восстановлением нормальной изоляции сети относительно земле. Ток течет через разрядник, при достижении установленного значения приложенного напряжения 0,8 -1,2 В пробивая искровой промежуток. Таким образом, в защищаемых устройствах ограничивается перенапряжение. Вольт – секундная характеристика искрового промежутка должна быть ниже соответствующей характеристики защищаемых устройств. После пробоя, линия, через сопротивление разрядника, заземляется. Напряжение на линии определено током, который проходит через искровой промежуток, сопротивления искрового промежутка и заземления. Чем меньше указанные сопротивления, тем более эффективно ограничивается перенапряжение на защищаемых устройствах. Через искровой промежуток во время пробоя протекает ток - короткое замыкание на землю. Искровые промежутки должны проверяться на наличие целостности, соответствие проекту для заземляющих устройств. Должны проверяться сечение и прочность проводников заземления, их соединения и присоединения (отсутствие обрывов, видимых дефектов проводников). Должно проверяться соответствие установленным требованиям электрических сопротивлений заземляющих устройств. Электрические параметры искрового промежутка должны соответствовать нормальным значениям (таблица 3.3). Срок службы прибора 24 мес.
Таблица 3.3 - Электрические параметры искрового промежутка при приемке и поставке искровых промежутков
| Наименование параметра, единица измерения | Нормальные значения | ||
| Не менее | Номинал | Не более | |
| Статическое напряжение пробоя, кВ | 0,8 | - | 1,2 |
-
Модернизация защиты опор с использованием газоразрядного защитного устройства многократного действия ГРПЗ – 1У
Для того, чтобы улучшить технических характеристики используемых искровых промежутков, нами предлагается замена искровых промежутков ИП – 3 на искровые промежутки ГРПЗ – 1У. ГРПЗ – 1У обладает улучшенными параметрами влагозащищённости и коррозионной стойкости предназначен для защиты арматуры фундаментов и опор контактной сети от протекания блуждающих токов. Внешний вид устройства изображен на рисунке 3.5.
Рисунок 3.5. ГРПЗ – 1У.
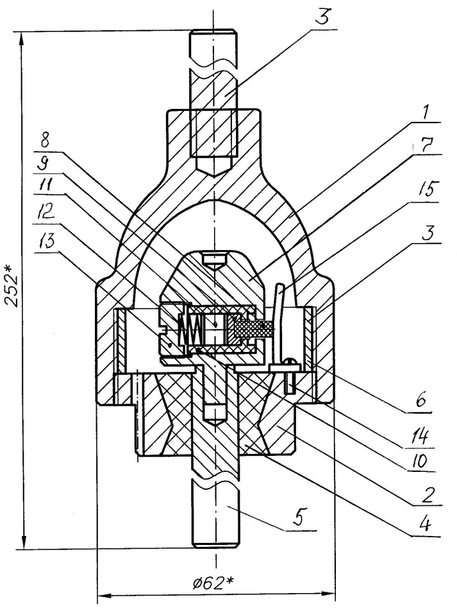
Прибор предназначен также для пропуска тока в рельсовую цепь при пробое изоляции контактной сети или воздушных линий продольного электроснабжения, проходящего по опоре контактной сети. Конструктивное устройство прибора показано на рисунке 3.6.
Рисунок 3.6 Устройство ГРПЗ – 1У.
Прибор выполнен в негерметичном чугунном корпусе, который состоит из двух частей - крышки 1 и основания 2. В основании есть отверстия для выхода газов и продуктов горения электрической дуги при срабатывании прибора. Отверстия заполнены веществом большой консистенции. Основание и крышка оцинкованы и окрашены. В крышку с применением графитовой смазки ввинчен верхний ввод 3. В основание запрессован через изолятор 4 нижний ввод 5. Крышка навинчена на основание. Глубина закрутки основания в крышку ограничена кольцом 6. В нижний ввод запрессован центральный электрод 7. В центральный электрод помещен узел поджига, состоящий из композитного стержня 8, втулки крепления стержня 9, изолирующей втулки 10, газонаполненного разрядника 11 и пружины 12. Узел поджига зафиксирован в теле центрального электрода ввернутой в него втулкой 13. Втулка фиксирована точечной контактной сваркой. К основанию двумя винтами 14 прикручен дополнительный электрод 15. Винты крепления этого электрода фиксированы точечной контактной сваркой. С дополнительным электродом находится в контакте композитный стержень, проходящий через отверстие в стенке центрального электрода.
Принцип действия прибора основан на инициировании процесса дугообразования высокостабильным миниатюрным газонаполненным разрядником и пространственным разделением зоны инициирования электрического разряда и рабочей зоны – области горения мощной электрической дуги. Для этого организован цикл из 4-х последовательных стадий развития газового электрического разряда. При достижении напряжения между верхним и нижним вводами величины 1,3-1,7 кВ происходит пробой разрядника. Это вызывает развитие 2-й стадии работы прибора – формирование поверхностного разряда на композитном стержне. Это инициирует появление электрического разряда между центральным и дополнительным электродами. Протекающий по ним ток создает магнитное поле, перемещающее разряд к сфере крышки прибора. На следующей стадии разряд развивается в рабочей области – между сферой центрального электрода и крышкой. Длительность первых 3-х стадий – единицы мс. Длительность последней стадии – до 0,3 с. Поскольку зона горения дуги отделена от зоны возникновения дуги, где расположен газонаполненный разрядник, прибор не изменяет своих электрических параметров в течение не менее чем 12 пробоев и пропусков тока короткого замыкания амплитудой до 10 кА с длительностью до 70 мс.
Таблица 3.5 - Сравнение характеристик ИП – 3 и ГРПЗ – 1У
| Параметр | ИП – 3 | ГРПЗ – 1У |
| Напряжение пробоя, В | 800 – 1200 | 1400-1700 |
| Амплитуда тока пробоя, кА | До 9 | До 9 |
| Длительность импульса, мс | 40-300 | 40 |
| Количество пробоев | 1 | 12 |
Потенциал рельсовой цепи на перегоне Домикан – Архара составляет
В. При таком потенциале на рельсовой цепи относительно земли, искровой промежуток ИП-3 с пробивным напряжением 800-1200В пробивается систематически. Это увеличивает частоту необходимой замены защитных устройств. Таким образом, искровые промежутки ИП-3, применяемые на рассматриваемом перегоне, следует заменить защитными устройствами с большим пробивным напряжением, в качестве которых в настоящей работе предлагаются газоразрядные защитные устройства многократного действия ГРПЗ – 1У. Как следует из представленных в таблице 3.5 данных, устройство ГРПЗ – 1У имеет значительно улучшенные по сравнению с ИП-3 рабочие характеристики и может быть успешно использовано для замены последних на перегоне Домикан – Архара. Экономическая эффективность предлагаемого технического решения будет показана в следующей главе.
-
ЭКОНОМИЧЕСКАЯ ЭФФЕКТИВНОСТЬ РАЗРАБОТАННЫХ ТЕХНИЧЕСКИХ РЕШЕНИЙ
-
Определение экономической эффективности и реального срока окупаемости в результате внедрения устройства по защите рельсовых цепей от влияния заземленных конструкций типа ГРПЗ –1У
Железная дорога это очень сложная техническая система. Различные отрасли – хозяйства железной дороги образуют ее подсистемы. Одна из таких подсистем – это электроснабжение железнодорожного транспорта. Все составные подсистемы железной дороги функционируют с целью обеспечения перевозок грузов и пассажиров.
Один из важнейших показателей эффективности функционирования любой технической системы – это надежность системы. Надежность теснейшим образом связана с экономическими показателями работы системы. Оптимальная надежность определяется по экономическим затратам и возможному ущербу от отказов системы. Чем выше будет надежность, тем меньше будет ущерб от отказов технических устройств системы. В тоже время, для увеличения надежности, как правило, необходимо увеличение затрат.
Суммарный ущерб от отказов устройств транспорта определяется степенью использования пропускной способности рассматриваемого участка железной дороги. Увеличение времени восстановления работоспособности устройства, вызвавшего нарушение графика движения, влечет за собой увеличение числа задержанных поездов. Надо иметь в виду, также, что отказы приводят не только к нарушениям технологического процесса перевозки пассажиров и грузов, но также могут привести к крушениям поездов, к гибели людей и к экологическим катастрофам. Увеличение веса составов поездов и интенсификация эксплуатации устройств железнодорожного транспорта, увеличивает частоту отказов работы систем железной дороги.
Вследствие указанного увеличения нагрузки на участке Домикан – Архара значительно участились случаи ненормальной работы автоблокировки из-за выхода из строя защитных устройств цепей заземления тяговой сети. Такие нарушения нормальной работы привели к существенным экономическим затратам. Эти затраты были понесены как результат вынужденных простоев поездов, а также затрат на восстановление работоспособности поврежденных элементов цепи. Для уменьшения этих затрат нами предлагается использовать в цепях заземления прибор защиты искровой промежуток типа ГРПЗ – 1У вместо ИП-3.
Для оценки целесообразности внедрения предложенного технического решения основное значение имеют величина годового приведенного экономического эффекта, также срок окупаемости внедренных устройств.















