ДИПЛОМ (1193795), страница 5
Текст из файла (страница 5)
; (64)
0.52 = 0.68 м
- определены замером с масштабной схемы = 0,4м;
Составляется уравнение моментов сил относительно шарнира "А":
(65)
Откуда
= 252480 Н;
Диаметр гидроцилиндра определяется по формуле:
(66)
Принимается гидроцилиндр двухстороннего действия ЦГ 2-85.40.400 [2]:
Рисунок 31. Гидроцилиндр наклона
| Диаметр цилиндра, мм | 125 |
| Диаметр штока, мм | 114 |
| Ход штока, мм | 326 |
| Давление номинальное | 16 |
| Давление максимальное , МПа | 20 |
| Скорость поршня, м/с | 0,5 |
| Гидромеханический КПД | 0,94 |
| Масса, кг | 23 |
2.5 Управление и определение веса поднятого груза
Весы для вилочного погрузчика принтером представляют собой полуавтоматическую бортовую систему для измерения массы груза, расположенного на вилах погрузчика, при выполнении погрузочно-разгрузочных работ. Весы для вилочного погрузчика обеспечивают высокую точность измерений.
Электронные вилочные весы обладают самыми разными преимуществами, главным из которых является безопасность погрузочных работ. Поскольку превышение допустимого уровня подъема груза может быть опасным как для машины, так и для оператора и окружающих людей, наличие информации о весе. С использованием весов можно быть совершенно уверенным, что весь процесс разгрузки и погрузки происходит исключительно в безопасном режиме.
Еще одно преимущество вилочных весов для погрузчика – связь с другими программами. Их можно заранее программировать таким образом, чтобы вся информация по системе управления складом и терминалом отражалась в учете. Такая технология помогает значительно сокращать время на выполнение разных учетных функций и открывает широкие возможности перед пользователями. Все учетные данные, вилочные весы хранят в своей электронной памяти, и они могут быть распечатаны в любое необходимое время. Встроенный принтер позволяет моментально распечатывать результаты в виде чека. Весоизмерительное система очень проста в установке, подходит для погрузчиков различных типов. Вилочные весы для погрузчика имеют мобильное исполнение, монтируются на грузоподъемные вилы автокара, погрузчика, позволяют поднимать, перемещать и одновременно взвешивать грузы по принципу крановых весов.
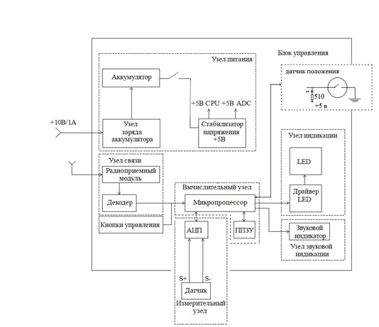
Весовой индикатор крепится в кабине с помощью магнитного фиксатора или любым другим удобным способ, обеспечивающим защиту от повреждений и свободный доступ оператора к клавиатуре.
Индикатор подключается к бортовой сети погрузчика. К индикатору подключаются датчик положения и датчик давления.
Место установки датчика давления зависит от модели погрузчика, на которую устанавливается система. Датчик давления должен быть установлен в линию нагнетания масла гидравлической магистрали подъемных гидроцилиндров вилочной площадки. Между полостью гидроцилиндра подъема стрелы и датчиком давления не должно быть клапанов блокировки гидравлических распределителей. Это необходимо для получения постоянного пропорционального давления масла при неподвижных вилах.
Сигнал с датчиков поступает по проводной линии на АЦП блока управления.
2.6 Техническое описание весов
Принцип работы весов основан на преобразовании величины деформации тензометрического датчика (E-ART6), которая возникла вследствие приложенной нагрузки, в электрический сигнал с последующей цифровой обработкой и отображением на дисплее блока управления весов. В весах используется тензометрический датчик (E-ART6) силы, работающий на растяжение. Датчик изготовлен из конструкционной стали с никелевым покрытием. На датчик наклеена мостовая схема из тензорезисторов – тензорезисторный мост. При изменении нагрузки на датчик пропорционально изменяется выходной сигнал тензорезисторного моста
датчика (Uсиг.).
Структурная схема весов
Рисунок 32. Структурная схема весов
2.7 Расчет устойчивости автопогрузчика.
Вилочные погрузчики проверяют на продольную и поперечную устойчивость. Расчет на устойчивость производится в четырех случаях. В первых трех случаях устойчивость проверяется по расчету коэффициента грузовой устойчивости. Он определяется как отношение суммы моментов всех сил, действующих на сам погрузчик относительно ребра опрокидывания и без учета момента груза к моменту, создаваемому грузом относительно того же ребра опрокидывания. В четвертом случае проверяется допустимое отклонение (смещение) центра тяжести погрузчика в сторону ребра опрокидывания при боковом повороте.
2.7.1 Расчет погрузчика на продольную устойчивость.
Первый случай: автопогрузчик стоит на горизонтальной площадке с поднятым на полную высоту номинальным грузом и отклонением вперёд до отказа грузоподъёмником.
В расчёте следует учитывать дополнительный наклон грузоподъёмника в перёд из-за посадки переднего моста и упругой деформации элементов конструкции (Рисунок 8). Такой случай встречается при штабелирования груза и считается самым тяжёлым для устойчивости.
В расчете принимаем значения силы в (Н) линейные размеры в (м). При расчёте приняты обозначения:
- номинальный вес груза (по заданию) = 4,950 9,8 = 48510 Н;
G2 - вес грузоподъемника, без погрузчика;
G2 = Gв + Gк +
= 3400 + 6468 + 3740 = 13608Н; (67)
G1 - вес автопогрузчика, без грузоподъемника;
G1 = Gп – G2= 76440 – 13608 = 62832 Н (68)
где
= 7800 9,8 = 76440 Н
- ось поворота рамы грузоподъёмника;
- суммарный угол отклонения грузоподъемника вперед; (69)
- угол наклона грузоподъёмника вперёд до отказа, по заданию =
;
- угол наклона погрузчика вперёд из-за просадки переднего моста и деформации шин,
;
β = β1 + β2= 5 + 2 =
,
– вылет центра тяжести погрузчика от оси передних колёс и его
высота от земли;
,
– координаты оси поворота грузоподъёмника относительно оси
передних колёс;
b' = l cos + h sin – проекция расстояний центра тяжести груза от
шарнира рам на опорную плоскость (70)
b" =
sin – проекция расстояний центра тяжести грузоподъемника
от шарнира рам на опорную плоскость (71)
h – расстояние от шарнира рамы до центра тяжести груза при максимально поднятых вилах: h =
= 3.12 м
– h +
+ c +
-
(72)
4 - 2.425 + 0.85 + 0.87 + 0.35 – 0.52 = 3.12 м
– расстояние от шарнира рамы до центра тяжести грузоподъемника при максимально поднятых вилах:
=
= 2,27 м
; (73)
4
0.52 =2,27 м
;
;
;
- параметры, определяемые замером с масштабной схемы, следующие
= 40 к = 1600 мм = 1,6 м;
= 18.5 k = 740мм = 0,74 м;
= 5 k = 200 мм = 0,2 м;
= 13 k = 520 мм =,052 м; k - масштабный коэффициент = 40;
Рисунок 33. Схема для определения продольной устойчивости (при штабелировании) вилочных погрузчиков с поднятым грузом.
L – расстояние от оси цилиндра подъёма до центра тяжести груза
L= 76 + 14.5 = 90.5 см = 0,905 м;
= 2,27 м;
h = 3.12 м;
По формуле (70) b' = 0,905 cos7 + 3,12 sin7 = 1,27 м;
По формуле (71) b" =
sin7 = 0,27 м
Коэффициент грузовой устойчивости находим по формуле
(74)
= 1.3
Второй случай: автопогрузчик с поднятым на полную высоту номинальным грузом и наклонным вперед грузоподъемником стоит на площадке с продольным уклоном (рисунок 6)
Рисунок 34. Схема для определения продольной устойчивости вилочных погрузчиков с поднятым грузом на уклоне.
При расчёте (помимо указанных в первом случае) приняты следующие обозначения:
a – угол наклона площадки. Рекомендовано уклон площадки принимать равным 4 % (a = 216) для автопогрузчиков грузоподъёмностью до 5 т включительно.
(75)
расстояние по вертикали от уровня площадки до центра тяжести груза, находящегося на полностью поднятых вилах и наклоненном вперед грузоподъемнике.
cos7- 0.6 sin7 = 2.6
Коэффициент грузовой устойчивости в соответствии с принятыми на рисунке обозначениями рассчитывается по формуле:
|
| (76) |
= 1,17 1,15
3.Технологический раздел
Палец предназначен для соединения штока гидроцилиндра и крепежной плиты ковша. Сборочной базой является рабочий диаметр пальца. Установочной базой при обработке являются центровые отверстия. Измерительной базой пальца являет левый торец.
Описание конструкции и условий ее работы в механизме. Палец имеет проточки, предназначенные для смазки подвижных частей в соединении, и отверстия с резьбой для его крепления. Поверхность пальца с 35мм шлифуются, так как он должен плотно устанавливаться в соединении. При работе палец испытывает напряжение изгиба.
Материал детали – сталь 45 ГОСТ1050-74 обладает следующими механическими свойствами:
1) твердость отоженной стали 197 HB;















