ДИПЛОМ (1193795), страница 4
Текст из файла (страница 4)
, (29)
где
- вес номинального груза
- вес каретки с вилами без груза;
- вес выдвижной рамы с плунжером цилиндра, траверсой, роликами и цепями;
- механические кпд цепной передачи (грузовые цепи перекинуты через ролики траверсы) и цилиндра,
Вес каретки с вилами без груза, определяется по формуле:
(30)
где
- 660 кг, масса каретки с вилами, для проектного расчета можно брать по табл. 2.
Вес выдвижной рамы с плунжером цилиндра определяется по формуле:
(31)
Где
– масса выдвижной рамы с плунжером цилиндра и траверсой, отнесенная к 1 м высоты грузоподъёмника, кг/м (для проектного расчёта можно брать по табл. 2) принимается
;
- длина выдвижной рамы, м, определяется по формуле:
, (32)
где Н – высота подъема груза = 3,15м;
- расстояние между нижним катком выдвижной рамы и верхним катком выдвижной рамы, принимаем
;
- расстояние между верхними и нижними основными катками у каретки по вертикали, a = 70 см = 0,70 м.
- наружный диаметр основных катков, принимается
= 0,13м согласно табл. 2.
Реакции по основным каткам каретки
и
расчитываются из выражения:
, (33)
- реакция по основным каткам внутренней и наружной рам;
В расчетах для упрощения можно принять, что
=
Rв=Rн =
(34)
где:
,
- плечи приложения сил
и
относительно оси передней ветви
грузовых цепей по табл. 2, принимаются
= 76см=0,76м и
=11см=0,11м
– расстояние между нижним катком выдвижной рамы и верхним катком выдвижной рамы, м
= (1,1...1,25) a = 70 1,22 = 0,85м;
Rв = Rн =
= 44209 Н
По основным каткам, кроме указанных реакций, у наружной и внутренней рамы возникают реакции Rн и Rв , вызываемые парой сил 2F от внецентренного закрепления концов грузовых цепей на корпусе цилиндра подъёма относительно оси плунжера на плече L2 =0,13 м.
Пара сил 2F определяется по выражению
2F=
(35)
где
– усилие в одной ветви грузовых цепей;
(36)
- высота от шарового шарнира цилиндра подъёма на нижней поперечине наружной рамы до оси роликов траверсы или выдвижной рамы, через которые перекинуты грузовые цепи.
, (37)
H - наибольшая высота подъёма.
= 3.15 + 0.85= 4 м,
- расстояние от оси цилиндра до задней плоскости грузовых цепей, принимаем
= 13см = 0.13м, согласно табл. 2.
- вес каретки и выдвижной рамы в сумме,
= Gк + Gв = 6468+3403=9871Н;
Общий коэффициент сопротивления качению катков определяется:
, (38)
где
- коэффициент трения второго рода (плечо трения качения)
(
);
- условный коэффициент трения, учитывающий качение шариков (роликов) по дорожке внутреннего кольца подшипника. (
).
- диаметр основных катков см; (Dк = 13см);
- диаметр оси катка см;
Подставляя известные значения в (36) получится:
Подставляя известные значения в (35) получится
2F =
= 1011,97 Н
Теперь, определив значения сил 2F, можно рассчитать реакцию по верхнему катку наружной рамы:
, (39)
где
– расстояние от оси нижнего катка выдвижной рамы до оси роликов для грузовых цепей на траверсе или верхней поперечине выдвижной рамы,
. (40)
Сопротивление, вызываемое качением основных катков по направляющим:
, (41)
Зная все значения, определяется числовое значение сопротивления
:
Сопротивление подъему груза при качении боковых катков:
, (42)
где
- общий коэффициент сопротивления качению боковых катков;
- реакции по боковым каткам соответственно каретки, наружной и внутренней рам.
Реакции по боковым каткам каретки определим по формуле:
(43)
где
- угол уклон с боковым креном наклона, принимается
.
Реакции по боковым каткам наружной и внутренней рам определим по формулам:
Реакции по боковым каткам наружной и внутренней рам рассчитаем по формулам:
, (44)
, (45)
где
- расстояние между нижним катком каретки и верхним у наружной рамы по высоте (
);
- расстояние от оси основного катка до конца выдвижной рамы
(
)
Lв – длина выдвижной рамы = 2,57 м.
Общий коэффициент сопротивления качению боковых катков определяется:
Определим общий коэффициент сопротивления качению боковых катков по формуле;
, (46)
где
- наружный диаметр бокового катка (
);
- диаметр оси бокового катка (
);
- коэффициент трения скольжения (
).
(47)
Зная все значения, определяется числовое значение сопротивления
:
Тогда, усилие на штоке гидроцилиндра, необходимое для подъема груза будет равно:
2.4.2 Расчет гидроцилиндра подъёма груза.
Диаметр плунжера определим по формуле:
(48)
где
– число гидроцилиндров, работающих одновременно; (
=2)
рабочее давление в системе, МПа; (в соответствии с аналогом, принимаем
18 МПа )
- потери давления в напорной линии от насоса до гидроцилиндра составляют 20% от
(3,6МПа);
– механический КПД гидроцилиндра; (в соответствии с рекомендацией [1], принимаем
= 0,96 МПа )
КПД пары шарнирных подшипников с густой смазкой (
).
Ход плунжера принимается равным половине максимальной высоты подъема груза:
|
| (49) |
Рисунок 28. Гидроцилиндр подъема груза
| Диаметр поршня, (плунжера) d, мм | 80 |
| Ход плунжера, мм | 1500 |
| Давление, МПа | |
| номинальное | 18 |
| максимальное | 20 |
| Скорость плунжера, м/с | |
| максимальная | 0,3 |
| Гидромеханический КПД | 0,94 |
| Масса, кг | 145 |
2.4.3. Расчет грузовых вил
Рисунок 29 - Расчетная схема грузовых вил
где А-А опасное сечение
Грузовые вилы можно рассчитать на сложное сопротивление изгибу и
растяжению. Напряжение в опасном сечении рассчитывается по формуле
(50)
Сила растяжения опасного сечения вил:
(51)
- коэффициент динамичности нагружения.
Изгибающий момент опасного сечения вил:
(52)
-плечо действия силы, принимается в соответствии с аналогом
Сечение вил:
(53)
где s - толщина вил, м; в соответствии с аналогом s = 0.060м;
b - ширина вил, м; в соответствии с аналогом b = 0.15м.
Момент сопротивления для прямоугольного сечения вил;
(54)
Зная все значения, определяется числовое значение в опасном сечении вил по формуле;
Допускаемое напряжение, в пределах которого возможна работа вил
без остаточных деформаций и других повреждений:
В качестве материала принимаем Сталь 50Г ГОСТ 4543-71,
(55)
где σ т– предел текучести материала, принимаем для стали 50 Г σт = 390 МПа.
260 МПа
Рассчитанное напряжение сравнивается с допускаемым
; 260 218. (56)
Данное сечение имеет достаточный запас прочности.
2.4.4 Расчет механизма наклона грузоподъемника
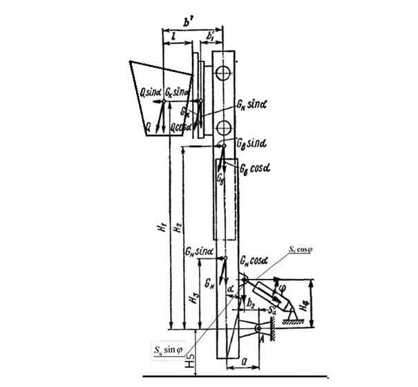
Рисунок 30 - Схема действия сил в механизме наклона грузоподъёмника
Примем следующие обозначения:
- вес груза (
= 48510 Н);
- веса:подъёмной каретки с вилами выдвижной рамы с плунжером; цилиндра подъёма и траверсы с роликами и наружной рам;
= 6468 H
Gв= 3400 Н
Gн = 1.1 ∙ Gв= 3740 Н (57)
- высота от оси поворота грузоподъёмника соответственно до центра тяжести груза и подъёмной каретки с вилами, выдвижной и наружной рам и до оси крепления штока цилиндров наклона к наружной раме;
- замерено с масштабной схемы - 0,4м;
- расстояние от (земли) до оси шарнира крепления грузоподъемника к раме погрузчика,
(58)
к- масштабный коэффициент = 40;
= 0,145 м;
b – расстояние от центра тяжести груза до плоскости грузовых цепей = 0,76м;
; (59)
- расстояние центра тяжести подъёмной каретки от оси рам, равное
; (60)
- расстояние от середины спинки вил до плоскости грузовых цепей = 0,11м
- расстояние между шарнирами оси поворота грузоподъёмника и штока цилиндра и штока цилиндра наклона на наружной раме, замерено с масштабной схемы - 0,08 м;
- усилие по штокам цилиндров;
φ - угол наклона цилиндра с учётом угла наклона грузоподъёмника вперёд на угол α, замерено с масштабной схемы
.
a – расстояние по горизонтали от средней оси рам до центра поворота грузоподъёмника, замерено с масштабной схемы = 0,16м
- от передней спинки вил до центра груза, принимается согласно аналогу,
- расстояние от оси основного катка до конца выдвижной рамы;
- расстояние от оси поворота грузоподъёмника до центров тяжести груза и подъемной каретки
– высота от шарового шарнира цилиндра подъёма на нижней поперечине наружной рамы до оси роликов траверсы или выдвижной рамы, через которые перекинуты грузовые цепи – 4 м;
– h +
+ c +
-
(61)
4 - 2.425 + 0.85 + 0.87 + 0.35 – 0.52 = 3.12 м
– расстояние от оси поворота грузоподъёмника до центра тяжести выдвижной рамы;
где
– расстояние от оси нижнего катка выдвижной рамы до оси роликов для грузовых цепей на траверсе или верхней поперечине выдвижной рамы
h=
2,425м (62)
; (63)
4
0.52 =2,27 м
- расстояние от оси поворота грузоподъёмника до центра тяжести наружной рамы;








