диплом (1191995), страница 5
Текст из файла (страница 5)
На рамах гусеничных тележек из труб прямоугольного профиля установлены опорные и поддерживающие катки, натяжное колесо и механизм сдавания гусеницы.
За стандартную принята ходовая часть с пятикатковыми тележками, традиционных для тракторов ЧТЗ тягового класса 10. Семикатковые тележки применяются на тракторах для работы на слабых почвах ("болотоходах"). Совместно с башмаками шириной 900 мм они обеспечивают значительное понижение удельного давления на грунт.
2.5. Определение основных параметров машины и рабочего оборудования.
Рабочий орган бульдозера, содержащий основной отвал и дополнительный отвал, установленный перед основным отвалом и выполненный шириной, равной ширине основного отвала, а высотой меньше высоты основного отвала в нижней части на толщину стружки, в верхней - на высоту козырька, отличающийся тем, что он дополнительно снабжен буртиками, расположенными в нижней части основного отвала и выполненными высотой не менее высоты срезаемой стружки, а дополнительный отвал нижней частью установлен на буртики, образуя зазор между основным отвалом и тыльной стороной дополнительного отвала, а верхней частью прикреплен к основному отвалу с помощью механизма подъема-опускания, включающего стрелу, одним концом шарнирно закрепленную на основном отвале, рукоять, одним концом шарнирно соединенную с дополнительным отвалом, а другим шарнирно сочлененную со стрелой, и гидроцилиндры управления стрелой и рукоятью.
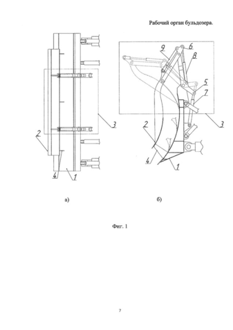
1 – кабина оператора, 2 – прицепное устройство ,3 – рама гусеничного хода, 4 – шарнир толкающей рамы, 5 – толкающая рама, 6 – база трактора, 7 – гидроцилиндр подъема отпускания отвала, 8- толкатель, 9- отвал, 10- очистное устройство в виде дополнительного отвала.
Рисунок 2.12- Модернизированный бульдозер с очистным устройством в виде дополнительного отвала.
Работа дополнительного отвала на бульдозере заключается в повышении производительности за счет снижения сил сопротивления грунта копанию благодаря снижению интенсивность налипания грунта на рабочую поверхность отвала и очистки ее от налипшего грунта.
Указанный технический результат достигается тем, что рабочий орган бульдозера содержит основной отвал, в нижней части которого не менее высоты срезаемой стружки, и дополнительный отвал, выполненный шириной равной ширине основного отвала, а высотой меньше высоты основного отвала в нижней части на толщину стружки, в верхней - на высоту козырька. Дополнительный отвал установлен перед основным отвалом, опираясь нижней частью на буртики, образуя зазор между основным отвалом и тыльной стороной дополнительного отвала, и прикреплен к основному отвалу с помощью механизма подъема-опускания. Механизм подъема-опускания включает стрелу, одним концом шарнирно закрепленную на основном отвале, рукоять, одним концом шарнирно соединенную с дополнительным отвалом, а другим шарнирно сочлененную со стрелой и гидроцилиндры управления стрелой и рукоятью.
Рисунок 2.13. а) - Вид сверху заявляемого рабочего органа, б) - вид сбоку.
Рабочий орган бульдозера содержит основной отвал 1 шириной равной 4120 мм и высотой равной 1140 мм, дополнительный отвал 2, шириной равной 4120 мм, а высотой равной 1000 мм, механизм подъема-опускания 3, буртики 4 высотой равной 120 мм. Механизм подъема-опускания 3 включает стрелу 5, рукоять 6, гидроцилиндр подъема-опускания 7 стрелы 5, гидроцилиндр поворота 8 рукояти 6, гидроцилиндр управления 9 рукоятью 6. Стрела 5 шарнирно соединена с основным отвалом 1 и с рукоятью 6, рукоять 6 в свою очередь шарнирно соединена с дополнительным отвалом 2 и стрелой 5.
Дополнительный отвал 2 нижней частью опирается на буртики 4, образуя зазор между дополнительным отвалом 2 и основным отвалом 1 равный высоте буртика, а верхней частью крепится к основному отвалу 1 с помощью механизм подъема-опускания 3
2.5.Взаимодействие рабочего органа с грунтом (материалом).
Краткое описание видов грунтов:
1)Пески - сыпучая смесь зерен кварца и других минералов крупностью 0,25...2 мм, образовавшаяся в результате выветривания горных пород;
2)Супеси - пески с примесью 5... 10% глины;
3)Гравий - горные породы, состоящие из отдельных скатанных зерен диаметром 2...40 мм, иногда с некоторой примесью глинистых частиц;
4)Глины - горные породы, состоящие из чрезвычайно мелких частиц (менее 0,005 мм), с небольшой примесью мелких песчаных частиц; суглинки - пески, содержащие 10...30% глины.
5)Суглинки делятся на легкие, средние и тяжелые; 6)лёссовидные грунты- содержат более 50% пылевидных частиц при незначительном содержании глинистых и известковых частиц.
7)Лёссовидные грунты при наличии воды размокают и теряют устойчивость;
8)Плывуны - песчано-глинистые грунты, сильно насыщенные водой;
9)Растительные грунты - различные почвы с примесью 1 ...20% перегноя.
Рабочий орган бульдозера работает следующим образом:
При заглублении основного отвала 1 в грунт и последующим движении машины, происходит срез слоя грунта, называемого стружкой. Затем стружка беспрепятственно поднимается вверх по основному отвалу 1, двигается в пространстве между рабочей поверхностью основного отвала 1 и тыльной поверхностью дополнительного отвала 2, а затем смешивается с основной массой призмы волочения. При этом при движении стружки по поверхности основного отвала происходить залипание грунта на рабочей поверхности основного отвала 1. После этого включается механизм подъема-опускания 3. При включении гидроцилиндра подъема-опускания 7 стрелы 5, а также гидроцилиндра поворота 8 рукояти 6, стрела 5 вместе с рукоятью 6 приводится в крайнее верхнее положение. После чего включают гидроцилиндр 9 и дополнительный отвал 2 приводится в такое положение, когда его нижняя кромка вступает в контакт с верхней кромкой основного отвала 1. После этого стрела 5 при помощи гидроцилиндра подъема-опускания 7 опускается вниз вместе с рукоятью 6 и дополнительным отвалом 2. Нижняя кромка дополнительного отвала скользит вниз по рабочей поверхности основного отвала 1 до упора в буртики 9, счищая налипший грунт. После этого дополнительный отвал устанавливается в первоначальное положение и работа продолжается.
2.6 Мощность приводов. Выбор двигателей и насосов.
На бульдозере ДЗ-109 Используется двигатель Д180.
В связи с внедрением дополнительного рабочего органа и недостаточной мощностью Д-108, производим замену на двигатель ЯМЗ-236Б-4.
Особенности двигателя ЯМЗ-236Б-4:
Входит в состав семейства шестицилиндровых V-образных дизелей производства Ярославского моторного завода.
Дизель четырехтактный с воспламенением от сжатия, непосредственным впрыском топлива, с турбонаддувом, жидкостным охлаждением, жидкостно-масляным теплообменником, механическим регулятором частоты вращения, может комплектоваться жидкостно-масляным теплообменником.
Дизельные моторы ЯМЗ-236Б-4 производятся без механизма отбора мощности, механизма гашения крутильных колебаний и сцепления.
Двигатель ЯМЗ-236Б-4 предназначен для установки на гусеничные тракторы Т-12 производства ЧТЗ-Уралтрак, а так же изделия на их базе.
Рисунок 23 – Двигатель ЯМЗ-236Б-4
Таблица 2 Технические характеристики двигателя ЯМЗ-236Б-4.
| Мощность, кВт (л.с.) | 184 (250) |
| Частота вращения, мин-1 | 2000 |
| Макс. крутящий момент, Н.м (кгс.м) | 1030 (105) |
| Частота при макс. крут. моменте, мин-1 | 1200-1400 |
| Мин. уд. расход топлива, г/кВт.ч (г/л.с.ч) | 215 (159)* |
| Габаритные размеры, мм (длина/ ширина/ высота) | 990/1045/1080 |
| Масса, кг | 980 |
| Назначение, потребитель | Гусеничный трактор Т12, изделия на его базе (ООО «ЧТЗ-Уралтрак») |
В бульдозере ДЗ-109 установлен топливный насос дизеля секционный четырехплунжерный, с топливоподкачивающим насосом поршневого типа, с пластинчатым корректором подачи топлива.
Топливоподкачивающий насос предназначен для подачи топлива от бака к топливному насосу и ручной прокачки топлива при удалении воздуха из топливной системы.
Двигатель ЯМЗ-236Б-4 имеет комбинированную систему смазки: под давлением от шестеренного масляного насоса и разбрызгиванием.
Масляный насос обеспечивает принудительную циркуляцию смазочного масла в двигателе. Масляный насос трехсекционный, с двумя нагнетательными секциями и одной откачивающей. Масло очищается в фильтре со сменными бумажными фильтрующими элементами «Реготмас».
Система охлаждения двигателя ЯМЗ-236Б-4 жидкостная, закрытая, с принудительной циркуляцией охлаждающей жидкости от центробежного насоса.
Регулирование температуры охлаждающей жидкости в системе автоматическое – двумя термостатами двойного действия.
При нагревании охлаждающей жидкости до 70 °С один из них перекрывает малый контур, направляя весь поток жидкости в радиатор, что повышает эффективность системы охлаждения.
2.7 Особенности конструкции и работы проектируемого оборудования.
В бульдозерах для подъема и опускания рабочего органа, позволяющего повысить производительность за счет снижения сил сопротивления грунта копанию благодаря снижению интенсивности налипания грунта на рабочую поверхность отвала и очистки ее от налипшего грунта.
Для решения поставленной задачи в рабочем органе бульдозера, содержащем основной отвал и дополнительный отвал, установленный перед основным отвалом и выполненный шириной равной ширине основного отвала, а высотой меньше высоты основного отвала в нижней части на толщину стружки, в верхней - на высоту козырька, дополнительно установлены буртики, расположенные в нижней части основного отвала и выполненные высотой не менее высоты срезаемой стружки, а дополнительный отвал нижней частью установлен на буртики, образуя зазор между основным отвалом и тыльной стороной дополнительного отвала, а верхней частью прикреплен к основному отвалу с помощью механизма подъема-опускания, включающего стрелу, одним концом шарнирно закрепленную на основном отвале, рукоять, одним концом шарнирно соединенную с дополнительным отвалом, а другим шарнирно сочлененную со стрелой и гидроцилиндры управления стрелой и рукоятью.
Признаками, отличающими заявляемое решение от прототипа, являются установка в нижней части основного отвала по всей его ширине буртиков, выполнение их высотой не менее высоты срезаемой стружки, установка дополнительного отвала нижней частью на буртики, с образованием зазора между основным отвалом и тыльной стороной дополнительного отвала, крепление дополнительного отвала своей верхней частью к основному отвалу с помощью механизма подъема-опускания, включающего стрелу, одним концом шарнирно закрепленную на основном отвале, рукоять, одним концом шарнирно соединенную с дополнительным отвалом, а другим шарнирно сочлененную со стрелой и гидроцилиндры управления стрелой и рукоятью.
Наличие отличительных признаков свидетельствует о соответствии предложенного решения критерию «новизна».
Благодаря отличительным признакам, снижается сопротивление копанию грунта и повышается производительность. Это обусловлено тем, что происходит уменьшение интенсивности залипание грунта на рабочей поверхности основного отвала. Уменьшение интенсивности залипание грунта на рабочей поверхности основного отвала происходит за счет исключения давления призмы волочения на стружку, продвигающуюся по поверхности основного отвала, которое воспринимается дополнительным отвалом. Очистка основного отвала от налипшего грунта осуществляется дополнительным отвалом, который с помощью подъма-опускания поднимается, вступает в контакт с поверхностью основного отвала и опускаясь очищает его.
2.8 Описание схем машины.
Гидравлическая схема.
Рисунок 24 – Схема гидравлического привода бульдозера.
Спаренные гидроцилиндры 20, 21 и 22 предназначены соответственно для создания перекоса универсальной рамы Рис. 5. Принципиальная гидравлическая схема бульдозера бульдозера, поворота отвала в плане, поворота рамы корчевателя и присоединяются к распределителю вместо гидроцилиндров 5, 7 и 8. Принцип действия гидропривода заключается в следующем. Из гидробака 1 рабочая жидкость подается насосом 2 в напорную секцию распределителя 3. Четырехпозиционный золотник А направляет поток жидкости в гидроцилиндры 4 подъема и опускания отвала бульдозера. Трехпозиционные золотники Б и В управляют гидроцилиндрами 5 и 6, изменяющими углы наклона и перекоса отвала. При одновременном выдвижении или втягивании штоков гидроцилиндров 5 и 6 изменяется угол наклона отвала, а при подаче жидкости в противоположные полости этих гидроцилиндров регулируется перекос отвала. Трехпозиционные золотники Г и Д управляют соответственно гидроцилиндрами 7 и 8 блокировки подвески ходовой части трактора и подъема - опускания корчевателя или рамы рыхлителя. В штоковой гидролинии гидроцилиндров подъема и опускания отвала бульдозера установлен дроссель 11 с обратным клапаном, который обеспечивает сплошность потока жидкости и замедление скорости опускания отвала. Присоединение гидроцилиндров к распределителю и соединение некоторых других гидролиний осуществляется с помощью быстроразъемных муфт 10 с обратными клапанами. Применение этих муфт позволяет уменьшить потери жидкости при выполнении монтажных работ и исключает попадание в гидросистему внешних загрязнений и влаги. Управляемый обратный клапан (гидрозамок) 9 предназначен для обеспечения сплошности потока жидкости и снижения скорости при опускании корчевателя или рамы рыхлителя под действием собственной массы. В гидравлической схеме предусмотрена возможность автоматического управления отвалом бульдозера с помощью трехпозиционного электрогидравлического золотника 12, который в зависимости от электрического сигнала специальных датчиков соединяет поршневые или штоковые полости гидроцилиндров с напорной гидролинией насоса. Автоматическое управление позволяет поддерживать постоянную глубину резания грунта или выполнять планировочные работы. Для автоматического регулирования отвалом бульдозера выполняется следующее.
Бульдозер ДЗ-109 с гидравлическим приводом подъем и принудительное опускание отвала осуществляются с помощью гидроцилиндров. Привод работает от гидросистемы базового трактора через гидрораспределитель, систему трубопроводов, гибких рукавов высокого давления и, гидроцилиндров.
Гидроцилиндры двустороннего действия обеспечивают подъем, опускание отвала, его фиксацию в необходимом положении и так называемое плавающее положение отвала, при котором под действием собственного веса отвал может занимать любое положение, опираясь ножами на поверхность грунта.
У поворотных бульдозеров наряду с подъемом и опусканием отвала гидрофицируются операции поперечного перекоса отвала, поворота отвала в плане.
Кинематическая схема.















