Автореферат (1094957), страница 3
Текст из файла (страница 3)
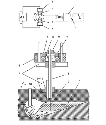
явления подтекания жидкого металла в зазор проводились с помощью вольфрамового щупа (рис.3)
1 - сварочная ванна; 2 - вольфрамовый стержень; 3 - вольфрамовая трубка;
4, 7 - неподвижные контакты; 5, 6 - клеммы гальванометра; 8 - кольцо;
9 - кронштейны; 10 - защитный экран из вольфрама.
Рис. 3. Схема устройства для определения направления течения жидкого металла
Изучение явления подтекания жидкого металла в зазор проводились с помощью вольфрамового щупа (рис.3) диаметром 0,5мм, покрытого тонким слоем жаропрочной кварцевой нити. Щуп помещался в зазор между кромками на расстоянии L от электрода. В момент появления подтекания происходит замыкание электрической цепи, если его величина Lп > L, что фиксируется на осциллографе. Таким образом, можно определить длину подтеканий L и частоту появления подтеканий τ.
10
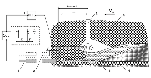
Обработка полученных данных значений L и τ, выявила их зависимость от толщины свариваемого металла (таб.1). С увеличением толщины свариваемого металла (глубины проплавления и объема сварочной ванны) среднестатистические значения L и τ растут. Приведенный метод регистрации подтеканий металла позволяет определить и скорость его течения в зазор между кромками перед дугой. Для этого в зазоре установили еще один щуп 2, конец которого совмещен относительно конца первого щупа на расстоянии l′. Время t′, за которое расплавленный металл преодолевает расстояние l′, фиксируется по осциллограмме, а скорость его течения (v=l′/t′) составляет 4…20см/с. при односторонней сварке.
Таблица 1.
Зависимость частоты и длины подтеканий от толщины свариваемого металла
| Толщина металла, мм | Частота подтеканий, 1/с; | Длина подтеканий, мм | ||
| τmax | τср.статистич. | Lmax. | Lср.статистич. | |
| 12 | - | - | 14 | - |
| 14 | 0,1 | 0,04 | 22 | 18 |
| 16 | 0,1 | 0,08 | 35 | 25 |
| 18 | 0,12 | 0,09 | 53 | 32 |
| 20 | 0,14 | 0,12 | 65 | 40 |
| 22 | 0,18 | 0,14 | 67 | 46 |
Одновременно, использование приведенных методик позволяет не только выявить особенности гидродинамической обстановки в сварочной ванне, но и установить их взаимосвязь, благодаря чему в конечном счете можно полнее представить процесс образования некоторых дефектов корня шва при односторонней сварке. Анализ проведенных исследований показал, что при сварке под флюсом корневых стыковых швов происходят самопроизвольные колебательные движения расплавленного металла в сварочной ванне (гидродинамические возмущения),
1-первый вольфрамовый щуп; 2- второй вольфрамовый щуп; 3- электрод;
4- сварочная ванна; 5- флюс.
Рис.4. Методика и схема определения подтекания жидкого металла
11
в результате которых изменяются условия теплопередачи от дуги в корень разделки и условия вытеснения расплавленного металла на обратную сторону шва. Причем, наиболее высокие скорости достигаются на передней стенке ванны и в зоне сквозного проплавления.
Это позволяет предположить, что высокие скорости перемещения металла в корне шва могут привести к дефектам при формировании обратного валика. Для оценки влияния течения металла необходимо определить изменение объемных и поверхностных сил на разных стадиях формирования обратного валика в корне шва. Это особенно важно в момент окончательного завершения процесса, когда происходит физико-химической взаимодействие на границе металл-шлак.. В этом случае, когда импульс объемных и поверхностных сил, перемещающих элементарный объем жидкого металла из головной в хвостовую часть ванны иссякает, окончательная геометрическая форма обратного валика создается за счет поверхностных сил капли жидкого металла на границе с затвердевающим шлаковым расплавом, называемым тянущим усилием и описывается формулой:
Ft = 2πrσ∆y = 2πrσ2 ( cosυ - cosυ′) (3)
где: r - радиус периметра смачивания; σ - межфазное натяжение; υ и υ′ - углы смачивания (рис.4). Капиллярное давление или давление Лапласа в любой точке поверхности составляет:
Рл = σ [(1/r1) - (1/r2)], (4)
где: r1 и r2 - главные радиусы кривизны поверхности в данной точке.
Как следует из уравнения (4), капиллярное давление существенно лишь при наличии сильно искривленных поверхностей, но при малой кривизне оно уменьшается, а при плоской поверхности обращается в нуль. Если растекание жидкости массой m сопровождается снижением ее центра тяжести на dh, то потенциальная энергия снижается на - dU = - mgh и появляется дополнительная радиальная сила Fр = - mg(dh/dr), вызывающая горизонтальное перемещение жидкости по периметру смачивания. В нашем случае при формировании обратного валика гравитационное действие этой силы будет способствовать растеканию и направлено перпендикулярно действию лапласовых сил. Квазистационарное равновесие между плавлением металла на передней стенке ванны и перетеканием в хвостовую часть предполагает равновесное состояние всех сил,
∑Fix = ∆(∑mVx) действующих в ванне в зоне сквозного проплавления:
Fэ.д.+ Fρg+ Fг.д- Fтр - Fσ1- Fσ2 - Ft - Fр - τ( шл.,к, м);
Проекция сил на ось «х» количества движения в зоне соприкосновения двух фаз несколько меняется. В рассматриваемой зоне угол α минимален, поэтому проекция сил тяжести и трения запишутся в виде:
12
Поверхностное давление от поперечной кривизны верхней и нижней сварочной ванны будут соответственно равны:
σ1 - поверхностное натяжение металла;
σ2 - межфазное натяжение на границе металл-подложка;
Давление скоростного напора Fг.д. равно
, где ρ - плотность жидкого металла. Уравнение равновесия в общем виде записывается следующим образом:
+
+
-
-
-
- mg(dh/dr) - 2πrσ (cosν-cosν΄)-
- τ(шл, к, м) =0;
где:
η - коэффициент внутреннего трения жидкого металла;
τшл, к, ме - касательные напряжения на границе: жидкий металл- металл подкладки, жидкий металл-керамика подкладки; жидкий металл-жидкий шлак подкладки;
r1, r2 - радиус кривизны верхней и нижней поверхности сварочной ванны;
Fр = -mg(dh/dr) - радиальное усилие капли;
Ft = 2πrσ (cosν - cosν΄) - тянущее усилие капли;
Таким образом, процесс влияния импульса сил, действующих в донной части ванны выглядит следующим образом:
Рис. 5. Силы, действующие на каплю при растекании жидкого металла по шлаковому расплаву
13
Выделенный объем жидкого металла под действием сил давления дуги, электромагнитных, гравитационных и центробежных сил, преодолевая силы вязкого трения перемещается по передней стенке сварочной ванны (рис. 6), вступает в контакт с металлической, керамической или расплавленной шлаковой подложкой, достигая в точке В максимальной скорости перемещения. За счет более высокой плотности жидкий металл внедряется в шлаковую ванну или втекается в медную или керамическую изложницу, образуя усиление. За счет касательных напряжений на границе шлак-металл, а также в результате теплоотвода, скорость перемещения снижается и в хвостовой части поверхностные силы, превалируя над объемными, завершают процесс окончательного формирования валика при помощи тянущего усилия растекания капли.
В целом, можно считать, что высота обратного валика, при прочих благоприятных условиях формируется на ранней стадии, в головной части ванны, в то время как ширина валика и окончательная форма сопряжения обеспечивается тянущим усилием капли и межфазного натяжения на границе металл-шлак.
Третья глава "Разработка оптимальных составов формирующих корень шва и исследование физико-химических свойств шлаковых расплавов" посвящена разработке оптимальных составов формирующих обратную сторону шва слоев и исследованию физико-химических свойств шлаковых расплавов.
Используя методы математической статистики, качественную и количественную оценку параметра оптимизации - форму обратного валика шва, определили оптимальный состав шихты, включающий следующие компоненты: рутил - 40%, плавиковый шпат – 25 %, кремнезем - 18,5 %, ферросилиций – 15 %, глинозем - 1,5 %.
Поверхностные свойства навесок проверялись по методикам лежащей капли и максимального давления в газовом пузырьке, погруженном в шлаковый расплав. Исследования показали, что поверхностные свойства специализированных шлаковых систем, предназначенных для односторонней сварки значительно отличаются от поверхностного натяжения стандартных сварочных флюсов в диапазоне температур 1450-1650С и составляют 480…610 мдж/м2 (рис.7). Одновременно, проводились сравнительные испытания шлаковых систем гибких подкладок SJ-1 и SJ-2 (3М, США), которые потвердили необходимые требования к свойствам формирующих слоев.
Вязкость шлаковых расплавов исследовалась на ротационном вискозиметре, в динамическом температурном режиме, в среде азота. В результате исследований удалось обнаружить, что динамическая вязкость экспериментальных навесок, в том числе и зарубежных, превосходит по абсолютным значениям вязкость стандартных сварочных материалов в несколько раз (рис. 8). Анализ полученных экспериментальных данных показал хорошую сходимость с расчетными характеристиками по данным свойствам, полученным во второй главе.
Из теории металлургических процессов в целом, и ионной теории шлаковых расплавов в частности, известно, что катионы и анионы с мощными силовыми полями притягиваются друг к другу, а слабые ионы вытесняются на периферию, в зону более высоких температур.
14
1-формирующий слой; 2-тугоплавкий слой; 3-шлаковая ванна; 4-основной
















