Автореферат (1094957), страница 2
Текст из файла (страница 2)
СОДЕРЖАНИЕ РАБОТЫ
Во введении обоснованы актуальность, сформулирована цель диссертационной работы, приведены формулировки основных положений, выносимых на защиту.
Первая глава "Анализ способов, технологии, оборудования и сварочных материалов для односторонней дуговой сварки сталей" дает современное представление об односторонней дуговой сварке сталей и краткую характеристику способов односторонней дуговой сварки, обеспечивающих двустороннее формирование шва.
За последние четыре десятилетия односторонняя дуговая сварка сталей получила широкое распространение в отечественной промышленности и за рубежом. Важнейшие работы в этом направлении были выполнены в МГТУ им. Н.Э. Баумана, ИЭС им. Е.О. Патона, ЦНИИТС, ЦНИИ «Прометей», ВНИИСТ, ЛПИ им. Калинина, ВНИИмонтажспецстрое, а также в ряде зарубежных исследовательских центров, таких как Институт сварки в Кембридже (Великобритания), компании «3М» (США), «Линкольн Электрик» (США), судостроительных компаниях Японии, Канады, Австралии.
Тем не менее, как в России, так и за рубежом основной проблемой односторонней дуговой сварки плавящимся электродом по-прежнему является сложность получения качественного обратного валика. Решение этой проблемы в основном, базируется на использовании традиционных способов формирования обратной стороны шва - на медной подкладке, флюсовой подушке, флюсомедной подкладке при сварке плосколистовых конструкций и использовании малогабаритных подкладок при сварке криволинейных конструкций-трубопроводов, обечаек, резервуаров. Разработанные в последние годы источники питания сварочной дуги фирмы «Линкольн» обеспечивают стабильную форму корня шва при сварке в среде защитных газов за счет применения специальных циклограмм, исключающих прожог и позволяющих влиять на вектор давления дуги в сочетании с плавным перетеканием жидкого электродного металла в сварочную ванну без ударных нагрузок. Тем не менее, как электроды при сварке на весу, так и источники питания со специальными циклограммами, в основном, гарантируют формирование корня шва при сравнительно невысоких токовых нагрузках.
Работами А.И. Акулова, Г.Г. Чернышова, Э.А. Гладкова, Г.М.Еремеева, А.М. Рыбачука, В.Д. Тарлинского, И.Л. Емельянова и других исследователей установлено, что стабильную форму обратного валика шва при односторонней сварке сталей, как плавящимся, так и неплавящимся электродом можно обеспечить в отдельных случаях, лишь комплексно влияя на сочетание факторов, определяющих бездефектное формирование и прочностные характеристики одностороннего однопроходного соединения.
Предварительные исследования, проведенные автором при односторонней сварке стыковых швов толщиной до 16мм плавящимся электродом на малогабаритных формирующих устройствах показали, что стабильность размеров обратной стороны шва при однопроходной односторонней сварке возможна
без использования стационарных громоздких пневматических
5
или электромагнитных стендов с усилиями поджатия более 100кг/мм2. Цель достигается путем подбора физических и физикохимических свойств шлака подкладной керамики, являющегося изложницей для металла сварочной ванны в условиях статического и динамического равновесия.
Известно, что условия формирования обратного валика отличаются от условий формирования лицевой поверхности, а именно:
- время пребывания металла и шлака в расплавленном состоянии в корне шва значительно меньше;
- температура в корне шва сварочной ванны на 250-300˚С ниже;
- условия перемещения пограничного слоя донной части сварочной ванны в область кристаллизации существенно отличаются от аналогичной на лицевой поверхности;
- физико-химические явления на границе «металл-шлак» в корне шва значительно отличаются от аналогичных на поверхности лицевого валика;
Однако до настоящего времени для односторонней сварки применяются стандартные сварочные материалы - флюсы, порошковые проволоки и электроды, не учитывающие особенностей условий формирования и металлургических процессов, происходящих в корне шва;
Поэтому, пути решения основных проблем односторонней сварки связаны с рассмотрением основного вопроса:
- формирующий обратный валик сварочный материал, должен создаваться на основе результатов основных металлургических и физико-химических процессов на границе «металл сварочной ванны - шлак подкладки», определяющих требования к физико-химическим свойствам шлаковой системы материала, обеспечивающих получение заданных параметров обратного валика;
- шлаковые системы сварочных материалов, используемых при односторонней сварке (флюсы, электроды, порошковые проволоки) для стабилизациии процесса формирования обратного валика должны соответствовать по металлургическим и термодинамическим свойствам шлаковым системам формирующих подкладок;
Вторая глава "Исследование и разработка теоретических основ формирования обратной стороны шва при односторонней дуговой сварке сталей" посвящена статическим и динамическим моделям равновесия сил, действующих в сварочной ванне.
В главе представлены результаты исследований формирования корня шва, показывающие, что в условиях принудительного формирования корня шва стабильность размеров обратного валика зависит от поверхностных свойств шлаковой ванны, в которой происходит процесс формирования и кристаллизации жидкого металла. Установлено, что макронатеки по ширине обратного валика появляются в результате прорыва жидкого металла в естественные зазоры между подкладкой и основным металлом и могут быть устранены за счет увеличения поверхностного натяжения шлака.
6
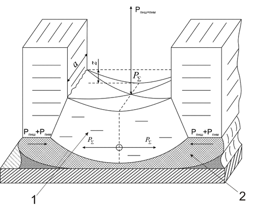
Модельные расчеты, основанные на действии статических и динамических сил в сварочной ванне при односторонней сварке стыковых швов (рис.1), показали, что при зазоре между подкладкой и основным металлом в 1,5…2мм, поверхностное натяжение шлака в диапазоне температур 1550…1650˚С должно быть не менее 500 мдж/м2, в то время как поверхностное натяжение флюсов, используемых в настоящее время для формирования обратной стороны шва при односторонней сварке не превышает 350 мдж/м2. Данные расчеты показывают, что возникающие дефекты - макронатеки по ширине обратного валика невозможно устранить только при помощи мощных пневматических и гидравлических порталов, поджимающих формирующие устройства к обратной стороне стыкового соединения, так как обеспечить перекос кромок менее 1,5мм, в современных условиях при сборке металлоконструкций не представляется возможным. При рассмотрении статической модели установлено, что металл донной части сварочной ванны и шлак формирующего устройства совместно перемещаются из головной в хвостовую часть сварочной ванны.
Р∑ - сумма сил действующих со стороны дуги, Рдд+Рг; Рпнм - сила поверхностного натяжения верхнего и нижнего зеркала сварочной ванны;
Рпнш - сила поверхностного натяжения шлака в зазоре между подкладкой
и металлом стыка. 1- расплав металла; 2- шлаковый расплав;
Рис. 1. Упрощенная статическая схема силового взаимодействия в сварочной ванне на керамической расплавляемой подкладке
7
Приведенные в работах Ерохина А.А., Демянцевича В.М., Размышляева Д.М. Чернышова Г.Г., Столбова В.И., Исидзаки, Хорри и Мори и других исследователей, данные о гидродинамических процессах в сварочной ванне, свидетельствующие о высоких скоростях перемещения металла сварочной ванны из головной в хвостовую часть под действием объемных и поверхностных сил меняют представления о процессе взаимодействия между металлом сварочной ванны и жидким шлаком в донной части сварочной ванны. Так, по данным из работ Демянцевича В.П., Болдырева А.М. и Размышляева А.Д., скорости истечения жидкого металла достигают 1,5-2 Vсв. при сварке неплавящимся электродом и 20-30 Vсв. при сварке плавящимся электродом. Наибольший порядок скоростей наблюдается именно в корне шва, в зоне сквозного проплавления, на границе взаимодействия слоев металла и шлака. Однако в этих работах не рассматривали формирование корня шва шлаковым расплавом. Расчеты показали , что если вязкость шлакового слоя в диапазоне температур 1450-1650˚С будет не менее 5 Па·с для углеродистых и низколегированных сталей и 2…3 Па·с для легированных сталей, то граница совместного перемещения под действием градиента давления будет минимальной, а время совместного перемещения будет в пределах 2-3 с. Если представить модель совместного перемещения пограничных слоев шлака в донной части ванны (рис.2),где bc и bшл- толщина металлического и шлакового слоя, ηс и ηшл- вязкость металла и шлака, Р0 и РL - силовой импульс, перемещающий слои со скоростями Vc и Vшл в начале и в конце донной части L, то проинтегрировав Vzшл по толщине шлакового слоя,
получим расчетную формулу для определения скорости шлакового слоя в зависимости от различных значений вязкости шлакового и металлического расплавов (рис. 2).
8
Скорость перемещения шлакового слоя определяем с известными допущениями:
- температура слоя по толщине одинакова и не меняется по длине сварочной ванны;
- вязкость металлического и шлакового слоя по толщине в условиях взаимного перемещения постоянна;
- донная часть сварочной ванны в условиях взаимного перемещения слоев не превышает 10мм.
Рис. 2. Распределение скоростей движения слоев в металле и шлаке при
различных значениях вязкости шлакового расплава
В результате, подбирая расчетным и экспериментальным путем вязкость шлакового слоя, можно снижать скорость взаимного перемещения слоев, стабилизировать высоту обратного валика и избежать шлаковых включений в корне шва. Таким образом, расчетным путем определены два основополагающих свойства шлакового расплава - вязкость и поверхностное натяжение, влияющие на возникновение нестабильных размеров обратного валика-высоты и ширины.
Одним из самых распространенных дефектов при односторонней сварке стыковых соединений под флюсом толщиной более 16мм, являются утяжины, образующие обратный мениск в корне шва.
Для выявления причин образования дефектов в виде утяжин была разработана методика оценки возможности получения качественного одностороннего однопроходного соединения. Было высказано предположение, что появление дефектов вызывается неблагоприятной гидродинамической обстановкой в сварочной ванне, а именно изменением направления течения металла сварочной ванны различного объема. Для определения направления течения жидкого металла было разработано специальное устройство, позволяющее фиксировать направление течения металла в хвостовой части ванны (рис.3).
9
В хвостовую часть ванны помещен загнутый конец стержня 2, ориентированный по направлению движения потока жидкого металла. При этом замыкаются контакты 4-5 и 6-7 или 4-6 и 5-7, что фиксируется на осциллографе в результате протекания токов I1 и I2. В результате экспериментальных исследований было установлено, что направление движения металла периодически изменяется, вблизи дна металл начинает течь в сторону головной части сварочной ванны, а вблизи поверхности в хвостовую часть (рис.4). Предполагается, что донный поток, встречаясь с поверхностным потоком, увеличивает объем металла под дугой, в результате чего появляются подтекания, которые при наличие гарантированного зазора проникают на значительную глубину между кромками, снижая проплавляющую способность дуги и увеличивая толщину жидкой прослойки. Изучение
















