Диплом (1094907), страница 23
Текст из файла (страница 23)
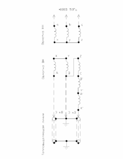
Электрическая схема внутренних и внешних соединений обмоток трансформатора-преобразователя трехфазной системы напряжений и токов в двухфазную приведена на рис.4.3.1.
Примерная векторная диаграмма напряжений такого трансформатора-преобразователя, приведена на рис..4.3.3.
Рис.4.3.1. Электрическая схема соединений обмоток трансформатора-преобразователя трёхфазной системы напряжений и токов в двухфазную при соединении обмотки НН звездой с изолированной нейтралью.
Рис.4.3.2. Векторная диаграмма напряжений и токов, силового трансформатора
Из векторной диаграммы рис.4.3.2 и условий симметрии (3.4 - 3.5) вытекают дополнительные требования обеспечения симметрии двухфазных напряжений и токов. Поскольку напряжения во вторичной обмотке ВН при равенстве чисел витков всех фаз связаны соотношением
Uα = UAB = UAX – UBY = √3UAXexp30° = √3UBYexp150° = j√3Uβ =j√3UCZ, то ток Iβ в фазе β согласно (3.5) должен быть больше тока lα в фазе α в √3 раза.
С другой стороны, при требовании равенства сопротивлений нагрузки Zα=Zβ и соответственно токов фаз lα = Iβ условие (3.5) может быть выполнено за счет неодинакового числа витков обмоток ВН. Для этого число витков в обмотке WCZ должно быть в √3 раз больше, чем в обмотке WAX = WBY, либо числа витков обмоток WAX = WBY должны быть в √3/2 раза меньше числа витков обмотки WCZ.
В тоже время, для симметрирования токов в первичной обмотке трансформатора требуется на стороне ВН данного трансформатора ввести дополнительные обмотки W’AX=W’BY по числу витков равные √3/2WCZ, при соотношении обмоток ВН: WAX=WBY=WCZ, и включенные последовательно с обмоткой WCZ, тогда ток протекающий по нагрузке:
lα =√3/2*IAX=√3/2*IBY…………………………………….…….……(3.6)
Iβ=ICZ+√3/2*I’AX+√3/2*I’BY……………….…………………….……(3.7)
напряжение приложенное к нагрузке:
Uα =√3*UAX=√3*UBY……………………………………………….…(3.8)
Uβ=UCZ+√3/2*U’AX+√3/2*U’BY.…………….……………………..…(3.9)
На основании (3.6 и 3.7) получаем ток в первичной обмотке:
la*КТ=√3/2*IAX+√3/2*I’AX…………………………………………….(3.10)
lb*КТ=√3/2*IBY+√3/2*I’BY……………………………………..……..(3.11)
Ic*КТ=ICZ………………………………………………………….…..(3.12)
Для проверки практической реализуемости силового трансформатора-преобразователя трехфазной системы напряжений и токов в двухфазную были проведены экспериментальные исследования на маломощной модели серийного трехфазного трансформатора типа ТСЗИ-2,5 380-220\36В мощностью 2,5 кВ*А с обмоткой ВН 380\220 В и обмоткой НН 36 В (Трансформатор сухой защищенный инструментальный). В одной из фаз вторичной обмотки НН число витков было увеличено в √3 раз. Трансформатор соединялся по схеме рис.4.3.1. Некоторые результаты испытаний приведены в таблице 4.3.1.
Таблица 4.3.1. Результаты испытаний макетного трансформатора типа ТСЗИ-2,5 380-220\36В
| Режим | Обмотка ВН | Обмотка НН | |||
| А-Х | B-Y | C-Z | α | β | |
| Напряжение, В | 230 | 222 | 222 | 42 | 41 |
| Холостой ход, А | 1,4 | 1,04 | 1,24 | — | — |
| Нагрузка, А | 4,0 | 4,0 | 4,0 | 18,7 | 18,5 |
На основании результатов проведенных исследований сделана разработка и изготовлен силовой трансформатор-преобразователь трехфазных напряжений и токов с параметрами промышленной частоты в двухфазную, соответствующую требованиям электропитания тепловыделяющих линий системы обогрева транспортной трубы нефтепровода. Трансформатор-преобразователь выполнен на базе серийного трансформатора ТСА-400М 5-93.
С целью обеспечения возможности ступенчатого регулирования напряжения и мощности обогрева транспортной трубы нефтепровода в обмотках трансформатора-преобразователя выполнены ответвления. Параметры ступеней напряжения и мощности трансформатора-преобразователя приведены в таблице.
Таблица 4.3.2. Параметры ступеней напряжения и мощности трансформатора-преобразователя
| № п\п | Схема соединений обмоток ВН | Схема соединений обмоток НН | Напряжение | Мощность | |||
| Выводы | Установка перемычек | кВ | % | кВт | % | ||
| 1 | А-Х; B-Y; C-Z | Х2-ХЗ; Y2-Y3: Z2-Z3 | Δ | 3,4 | 100 | 540 | 100 |
| 2 | А-Х; B-Y; C-Z | Х4-Х5; Y4-Y5; Z4-Z5 | Δ | 3,15 | 93 | 460 | 86 |
| 3 | A1-X;B1-Y; C1-Z | Х2-ХЗ; Y2-Y3: Z2-Z3 | Δ | 2,72 | 80 | 346 | 64 |
| 4 | А1-Х; B1-Y; C1-Z | Х4-Х5; Y4-Y5; Z4-Z5 | Δ | 2,47 | 73 | 286 | 53 |
| 5 | А-Х; B-Y; C-Z | Х2-ХЗ; Y2-Y3: Z2-Z3 | | 1,96 | 58 | 180 | 33 |
| 6 | А-Х; B-Y; C-Z | Х4-Х5; Y4-Y5; Z4-Z5 | | 1,82 | 53 | 155 | 29 |
| 7 | А1-Х; B1-Y; C1-Z | Х2-ХЗ; Y2-Y3: Z2-Z3 | | 1,57 | 46 | 115 | 21 |
| 8 | А1-Х; B1-Y; C1-Z | Х4-Х5; Y4-Y5; Z4-Z5 | | 1,43 | 42 | 95 | 18 |
Таблица 4.3.3. Обмоточные данные силового трансформатора ТСА-400М 5-93
Обмотка НН | |||
| Секции | Число витков | Напряжение, В | |
| а-х | |||
| b-у | 40 | 380 | |
| c-z | |||
| Обмотка ВН | |||
| Секции | Число витков | Напряжение, В | |
| А-А1; В-В1 | 42 | 395 | |
| А1-Х4; В1-Y4 | 144 | 1368,5 | |
| Х4-Х2; Y4-Y2 | 8 | 76 | |
| ХЗ-Х5; Y3-Y5 | 7 | 66,5 | |
| Х5-Х; Y5-Y | 6 | 57 | |
| А-Х; B-Y | 207 | 1963 | |
| С-С1 | 72 | 684 | |
| С1-Z4 | 257 | 2441,5 | |
| Z4-Z2 | 13 | 123 | |
| Z3-Z5 | 13 | 123 | |
| Z5-Z | 3 | 28,5 | |
| С-Z | 358 | 3400 | |
Номинальные данные
Номинальное линейное напряжение
на стороне первичной обмотки (НН)...................………......................... 380 В
Номинальный фазный ток
на стороне первичной обмотки (НН) .................……..…..........................476 А
на стороне вторичной обмотки (ВН) ................……....……............….........83 А
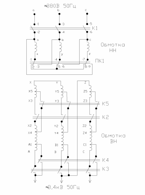
На рис.4.3.3. приведена электрическая схема переключения ступеней мощности изготовленного силового трансформатора ТСА-400/15-93.
Топографическая и векторная диаграммы напряжений трансформатора-преобразователя, соответствующая рис.4.3.1, приведена на рис.4.3.4.
При построении диаграммы принято, что
- начальная фаза напряжения на фазе "а-х" обмотки НН равна нулю;
- последовательность чередования фаз - стандартная прямая А-В-С-А-....;
- напряжение фазы "А-Х" обмотки ВН в противофазе с напряжением фазы "а-х" обмотки НН;
- начало координат для топографической диаграммы соответствует нулевому потенциалу;
- общее число витков и напряжение фазы "C-Z " обмотки ВН в √3 раз больше чисел витков и соответственно напряжений фаз "B-Y" и "А-Х".
На рис.4.3.5 приведена топографическая и векторная диаграммы напряжений трансформатора-преобразователя совместно с тепловыделяющими линиями, соответствующая рис.4.3.1.
Поскольку обратные провода тепловыделяющих линий соединены между собой, с точкой соединения концов "В" и "Z" фаз обмотки ВН и заземлены и, следовательно, имеют одинаковый нулевой электрический потенциал, то векторы напряжений UAB и UCZ перенесены своими концами "В" и "Z" в начало координат. При этом величина вектора напряжения UCZ = √ЗUAX = √3UBY.
Рис. 4.3.3. Электрическая схема переключения ступеней мощности силового трансформатора ТСА-400/15-93
Рис.4.3.4. Топографическая и векторная диаграммы напряжений трансформатора-преобразователя, соответствующие рис.4.3.1.















