Заключение1 (1094735), страница 5
Текст из файла (страница 5)
Form5.Visible:= true;
end;
end.
Файл Unit2.pas
unit Unit2;
interface
uses
Windows, Messages, SysUtils, Variants, Classes, Graphics, Controls, Forms,
Dialogs, StdCtrls, ComCtrls, ExtCtrls;
type
TForm2 = class(TForm)
PereschotProg: TGroupBox;
PC_MAYAK: TRadioButton;
Ne_obrabatyvat: TRadioButton;
PC_VM: TRadioButton;
VM_MAYAK: TRadioButton;
MAYAK_VM: TRadioButton;
Button1: TButton;
Mayk223mp: TRadioButton;
procedure FormCloseQuery(Sender: TObject; var CanClose: Boolean);
procedure FormActivate(Sender: TObject);
procedure Button1Click(Sender: TObject);
private
{ Private declarations }
public
{ Public declarations }
end;
var
Form2: TForm2;
implementation
uses Unit1;
{$R *.dfm}
procedure Sostoyanie_perekluchateley;
begin
if Form2.Ne_obrabatyvat.Checked then
Form1.PanelSostoyaniya.Panels[0].Text:= st + Form2.Ne_obrabatyvat.Caption
else
if Form2.PC_MAYAK.Checked then
Form1.PanelSostoyaniya.Panels[0].Text:= st + Form2.PC_MAYAK.Caption
else
if Form2.PC_VM.Checked then
Form1.PanelSostoyaniya.Panels[0].Text:= st + Form2.PC_VM.Caption
else
if Form2.VM_MAYAK.Checked then
Form1.PanelSostoyaniya.Panels[0].Text:= st + Form2.VM_MAYAK.Caption
else
if Form2.MAYAK_VM.Checked then
Form1.PanelSostoyaniya.Panels[0].Text:= st + Form2.MAYAK_VM.Caption
else
if Form2.Mayk223mp.Checked then
Form1.PanelSostoyaniya.Panels[0].Text:= st + Form2.Mayk223mp.Caption;
end;
procedure TForm2.FormCloseQuery(Sender: TObject; var CanClose: Boolean);
begin
Sostoyanie_perekluchateley;
If Mayk223mp.Checked then
begin
Form2.Close;
end;
end;
procedure TForm2.FormActivate(Sender: TObject);
begin
Sostoyanie_perekluchateley;
end;
procedure TForm2.Button1Click(Sender: TObject);
begin
Sostoyanie_perekluchateley;
Form2.Close;
end;
end.
Файл Unit5.pas
unit Unit5;
interface
uses
Windows, Messages, SysUtils, Variants, Classes, Graphics, Controls, Forms,
Dialogs, ExtCtrls, StdCtrls;
type
TForm5 = class(TForm)
GroupBox1: TGroupBox;
RadioButton1: TRadioButton;
Edit1: TEdit;
Label1: TLabel;
ButtonObpabotka: TButton;
ButtonNastroyka: TButton;
procedure FormActivate(Sender: TObject);
procedure ButtonObpabotkaClick(Sender: TObject);
procedure ButtonNastroykaClick(Sender: TObject);
private
{ Private declarations }
public
{ Public declarations }
end;
var
Form5: TForm5;
implementation
uses unit1, unit6;
{$R *.dfm}
procedure TForm5.FormActivate(Sender: TObject);
begin
Form5.Caption:= Application.Title;
end;
procedure TForm5.ButtonObpabotkaClick(Sender: TObject);
var
stroka, stroka1: TStrings;
Name_File, kol_v_stroka: integer;
chast, chot, ObshiySchot: integer;
st, name: WideString;
begin
stroka:= TStringList.Create();
stroka1:= TStringList.Create();
chot:= 0; Name_File:= 1; chast:= 0;
chast:= StrToInt(Edit1.Text) * 955;
kol_v_stroka:= 0;
ObshiySchot:= 0;
stroka1.Text:= Form1.memo1.Text;
repeat
try
st:= stroka1.Strings[ObshiySchot];
except
on EStringListError do
begin
Stroka.Free;
stroka1.Free;
Form1.memo1.Text:= ' Ошибка в редакторе: Возможно в поле редактирования пусто или одни пробелы';
Form5.Close;
Exit;
end;
end;
if chot <= chast then
begin
stroka.Insert(kol_v_stroka, st);
Inc(chot, Length(st)); // Увеличиваем на длину строки
Inc(kol_v_stroka);
Inc(ObshiySchot);
end
else
begin
name:= Concat('E:\Наладчик\Пров\', IntToStr(Name_File), '.txt');
stroka.SaveToFile(name);
stroka.Clear;
chot:= 0;
kol_v_stroka:= 0;
Name_File:= Succ(Name_File);
end;
if (stroka1.Count = ObshiySchot) and (Length(stroka.Text) <> 0) then
begin
name:= Concat('E:\Наладчик\Пров\', IntToStr(Name_File), '.txt');
stroka.SaveToFile(name);
end;
until stroka1.Count = ObshiySchot;
stroka.Free;
stroka1.Free;
Form5.Close;
ShowMessage(' Обработка завершена ');
end;
procedure TForm5.ButtonNastroykaClick(Sender: TObject);
var
NameF: WideString;
begin
Form6.Visible:= true;
end;
end.
Файл Unit6.pas
unit Unit6;
interface
uses
Windows, Messages, SysUtils, Variants, Classes, Graphics, Controls, Forms,
Dialogs, ExtCtrls, StdCtrls, Registry, FileCtrl;
type
TForm6 = class(TForm)
Panel1: TPanel;
Memo1: TMemo;
ButtonRedEndFile: TButton;
ButtonRedPapku: TButton;
Label1: TLabel;
SaveDialog1: TSaveDialog;
procedure FormActivate(Sender: TObject);
procedure ButtonRedPapkuClick(Sender: TObject);
private
{ Private declarations }
public
{ Public declarations }
end;
var
Form6: TForm6;
RegIni: TRegistry;
implementation
uses unit1;
{$R *.dfm}
procedure TForm6.FormActivate(Sender: TObject);
begin
Form6.Caption:= Application.Title;
RegIni:= TRegistry.Create;
RegIni.RootKey:= HKEY_LOCAL_MACHINE;
RegIni.OpenKey('Software\Naladchik', false);
Label1.Caption:= RegIni.ReadString('pach');
RegIni.CloseKey;
RegIni.Free;
end;
procedure TForm6.ButtonRedPapkuClick(Sender: TObject);
begin
if SaveDialog1.Execute then
begin
Label1.Caption:= SaveDialog1.FileName;
RegIni:= TRegistry.Create;
RegIni.RootKey:= HKEY_LOCAL_MACHINE;
RegIni.OpenKey('Software\Naladchik', true);
RegIni.CreateKey('a');
RegIni.WriteString('pach', SaveDialog1.FileName);
RegIni.CloseKey;
RegIni.Free;
end;
end;
end.
Приложение Б
(рекомендуемое)
Тема: Конвертер для повышения оперативности перепрограммирования станков с ЧПУ
Основные типы станков с ЧПУ и их характеристики
Всего листов - 6
2009
Токарные станки с ЧПУ предназначены для наружной и внутренней обработки сложных заготовок деталей типа тел вращения. Они сотавляют самую значительную группу по номенклатуре в парке станков с ЧПУ. На токарных станках с ЧПУ выполняют традиционный комплекс технологических операций: точение, отрезку, сверление, нарезание резьбы и др.
В основе классификации токарных станков с ЧПУ лежат следующие признаки:
- расположение оси шпинделя (горизонтальные и вертикальные станки);
- число ипользуемых в работе инструментов (одно- и многоинструментальные станки);
- способы их закрепления (на суппорте, в револьверной головке, в магазине инструментов);
- вид выполняемых работ (центровые, патронные, патронно-центровые, карусельные, прутковые станки);
- степень автоматизации (полуавтоматы и автоматы).
Центровые станки с ЧПУ служат для обработки заготовок деталей типа валов с прямолинейным и криволинейным контурами. На этих станках можно нарезать резьбу резцом по программе.
Патронные станки с ЧПУ предназначенны для обточки, сверления, развертывания, зенкерования, цекования, нарезания резьбы метчиками в осевых отверстиях деталей типа фланцев, зубчатых колес, крышек, шкивов и др.; возможно нарезание резцом внутренней и наружной резьбы по программе.
Патронно-центровые станки с ЧПУ служат для наружной и внутренней обработки разнообразных сложных заготовок деталей типа тел вращения и обладают технологическими возможностями токарных центровых и патронных станков.
Карусельные станки с ЧПУ применяют для обработки заготовок сложных корпусов.
Токарные станки с ЧПУ (рисунок ПБ1) оснащают револьверными головками и магазином инструментов. Револьверные головки бывают четырех-, шести- и двенадцатипозиционные, причем на каждой позиции можно устанавливать по два инструмента для наружной и внутренней обработки заготовки. Ось вращения головки может распологаться параллельно оси шпинделя, перпендикулярно к ней или наклонно.
Рисунок ПБ1 – Токарный станок с ЧПУ:
1, 2 – револьверные головки
Фрезерные станки с ЧПУ предназначены для обработки плоских и пространнственных поверхностей заготовок сложной формы. Конструкции фрезерных станков с ЧПУ аналогичны конструкциям традиционных фрезерных станков, отличие от последних заключается в автоматизации перемещений по УП при формообразовании.
В сонове классификации фрезерных станков с ЧПУ лежат следующие признаки:
- расположение шпинделя (горизонтальное вертикальное);
- число координатных перемещений стола или фрезерной бабки;
- число используемых инструметнов (одноинструментные и многоинструментные);
- способ установки инструментов в шпиндель станка (вручную или автоматически).
По компоновке фрезерные станки с ЧПУ делят на четыре группы:
- вертикально-фрезерные с крестовым столом;
- консольно-фрезерные;
- продольно-фрезерные;
- широкоуниверсальные инструментальные.
В отдельных случаях на фрезерных станках при обработке заготовок простой формы в условиях средне- и крупносерийного производства также применяют системы ЧПУ.
Во фрезерных станках с ЧПУ в качестве привода главного движения используют асинхронные двигатели (в этих случаях имеется коробка скоростей) или электродвигатели постоянного тока.
На небольших фрезерных станках с прямоугольным ЧПУ применяют один приводной электродвигатель постоянного тока и коробку передач с автоматически переключаемыми электромагнитными муфтами, а на тяжелых станках с контурным управлением каждое управляемое координатное перемещение осуществляется от автономного электропривода постоянного тока.
Приводы движения подач фрезерных станков с ЧПУ имеют короткие кинематические цепи, передающие движение от двигателя непосредственно исполнительному органу.
Компоновка вертикально-фрезерного консольного станка с ЧПУ (рисунок ПБ2) мало отличается от компоновки традиционного станка без ЧПУ. На станине 8 монтируют узлы и механизмы станка. Станина спереди имеет направляющие, закрытые кожухом 9, по которым перемещается консоль 1. На горизонтальных направляющих смонтированы салазки 2, по продольным направляющим которых передвигается стол 3. На привалочной плоскости станины закреплена фрезерная бабка 6, по вертикальным направляющим которой перемещается ползун 7 со шпинделем 5. В соответствии с требованиями безопасности труда ползун имеет защитный щиток 4. Сзади станка расположен шкаф 10 с электрооборудованием и УЧПУ.
Рисунок ПБ2 – Фрезерный станок с ЧПУ:
1 – консоль; 2 – салазки; 3 – стол; 4 – защитный щиток; 5 – шпиндель; 6 – фрезерная бабка;
7 – ползун; 8 – станина; 9 – кожух; 10 - шкаф
Вертикально-сверлильные станки с ЧПУ в отличии от аналогичных станков с ручным управлением оснащены крестовыми столами, автоматически перемещающими заготовку по осям X и Y, в результате чего отпадает необходимость в кондукторах или в ее предварительной резметке.
Радиально-сверлильные станки с ЧПУ имеют подвижную по оси X колонну, подвижный по оси Y рукав со шпиндельной бабкой, в которой смонтирован сверлильный шпиндель, перемещающийся по оси Z. Помимо этого рукав при наладке может перемещаться в вертикальном направлении.
Автоматизированные перемещения рабочих органов сверлильных станков по осям X и Y обеспечивают выполнение обработки отверстий и фрезерования.
Сверлильные станки оснащают позиционными УЧПУ, позволяющими автоматически установить рабочие органы в позицию, заданную программой. Режущий инструмент на сверлильных станках с УЧПУ закрепляют непосредственно в коническом отверстии шпинделя или с помощью промежуточных втулок и оправок.
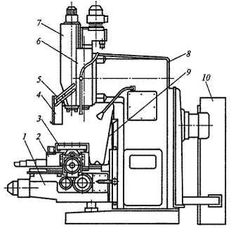
Общий вид вертикально-сверлильного станка модели 2Р135Ф2-1, оснащенного ЧПУ, показан на рис. 6. На основании 1 смонтирована колонна 10, по прямоугольным вертикальным направляющим которой перемещается суппорт 4, несущий револьверную головку 3. На колонне 10 смонтированы коробки скоростей 5 и редуктор подач 6. Салазки 2 крестового стола перемещаются по горизонтальным направляющим основания 1, а верхняя часть 11 стола-по направляющим салазок. С правой стороны станка расположены шкафы 8 с электрооборудованием и УЧПУ 9. Станок имеет подвесной пульт 7 управления.
Рисунок ПБ3 – Вертикально-сверлильный станок с ЧПУ:
1 – основание; 2 – салазки стола; 3 – револьверная головка; 4 – суппорт; 5 – коробка скоростей; 6 – редуктор подач; 7 – подвесной пульт управления; 8 – шкаф электрооборудования; 9 – устройство ЧПУ; 10 – колонна; 11 - стол
















