ЛР №12 - Определение излучательной способности материалов (1094480)
Текст из файла
Московский Государственный Вечерний
Металлургический Институт
(МГВМИ)
Лабораторная работа № 12
Тема: «Определение излучательной способности материалов»
Группа: МО - 97
Студент:
Преподаватель: Могилевский Е. И.
Москва 2000 г.
Введение.
Теплообмен излучением между телами в значительной степени определяется радиационными свойствами их поверхностей; излучатель- ной и поглощательной способностью. Радиационные свойства всех тел рассматриваются в сопоставлении с абсолютно черным телом (А.Ч.Т.), которое поглощает весь падающий на него лучистый поток (коэффициент поглощения α = 1) и обладает максимальной излучательной способностью (Е0). Отношение плотности излучения данного тела (излучательной способности – Е) к плотности излучения А.Ч.Т.(Е0) той же температуры называется степенью черноты данного тела.
При технических расчетах пользуются понятием серого тела, интенсивность излучения которого при всех длин волн в одно и тоже число раз ε меньше интенсивности излучения (А.Ч.Т.). В условиях равенства температур «черного» излучателя и серого тела, воспринимающего излучение согласно закону Кирхгофа.
И
злучение серых тел, так же как и А.Ч.Т., подчиняются закону Стефана – Больцмана, на основании которого можно записать:
Где: σ0 – коэффициент излучения А.Ч.Т., равный:
Для удобства расчетов σ0 очень часто заменяют: С0 = σ0 ∙ 10-8
Т – температура тела, К.
Реальные тела, в отличие от серых, имеют степень черноты, зависящую от длины волны и температуры, их излучение является селективным.
Излучение, лежащее в интервале длин волн от λ до λ + dλ, называется монохроматическим, а все характеристики – спектральными.
Суммарное излучение, испускаемое телом по всему спектру
(от λ = 0 до λ = ∞), называется интегральным. При этом средняя по всему спектру степень черноты определяется выражением:
где: ελ – степень черноты монохроматического излучения;
Iλ0 – интенсивность излучения А.Ч.Т.
З
начение степени черноты твердых поверхностей широко используется во всех расчетах лучистого теплообмена в печах. В общем виде формулу результирующего теплового потока по на металл записать так:
С
прив – приведенный коэффициент излучения, зависящий от схемы теплообмена и радиационных свойств газа и твердых поверхностей, Вт/м2∙К4.
В частном случае, если считать по «серому» приближению, тепловой поток от газа к ограничивающим его стенкам определяется формулой
Интегральную степень черноты какого – либо тела можно определить экспериментально прямым радиационным методом, используя для измерения радиационный пирометр, градуированный по потоку излучения А.Ч.Т. При визировании этого прибора на какое – ни будь нагретое тело (образец) радиационный пирометр показывает температуру такого черного излучателя, который посылает тепловой поток, равный по величине тепловому потоку, излучаемому данным нагретым телом. Таким образом, пирометр покажет так называемую радиационную температуру (Тр, К) которая численно будет меньше истинной (Ти, К) измеряемой с помощью термопары, устанавливаемой на поверхности образца.
Отклонение действительной температуры тела (Ти) от радиационной (Тр) определяется равенством:
Откуда находится интегральная степень черноты испытуемого образца:
Данный метод позволяет исследовать радиационные свойства любых материалов как с плоской поверхностью, так и со сложной телометрией, а так же найти зависимость интегральной степени черноты от температуры.
Цель работы: ознакомление с методикой определения степени черноты поверхностей, исследование зависимости ε от температуры и оценка погрешности опыта.
О
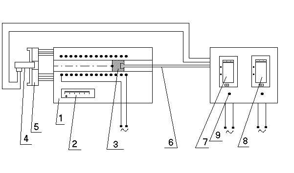
писание установки: Установка (Рис 1) смонтирована на базе электрической трубчатой печи. Сопротивление типа СУОЛ. С одной стороны печи установлен радиационный пирометр типа РАПИР с датчиком ТЕРА – 50, визированный на поверхность испытуемого образца, вставленного в печь с противоположной стороны импульс от датчика подается на потенциометр КСП – 2, со шкалой 0 – 10 мВ. а Т.Э.Д.С. хромель-алюмелевой термопары, слой которой расположен на поверхности образца, измеряется милливольтметром с датчиком температур. Рис. 1 Схема экспериментальной установки.
1 – электрическая печь; 2 – милливольтметр печи; 3 – образец; 4 – датчик ТЕРА – 50; 5 – устройство для визирование датчика; 6 – термопара типа ХА; 7 – потенциометр КСП – 2 со шкалой 0 – 10 мВ; 8 – потенциометр КСП – 2 со шкалой 0 – (+1100º); 9 – тумблер;
Расчетная часть.
Для каждой заданной температуры (tи) по формуле (7) рассчитываются значения степеней черноты поверхности материала.
| № | Тпечи, ºС | Тр, В | Ти, К | εоп | εэт | δ |
| 1 | 2 | 3 | 4 | 5 | 6 | 7 |
| 1 | 970º | 1203 | 1213 | 0,967 | 0,67 | 44 |
| 2 | 930º | 1153 | 1163 | 0,966 | 0,69 | 40 |
| 3 | 840º | 1073 | 1083 | 0,964 | 0,72 | 34 |
Н
а рисунке 2 представлено несколько графических зависимостей для различных материалов ε2ƒ(t). Полученные данные сопоставляем с этими зависимостями и определяем из какого материала выполнен образец. По полученным данным испытуемый образец выполнен из магнезита.
Определяем относительную погрешность измерений по формуле:
Характеристики
Тип файла документ
Документы такого типа открываются такими программами, как Microsoft Office Word на компьютерах Windows, Apple Pages на компьютерах Mac, Open Office - бесплатная альтернатива на различных платформах, в том числе Linux. Наиболее простым и современным решением будут Google документы, так как открываются онлайн без скачивания прямо в браузере на любой платформе. Существуют российские качественные аналоги, например от Яндекса.
Будьте внимательны на мобильных устройствах, так как там используются упрощённый функционал даже в официальном приложении от Microsoft, поэтому для просмотра скачивайте PDF-версию. А если нужно редактировать файл, то используйте оригинальный файл.
Файлы такого типа обычно разбиты на страницы, а текст может быть форматированным (жирный, курсив, выбор шрифта, таблицы и т.п.), а также в него можно добавлять изображения. Формат идеально подходит для рефератов, докладов и РПЗ курсовых проектов, которые необходимо распечатать. Кстати перед печатью также сохраняйте файл в PDF, так как принтер может начудить со шрифтами.
















