Метрология КР вариант 13 (1093390), страница 2
Текст из файла (страница 2)
Расчетное уравнение имеет вид: Ао = ∑Аjув - ∑Аjум + Ак; Ак= Ао - ∑Аjув + ∑Аjум = Ао - (А7 + А8) + (А6 +А5+А4+А3+ А2+ А1+ А10). Ак= 1 – (3+154) + (16+27,5+18+32+23+27,5+16) = 4 мм
2) По условию задания ТАо = EsAо – EiAо = 300 – (–300) = 600 мкм. С другой
стороны допуск замыкающего звена определяется как сумма допусков составляющих звеньев:
ТАо = ∑ТАj =130+130+160+110+130+110+60+250+110 = 1190 мкм.
Чтобы обеспечить ТАо = 600 мкм, необходимо перейти как минимум на
IT10 или применить конструктивный компенсатор Ак.
3) Определение предельных отклонений звена – компенсатора.
Верхнее отклонение замыкающего звена:
EsAo = ∑EsАjув - ∑EiАjум + EiАк; преобразуя данное уравнение:
Ei Ак = EsAo - ∑EsАjув + ∑EiАjум ,
EiАк = EsAo – (EsА7 +EsА8) + (EiА6+EiА5+EiА4+EiА3+ EiА2+EiА1+EiА10) = =300 – (0+0) + (0+0+0 -160-130-130+0)=-120 мкм
Нижнее отклонение замыкающего звена:
EiAo = ∑EiАjув - ∑EsАjум + EsАк преобразуя данное уравнение получаем:
EsАк = EiAo - ∑EiАjув. + ∑EsАjум.
EsАк=EsAo – (EiА7 +EiА8) + (EsА6+EsА5+EsА4+EsА3+ EsА2+EsА1+EsА10) = -300– (-60-250)+ (110+130+110+0+0+0+110)=+470 мкм.
4) Допуск звена компенсатора Ak = 1+0,47 определяем по формуле: ТАк =EsAk – EiAk = 470 - (-120) = 590 мкм.
Произведем проверку: ТАк =∑ТАj –ТАо.
ТАк =1190 – 600= 590 мкм – значение допуска определено верно.
5) Расчет количества сменных прокладок K и их толщины B.
kK = ТАк / TAo +1 = 590/ 600 +1= 1,98. Принимаем K = 2.
В = ТАк / k = 590 / 2 = 295 мкм.
Проверка: Ak max = Ak min + K ∙ B ≤ Ak maxf,
где Ak maxf =1,470 мм - фактическое максимальное значение звена компенсатора
Ak max = (1-0,12) + 2 ∙ 0,295 = 1,47 мкм – что соответствует Ak maxf. Условие выполняется.
Раздел III
1. Выбор средств контроля размеров деталей редуктора
1.1 Крышка подшипникового узла (вал)
В разделе 1 было выбрано 2 конструкции крышки: глухая и с отверстием для выхода вала. Глухая крышка имеет посадку в корпус
110 H6/d11, а крышка с отверстием -
110H6/d9.
Выберем средство измерения для глухой крышки. Выбор осуществляем по условию: Ц.дел.прибора£0,3·ТА
Значение допуска составляет Тd = 220 мкм (при IT11 и
110).
0,3 ∙ 0,22 = 0,066 мм. Для данной детали подходит штангенциркуль с отсчетом по нониусу 0,05 мм (0,05<0,066 – условие выполняется).
Для крышки с отверстием Td = 87 мкм (при IT9 и
110). 0,3∙0,087 = 0,0261 мм. Выбираем скобу индикаторную с ценой деления 0,01 мм (0,01< 0,0261 - условие выполняется.)
1.2. Распорная втулка (кольцо).
Посадка дистанционного кольца (втулки) на вал имеет вид
60 F8. При этом значение допуска составляет 13 мкм.
0,3∙0,013 = 0,039 мм. Выбираем нутромер микрометрический с ценой деления 0,01 мм. 0,01<0,039 – условие выполняется.
1.3. Осевой зазор при сборке.
При сборке редуктора необходимо обеспечить осевой зазор Ао=1 ± 0,3мм
Значение допуска при этом составляет 600 мкм. Наиболее удобным средством измерения зазора является плоский щуп – набор пластин различной толщины. Толщина пластин может быть 0,1; 0,2; 0,3 мм.
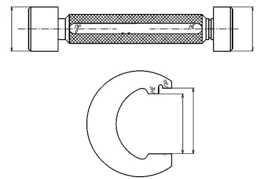
2. Расчет исполнительных размеров контрольных калибров.
Исполнительные размеры калибр – скобы.
Измеряемый элемент детали имеет наружный номинальный размер
70 мм, поле допуска s6, предельные отклонения: верхнее +78, нижнее +59 мкм, поле допуска Т=19 мкм.
Определяем величину допускаемой погрешности измерения: по табл.10.1 находим строку интервала номинальных размеров 50 – 80 мм и столбец 6-го квалитета. В их пересечении находим для допуска 19 мкм допускаемую погрешность измерения, равную 5 мкм.
Исполнительные размеры калибр-скобы рассчитываем по следующим уравнениям:
Калибр –скоба
Р- Пр Þ ИР= d0+ esd – z + H1/2= 70+0,078 – 0,0025 +0,005/2 =70,073 мм
Р – Не Þ ИР= d0+ eid –H1/2= 70+0,0059 – 0,005/2=70,0034мм
Исполнительные размеры калибр-пробки.
Измеряемый элемент детали имеет наружный номинальный размер
70 мм, поле допуска Н6, предельные отклонения: верхнее +19, нижнее 0 мкм, поле допуска Т=19 мкм.
Определяем величину допускаемой погрешности измерения: по табл.10.1 находим строку интервала номинальных размеров 50 – 80 мм и столбец 6-го квалитета. В их пересечении находим для допуска 19 мкм допускаемую погрешность измерения, равную 5 мкм.
Исполнительные размеры калибра пробка рассчитываем по следующим уравнениям:
Калибр–пробка
Р – Пр Þ ИР= D0+ EID+ z + H/2= 70+0+0,0025+0,0025/2=70,00375мм
z , H, H1 – определяются по таблице
Р – Не Þ ИР= D0+ ESD+ H/2= 70+0,019+0,0025/2=70,02025мм
Эскизы калибров пробки и скобы.
















