Гольберг Г.Ю. - Приготовление растворов флокулянтов (1093039)
Текст из файла
Комплексный научно-исследовательский и проектно-конструкторский институт обогащения твёрдых горючих ископаемых (ИОТТ)
Московский Государственный Университет Инженерной Экологии
Кафедра "Техника переработки природных топлив"
К.т.н. Г.Ю. Гольберг (Институт обогащения твердых горючих ископаемых)
Приготовление растворов флокулянтов
Методические указания к лабораторной работе
Люберцы-Москва – 2002
ЦЕЛЬ РАБОТЫ
2
Изучить методику приготовления промежуточных и рабочих растворов порошкообразных флокулянтов.
ЭКСПЕРИМЕНТАЛЬНАЯ УСТАНОВКА
Рабочие растворы флокулянтов готовят в 2 стадии:
-
приготовление промежуточного раствора;
-
разбавление промежуточного раствора с получением рабочего раствора.
Для приготовления промежуточного раствора используется магнитная мешалка типа ММ-3 (см. рис. 1).
1 – ручка регулятора скорости вращения мешалки; 2 – тумблер включения нагрева; 3 – тумблер включения электродвигателя мешалки
Рис. 1.
На основании мешалки установлен электродвигатель, на валу которого закреплен ротор с постоянным магнитом. В корпусе мешалки имеется электроплитка. На панели управления расположены: ручка 1 для регулирования скорости вращения мешалки, тумблер 2 для включения нагрева и тумблер 3 для включения электродвигателя мешалки.
Т
3
ехническая характеристика магнитной мешалки ММ-3:- максимальная потребляемая мощность, Вт - 200;
- максимальная скорость вращения ротора, об/мин - 1400;
- максимальный объем перемешиваемой жидкости, см3 - 1500;
- масса, кг - 4.
ПОРЯДОК ПОДГОТОВКИ К ПРОВЕДЕНИЮ ЭКСПЕРИМЕНТА
-
Установить тумблеры 2 и 3 в положение "Выключено", а ручку 3 – в крайнее левое положение.
-
Снять с плиты мешалки стальное предохранительное кольцо.
-
В плоскодонную колбу налить точно отмеренный объем воды (дистиллированной или водопроводной).
ПОРЯДОК ПРОВЕДЕНИЯ ЭКСПЕРИМЕНТА
1. Взвесить на весах с точностью до 0,01 г необходимое для приготовления раствора количество порошкообразного флокулянта; масса навески флокулянта определяется для данного объема воды исходя из молекулярной массы флокулянта:
-
при молекулярной массе не более 1000000 концентрация промежуточного раствора должна составлять 1 %;
-
при молекулярной массе от 1000000 до 5000000 концентрация промежуточного раствора должна составлять 0,5 %;
-
при молекулярной массе не более 1000000 концентрация промежуточного раствора должна составлять 1 %;
-
при молекулярной массе более 5000000 концентрация промежуточного раствора должна составлять 0,2 – 0,3 %.
2. Установить на плитку колбу с водой и погрузить в нее перемешивающий стержень.
3. Подключить мешалку к сети.
4. Установить тумблер 3 в положение "Включено".
5. Поворотом ручки 1 по часовой стрелке отрегулировать скорость вращения перемешивающего стержня таким образом, чтобы он вращался свободно, не подпрыгивая, а вращающаяся в колбе вода образовывала бы воронку, причем в воде по возможности не должно быть пузырьки воздуха.
6. Постепенно высыпать навеску порошкообразного флокулянта в колбу таким образом, чтобы он по возможности попал бы в воронку.
7. Процесс перемешивания следует осуществлялть вплоть до полного растворения флокулянта, что определяется визуально по отсутствию в растворе каких-либо сгустков и комков. Полученный промежуточный раствор флокулянта хранить в темном сухом месте (срок хранения – до 1 месяца).
8. Рабочий раствор флокулянта следует готовить непосредственно перед употреблением. Для этого промежуточный раствор разбавляется водой до концентрации 0,05 %. Срок хранения рабочего раствора – до 1 суток.
9
4
. По окончании работы следует повернуть ручку 1 против часовой стрелки до упора, установить тумблер 3 в положение "Выключено", снять колбу уложить стальное кольцо на плитку и выключить мешалку из сети.ПРАВИЛА ТЕХНИКИ БЕЗОПАСНОСТИ
ПРИ РАБОТЕ НА УСТАНОВКЕ
-
Запрещается работать на неисправной мешалке.
-
Во избежание термического разложения флокулянта не следует включать нагрев.
-
Не допускать резких ударов перемешивающего стержня о стенки колбы.
-
Осторожно укладывать стальное кольцо на плитку.
Контрольные вопросы
-
Какие вещества называются флокулянтами?
-
Почему растворы флокулянтов готовят в две стадии?
-
Как влияет концентрация раствора флокулянта на эффективность флокуляции?
-
Какие требования предъявляются к промышленным устройствам для приготовления растворов флокулянтов и к режиму перемешивания порошкообразных флокулянтов с водой?
-
Назовите условия и сроки хранения промежуточных и рабочих растворов флокулянтов.
Литература
-
Борц М.А., Бочков Ю.Н., Рябченко А.Н. Флокуляция угольных и минеральных суспензий. Учебное пособие. – М.: ИПК Минуглепрома, 1990. – С. 54-59.
-
Справочник по обогащению углей. Под ред. И.С. Благова, A.M. Коткина, Л.С. Зарубина. 2-е изд., перераб. и доп. – М.: Недра, 1984. – С. 493-496.
-
Техника и технология обогащения углей. Под ред. В.А. Чантурия, А.Р. Молявко. – М.: Наука, 1995. – С. 463.
Комплексный научно-исследовательский и проектно-конструкторский институт обогащения твёрдых горючих ископаемых (ИОТТ)
Московский Государственный Университет Инженерной Экологии
Кафедра "Техника переработки природных топлив"
К.т.н. Г.Ю. Гольберг (Институт обогащения твердых горючих ископаемых)
Исследование процесса обезвоживания суспензий
на ленточном фильтр-прессе
Методические указания к лабораторной работе
Люберцы-Москва – 2002
Ц
2
ЕЛЬ РАБОТЫИсследование процесса обезвоживания суспензий угольных шламов и продуктов флотации углей на лабораторном ленточном фильтр-прессе. На основе полученных экспериментальных данных определяются ожидаемые значения технологических показателей работы промышленных ленточных фильтр-прессов.
ЭКСПЕРИМЕНТАЛЬНАЯ УСТАНОВКА
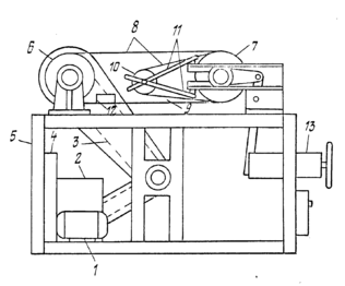
Опыты проводятся на лабораторном ленточном фильтр-прессе (см. рис.1).
Схема устройства лабораторного ленточного фильтр-пресса
1 – электродвигатель; 2 – редуктор; 3 – цепная передача; 4 – клиноременная передача; 5 – рама; 6 – ведущий валок; 7 – ведомый отжимной валок; 8 – фильтрующие ленты; 9 – клиновая зона; 10 – ведомый вспомогательный валок; 11 – регулирующие тяги; 12 – исследуемый осадок; 13 – пружинное натяжное устройство
Рис. 1.
Лабораторный ленточный фильтр-пресс состоит из рамы 5, в нижней части которой смонтированы реверсивный электродвигатель 1, редуктор 2, клиноременная 4 и цепная 3 передачи; ведущего 6, ведомого отжимного 7 валков диаметром 200 мм и ведомого вспомогательного 10 диаметром 75 мм валков; двух бесконечных лент 8 из полиэфирной сетки шириной 300 мм; тяг 11, на которых крепится вспомогательный валок 10, и пружинного натяжного устройства 13. Ленты образуют клиновую зону 9. Вспомогательный валок 10 может перемещаться в вертикальном и горизонтальном направлениях при помощи тяг 11. Конструкция фильтра обеспечивает реверсивное движение ленты и изменение ее натяжения в процессе работы. Выделяющийся при обезвоживании фильтрат собирается в расположенный под лентой поддон. Ведущий валок 6 имеет резиновую обечайку, ведомый валок 7 – стальной.
Т
3
ехническая характеристика лабораторного ленточного фильтр-пресса:- ширина ленты, мм - 300;
- расстояние между осями валков, мм - регулируемое;
- диаметр валков, мм - 200;
- скорость движения ленты, м/с - 0,03;
- давление отжима, Па - до 100000.
ПОРЯДОК ПОДГОТОВКИ К ПРОВЕДЕНИЮ ЭКСПЕРИМЕНТА
1. Готовится водная суспензия исследуемого продукта с заданным содержанием твердого; объем суспензии – 100 ÷ 150 см3.
2. Готовятся рабочие растворы флокулянтов (анионактивного и катионактивного) с концентрацией 0,05 %.
3. Фильтрующие ленты тщательно промываются водой.
4. При помощи натяжного устройства устанавливается требуемое давление отжима.
ПОРЯДОК ПРОВЕДЕНИЯ ЭКСПЕРИМЕНТА
1. Исследуемая суспензия перемешивается последовательно с растворами флокулянтов: сначала – с анионактивным, затем – с катионактивным; время перемешивания с каждым из флокулянтов должно составлять 5 с.
2. На нижнюю ветвь ленты устанавливается рамка с известным значением площади S; в рамку заливается исследуемая суспензия и включается секундомер.
3. В момент исчезновения свободной влаги с поверхности образовавшегося осадка рамка снимается и останавливается секундомер. Фиксируется время; это значение времени в дальнейшем будет использоваться в расчетах как время дренирования τ др. Измеряется толщина осадка h0.
4. Нажатием средней кнопки на блоке управления включается привод; при этом осадок по мере движения ленты проходит клиновую зону, зажимается между двумя лентами, и подвергается отжиму при перегибании через ведомый валок.
5. После прохождения осадка через ведомый валок привод останавливается нажатием правой кнопки на блоке управления; затем движение лент реверсируется нажатием левой кнопки на блоке управления.
6. Опреации (4) и (5) повторяются определенное количество раз в зависимости от заданного значения времени отжима осадка, после чего осадок снимается с ленты, измеряется толщина осадка h; осадок взвешивается и высушивается в сушильном шкафу при температуре 120 ± 5°С для определения влажности. Фильтрат собирается из поддона. При необходимости определяются объем фильтрата и содержание в нем твердого.
П
4
РАВИЛА ТЕХНИКИ БЕЗОПАСНОСТИПРИ РАБОТЕ НА УСТАНОВКЕ
-
Работать следует только на полностью исправном фильтр-прессе.
-
Не допускать попадание влаги на пусковую аппаратуру.
-
Запрещается прикасаться к подвижным частям фильтра (редуктору, цепной и клиноременной передачам, фильтрующим лентам и валкам) при включенном электродвигателе.
-
Работы по техническому обслуживанию и ремонту фильтра, а также изменение натяжения ленты разрешается выполнять только при выключенном электродвигателе.
-
Во избежание поломки натяжного устройства запрещается резко изменять натяжение ленты.
ОБРАБОТКА ЭКСПЕРИМЕНТАЛЬНЫХ ДАННЫХ
В результате проведенного эксперимента нам известны: время дренирования; толщина и масса влажного осадка; объем фильтрата.
После высушивания осадка и твердой фазы фильтрата рассчитывают:
влажность осадка W по формуле:
(1)
где: m вл – масса влажного осадка, г;
m с – масса сухого осадка, г;
содержание твердого в фильтрате Стф по формуле:
(2)
где: m тф – масса твердого в фильтрате, г;
V – объем фильтрата, л.
Далее рассчитывают ожидаемые значения технологических показателей работы промышленного ленточного фильтр-пресса.
Скорость движения лент υл рассчитывают по формуле:
(3)
где: Lдр – длина зоны дренирования промышленного ленточного
фильтр-пресса, м.
Удельную производительность ленточного фильтр-пресса по твердому q рассчитывают по формуле:
(4)
г
5
де: F – площадь рамки, м2.Характеристики
Тип файла документ
Документы такого типа открываются такими программами, как Microsoft Office Word на компьютерах Windows, Apple Pages на компьютерах Mac, Open Office - бесплатная альтернатива на различных платформах, в том числе Linux. Наиболее простым и современным решением будут Google документы, так как открываются онлайн без скачивания прямо в браузере на любой платформе. Существуют российские качественные аналоги, например от Яндекса.
Будьте внимательны на мобильных устройствах, так как там используются упрощённый функционал даже в официальном приложении от Microsoft, поэтому для просмотра скачивайте PDF-версию. А если нужно редактировать файл, то используйте оригинальный файл.
Файлы такого типа обычно разбиты на страницы, а текст может быть форматированным (жирный, курсив, выбор шрифта, таблицы и т.п.), а также в него можно добавлять изображения. Формат идеально подходит для рефератов, докладов и РПЗ курсовых проектов, которые необходимо распечатать. Кстати перед печатью также сохраняйте файл в PDF, так как принтер может начудить со шрифтами.
















