Составные части реакторов гомогенных и гетерогенных процессов (1092280)
Текст из файла
Политехникум Кохтла-Ярве
Химическое отделение
По предмету промышленная инфотехнология
на тему:
Выполнила:
Проверила:
г. Кохтла-Ярве
2002г.
Содержание:
-
Насадки
-
Мешалки
-
Форсунки
-
Тарелки
Насадки для колонных аппаратов
Насадки применяют в колонных аппаратах для создания большой поверхности контакта между стекающей по ней жидкостью и поднимающимся потоком паров и интенсивного их перемешивания. Котакт и массобмен между фазами в насадочной колонне происходят непрерывно на всем участке аппарата, заполненном насадкой. Для того, чтобы насадка работала эффективно, она должна удовлетворять следующим основным требованиям: 1) обладать большой поверхностью в единице объеме; 2) хорошо смачиваться орошающей жидкостью; 3) оказывать малое гидравлическое сопротивление газовому потоку; 4) равномерно распределять орошающую жидкость; б) быть стойкой к химическому воздействию жидкости и газа, движущихся в колонне; 6) иметь малый удельный вес; 7) обладать высокой механической прочностью; 8) иметь невысокую стоимость. Насадка выполняется обычно из коррозионно-стойкого материала (керамика, фарфор, стекло).
а) кольца Рашига, беспорядочно уложенные (навалом); б) кольца с перегородками, правильно уложенные; в) насадка Гудлое; г) кольца Палля; д) насадка “Спрейпак”; е) седла Берля; ж) хордовая насадка; з) седла “Инталлокс”.
Принцип действия основан на равномерном прохождении жидкости через загрузку насадки, форсунка позволяет распределить жидкость по всей поверхности насадки равномерно. Насадку укладывают беспорядочно на колосникову решетку, представляющую собой тарелку, составленную из дырчатых, просечно-вытяжных металлических листов или пластинчатых решеток. Колосники должны быть прочными. Секции колосника должны быть таких размеров, чтобы можно было легко извлекать их из колонны и вставлять в нее через люк нормальных размеров. Интенсивность массообмена и сопротивление движущимися потокам паров и жидкости во многом зависят от насадки. Высоту и размеры насадки ее элементов устанавливают на основании данных и опыта. Насадка малых размеров и сложной конфигурации имеет большую поверхность контакта, но создает повышенное сопртивление. Кроме того при выборе размеров надо знать, что мелкая насадка менее прочна и быстрее забивается твердыми отложениями.
Мешалки
Механические перемешивающие устройства состоят из трех основных частей; собственно мешалки, вала и привода. Мешалка является рабочим элементом устройства, закрепляемым на вертикальном, горизонтальном или наклонном валу. По устройству лопастей различают мешалки лопастные, пропеллерные, турбинные и специальные. По типу создаваемого мешалкой потока жидкости в аппарате различают мешалки, обеспечивающие преимущественно тангенциальное, радиальное и осевое течения. При тангенциальном течении жидкость в аппарате движется преимущественно по концентрическим окружностям, параллельным скорости вращения мешалки. Перемешивание происходит за счет вихре возникающих на кромках мешалки. Качество перемешивания будет наихудшим, когда скорость вращения жидкости равна скорости вращения мешалки. Радиальное течение характеризуется направлена движением жидкости от мешалки к стенкам аппарата перпендикуляр оси вращения мешалки. Осевое течение жидкости направлено параллельно оси вращения мешалки. В промышленных аппаратах с мешалками возможны различные сочетания этих основных типов течения. Тип создаваемого потока, а также конструктивные особенности мешалок определяют области их применения. При высоких скоростях вращения мешалок перемешиваемая жидкость вовлекается в круговое движение и вокруг вала образуется воронка, глубина которой увеличивается с возрастанием число оборотов и уменьшением плотности и вязкое среды. Для предотвращения образования воронки в аппарате помещают отражательные перегородки которые, кроме того, способствуют возникновению вихрей и увеличению турбулентности системы. Образование воронки можно предотвратить и при полном заполнении жидкостью аппарата, т. е при отсутствии воздушной прослойки между перемешиваемой жидкостью и крышкой аппарата, а также при установке вала мешалки эксцентрично к оси аппарата или применении аппарата прямоугольного сечения. Помимо этого, отражательные перегородки устанавливают во в случаях при перемешивании в системах газ—жидкость. Примени отражательных перегородок, а также эксцентричное или наклонное положение вала мешалки приводит к увеличению потребляемой ею мощности.
Мешалки лопастного типа.
Лопастными мешалками называются устройства, состоящие из двух или большего числа лопастей прямоугольного сечения, закрепленных на вращающемся вертикальном или наклони валу. К лопастным мешалкам относятся также и некого мешалки специального назначения: якорные, рамные и листовые. Основные достоинства лопастных мешалок — простота устройства невысокая стоимость изготовления. К недостаткам мешалок этого типа следует отнести низкое насосное действие мешалки (слабый осевой поте не обеспечивающее достаточно полного перемешивания во всем объеме аппарата. Вследствие незначительности осевого потока лопастные мешалки перемешивают только те слои жидкости, которые находятся в непосрственной близости от лопастей мешалки. Развитие турбулентности в объеме перемешиваемой жидкости происходит медленно, циркуляция жидкости невелика. Поэтому лопастные мешалки применяют для перемешивав жидкостей, вязкость которых не превышает 103 мн-сек/м^.
С целью увеличения турбулентности среды при перемешивании лопастными мешалками в аппаратах с большим отношением высоты к диаметру используют многорядные двухлопастные мешалки с установкой на валу нескольких рядов мешалок, повернутых друг относительно друга на 90°. Расстояние между отдельными рядами выбирают в пределах (0,3—0,8d), где d — диаметр мешалки, в зависимости от вязкости перемешиваемой среды. Для перемешивания жидкостей вязкостью не более 104 mh-cck'm^, а также для перемешивания в аппаратах, обогреваемых с помощью рубашки или внутренних змеевиков, в тех случаях, когда возможно выпадение осадка или загрязнение теплопередающей поверхности, применяют якорные или рамные мешалки. Они имеют форму, соответствующую внутренней форме аппарата, и диаметр, близкий к внутреннему диаметру аппарата или змеевика. При вращении эти мешалки очищают стенки и дно аппарата от налипающих загрязнений. Листовые мешалки имеют лопасти большей ширины, чем у лопастных мешалок, и относятся к мешалкам, обеспечивающим тангенциальное течение перемешиваемой среды. Кроме чисто тангенциального потока, который является преобладающим, верхние и нижние кромки мешалки создают вихревые потоки, подобные тем, которые возникают при обтекании жидкостью плоской пластины с острыми краями Листовые мешалки применяют для перемешивания маловязких жидкостей (вязкостью менее 50 мн-сек/м2), интенсификации процессов теплообмена, при проведении химических реакций в объеме и растворении. Для процессов растворения используют листовые мешалки с отверстиями в лопастях. При вращении такой мешалки на выходе из отверстий образуются струи, способствующие растворению твердых материалов. Основные размеры лопастных мешалок изменяются в зависимости от вязкости среды. Обычно для лопастных мешалок принимают следующие соотношения размеров: диаметр мешалки d == (0,66—0,9) D (D — внутренний диаметр аппарата), ширина лопасти мешалки Ь = (0,1—0,2) D, высота уровня жидкости в сосуде Н = (0,8—1,3) D, расстояние от мешалки до дна сосуда h as: 0,3D. Для листовых мешалок d = (0,3—0,5) D, Ь = (0,5—1,0) D, h = (0,2—0,5) D.
Пропеллерные мешалки. Используются для производства щелочей, кислот, реактивов, соков, напитков. Рабочей частью пропеллерной мешалки является пропеллер устройство с несколькими фасонными лопастями, изогнутыми по профилю гребного винта. Наибольшее распространение получили трехлопастные пропеллеры. На валу мешалки, который может быть расположен вертикально, горизонтально или наклонно, в зависимости от высоты слоя жидкости устанавливают один или несколько пропеллеров. Вследствие более обтекаемой формы пропеллерные мешалки при одинаковом числе Рейнольдса потребляют меньшую мощность, чем мешалки прочих типов. Переход в автомодельную область для них наблюдается при относительно низких значениях критерия. Пропеллерные мешалки отличаются сложное конструкции и сравнительно высокой стоимостью изготовления. Их эффективность сильно зависит от формы аппарата и расположения в нем мешалки. Пропеллерные мешалки следует применять в цилиндрических аппаратах с выпуклыми днищами. При установке их в прямоугольных баках или аппаратах с плоскими или вогнутыми днищами интенсивность перемешивания падает вследствие образования застойных зон.Для улучшения перемешивания больших объемов жидкостей и организации направленного течения жидкости в сосудах устанавливают направляющий аппарат, или диффузор. Диффузор представляет собой короткий цилиндрический или конический стакан, внутри которого помещают мешалку. При больших скоростях вращения мешалки в отсутствие диффузора в аппарате устанавливают отражательные перегородки.Пропеллерные мешалки применяют для перемешивания жидкостей вязкостью не более 2- 10s мн-сек/м2, для растворения, образования взвесей, быстрого перемешивания, проведения химических реакций в жидкой среде, образования маловязких эмульсий и гомогенизации больших объемов жидкости. Для пропеллерных мешалок принимают следующие соотношения основных размеров: диаметр мешалки d == (0,2—0,5) D, шаг винта s = = (1,0—3,0) D, расстояние от мешалки до дна сосуда h = (0,5—1,0) d, высота уровня жидкости в сосуде Н ==• (0,8—1,2) D. Число оборотов пропеллерных мешалок достигает 40 в секунду, окружная скорость— | 15 м/сек.
Турбинные мешалки. Используются для производства смол, нефтепрдуктов. Эти мешалки имеют форму колес водяных турбин с плоскими, наклонными или криволинейными лопатками, укрепленными, как правило, на вертикальном валу . В аппаратах с турбинными мешалками создаются преимущественно радиальные потоки жидкости. При работе турбинных мешалок с большим числом оборотов наряду с радиальным потоком возможно возникновение тангенциального (кругового) течения содержимого аппарата и образование воронки. В этом случае в аппарате устанавливают отражательные перегородки. Закрытые турбинные мешалки в отличие от открытых создают более четко выраженный радиальный поток. Закрытые мешалки имеют два диска с отверстиями в центре для прохода жидкости; диски сверху и снизу привариваются к плоским лопастям. Жидкость поступает в мешалку параллельно оси вала, выбрасывается мешалкой в радиальном направлении и достигает наиболее удаленных точек аппарата. Турбинные мешалки обеспечивают интенсивное перемешивание во всем объеме аппарата. Мощность, потребляемая турбинными мешалками, работающими в аппаратах с отражательными перегородками, при турбулентном режиме перемешивания практически не зависит от вязкости среды. Поэтому мешалки этого типа могут применяться для смесей, вязкость которых во время перемешивания изменяется. Турбинные мешалки широко применяют для образования взвесей (размер частиц для закрытых мешалок может достигать 25 мм), растворения, при проведении химической реакции, абсорбции газов и интенсификации теплообмена. В зависимости от области применения турбинные мешалки обычно имеют диаметр d = (0,15—0,65) D при отношении высоты уровня жидкости к диаметру аппарата не более двух. При больших значениях этого отношения используют многорядные мешалки.Число оборотов мешалки колеблется в пределах 2—5 в секунду, а окружная скорость составляет 3—8 м/сек.
Пропеллерные мешалки, турбинные мешалки, якорная.
Форсунки
Форсунка предназначена для распыливания жидкого топлива в котлоагрегатах, печах и сушильных установках и приведение его в мелкодисперсное состояние, при котором смешение с воздухом и последующее и плное сгорание топлива облегчаются и ускоряются. В польшенстве трубчатых печей топливо распыляют паром или воздухом. Паровые форсунки просты по конструкции но в них много расходуется пара. Воздушные форсунки экономичны. Распыленное топливо в процессе смешения с воздухом или после него нагревается за счет тепла в форсуночной амбразуре и топке до температуры вспламенения смеси. При этом оно испаряется и подвергается пирогенному разложению. Заключительным этапом является полное сгорание топливной смеси.
В большенстве трубчатых печей для сжигания газообразного топлива применяют газовые горелки. Они представляют собой концентрично расположенные в форсуночной амбразуре кольцевые трубчатые коллекторы, снабженные множеством калиброванных сопел для выхода газа.
Форсунка паромеханическая ФМП-ГМ-2:
-
узел распылителя 1;
-
ствол жидкого топлива 2;
-
ствол пара 3;
-
фланец установочный 4;
-
узлы подвода жидкого топлива и пара 5,6.
Форсунка паромеханическая ФМП-ГМ-2
Форсунка предназначена для распыливания жидкого топлива в котлоагрегатах, печах и сушильных установках.
Допускается использование форсунок для совместного сжигания жидкого и газового топлива в моменты перехода с одного вида топлива на другой.
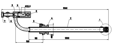
Форсунка механическая ТФ-1000-20:
-
распылитель 1;
-
ствол 2;
-
узел подвода топлива в состав которого входят штуцер 3, штуцер 5, серьга 6, болт 7, ось 8;
-
фланца установочного 4 с крепежным болтом 9 (М6).
Характеристики
Тип файла документ
Документы такого типа открываются такими программами, как Microsoft Office Word на компьютерах Windows, Apple Pages на компьютерах Mac, Open Office - бесплатная альтернатива на различных платформах, в том числе Linux. Наиболее простым и современным решением будут Google документы, так как открываются онлайн без скачивания прямо в браузере на любой платформе. Существуют российские качественные аналоги, например от Яндекса.
Будьте внимательны на мобильных устройствах, так как там используются упрощённый функционал даже в официальном приложении от Microsoft, поэтому для просмотра скачивайте PDF-версию. А если нужно редактировать файл, то используйте оригинальный файл.
Файлы такого типа обычно разбиты на страницы, а текст может быть форматированным (жирный, курсив, выбор шрифта, таблицы и т.п.), а также в него можно добавлять изображения. Формат идеально подходит для рефератов, докладов и РПЗ курсовых проектов, которые необходимо распечатать. Кстати перед печатью также сохраняйте файл в PDF, так как принтер может начудить со шрифтами.
















