Методические указания по выполнению задания. Проекционное черчение (1092184)
Текст из файла
Московский ордена Трудового Красного Знамени
институт химического машиностроения
МЕТОДИЧЕСКИЕ УКАЗАНИЯ ПО ВЫПОЛНЕНИЮ ЗАДАНИЯ
„ПРОЕКЦИОННОЕ ЧЕРЧЕНИЕ"
Москва 1979
Московский ордена Трудового Красного Знамени институт химического машиностроения
Кафедра «Начертательная геометрия и машиностроительное черчение»
МЕТОДИЧЕСКИЕ УКАЗАНИЯ ПО ВЫПОЛНЕНИЮ ЗАДАНИЯ
„ПРОЕКЦИОННОЕ ЧЕРЧЕНИЕ"
Составитель к.т.н., доц. Я- Б. КАПЛУН
Допущено учебно-методической комиссией
Москва 1979
В данных «Указаниях» рассматривается содержание, оформление и рациональные методы выполнения задания по теме «Проекционное черчение». Работа может быть использована при выполнении графического домашнего задания и при подготовке к зачету.
© Московский институт химического машиностроения, 1979.
I. Задание и цель работы
Задание по теме «Проекционное черчение» содержит четыре отдельных задачи. Каждая задача имеет номер, например 12/3: в числителе — номер индивидуального задания, обычно соответствующий Вашему номеру в списке группы, в знаменателе — порядковый номер задачи. Задачи выполняются по порядку номеров.
В задачах требуется:
1. Дополнить, если нужно, две заданные проекции (виды спереди и сверху) недостающими изображениями отверстий. Обратите внимание, что в некоторых задачах отверстия заданы проекциями тел, с помощью которых они как бы «пробиты», иначе говоря — отверстия должны быть получены, как результат пересечения данного тела с телом изображенным штрихпунктирной линией с короткими штрихами. Все «пробивающие» поверхности являются проецирующими (совпадают с направлением проецирования) относительно одной из плоскостей проекций. Поэтому на соответствующей проекции эти поверхности показаны линией видимого контура, если она совпадает с контурами искомого отверстия.
2. Построить третью проекцию (вид слева) по двум заданным.
3. Выполнить необходимые разрезы, совместив их, согласно ГОСТу, с соответствующими видами (Помимо необходимых разрезов преподавателем может быть задан еще какой-либо разрез, который также должен быть нанесен ш чертеж).
4. В задаче 3-ей помимо построений, указанных в п.п. 2 и 3, требуется построить наклонное сечение плоскостью, фронтальный след которой отмечен на задании.
5. Во всех заданиях нанести на чертежи необходимые размеры.
6. Построить аксонометрические изображения моделей в задачах 1 и 2 (Выполнение аксонометрических изображений рассмотрено в отдельном методическом пособии).
Кроме выполнения указанного задания на листе в обязательном порядке на одном из занятий выполняются 2 задачи по вычерчиванию трех проекций модели по ее аксонометрическому изображению. Эти задачи выполняются в рабочей тетради непосредственно на занятии, и лист принимается окончательно только при наличии выполненных на занятии двух указанных задач, которые входят в комплект предъявляемых на зачете работ.
В процессе работы над листом «Проекционное черчение» должны быть усвоены основные правила выполнения чертежей предметов в ортогональных проекциях, изучены государственные стандарты на изображения (виды, разрезы, сечения), штриховку в разрезах и сечениях и нанесение размеров.. Все это послужит затем основой при выполнении машиностроительных чертежей.
II. Материал, изучаемый при выполнении задания
1. Государственные стандарты из сборника «Единая система конструкторской документации. ГОСТ 2.301-68—ГОСТ 2.317-68»:
а) ГОСТ 2.305-68. Изображения — виды, разрезы, сечения;
б) ГОСТ 2.306-68. Обозначения графические материалов и правила их нанесения на чертежах;
в) ГОСТ 2.307-68. Нанесение размеров и предельных отклонений;
г) ГОСТ 2.317-68. Аксонометрические изображения.
2. Разделы курса начертательной геометрии:
а) проекции прямых линий и плоских фигур;
б) проекции геометрических тел;
в) пересечение многогранников, цилиндров, конусов и сфер плоскостями различных положений.
III. Оформление листа и распределение на нем задач
Задание по теме «Проекционное черчение» выполняется на листе формата А4. Лист снабжается, согласно ГОСТ 2.301-68, общей рамкой (рис. 1) и штампом, ограничивающими поле чертежа (рис. 2). Поле чертежа делится на четыре части. Таким образом, получается четыре участка, на которых располагаются чертежи четырех задач и аксонометрические изображения двух моделей, обозначенные в индивидуальном задании, в указанном на рис. 1 порядке.
IV. Чтение чертежа
Первое, что необходимо проделать при работе над любым чертежом, — это прочесть его. Прочесть чертеж — значит по имеющимся на нем одному или нескольким плоским изображениям (проекциям) представить себе форму всех элементов объекта и, следовательно, весь объект в целом. Это основная при работе над чертежом задача решается применительно к чертежу модели или детали примерно в такой последовательности:
1) Из каких геометрических тел составлен изображаемый объект.
2) Какими геометрическими поверхностями образованы пустоты или отверстия в данном объекте.
3) Какие линии должны получиться в пересечении отдельных поверхностей, ограничивающих данный объект, включая имеющиеся в нем пустоты или отверстия.
С чтения чертежа, представленного в задании, т. е. ответа на вышеприведенные вопросы, должна начинаться работа над каждой из задач. Особое внимание следует уделить виду и положению линий пересечения поверхностей, так как это требуется, прежде всего, для построения в проекциях недостающих контуров отверстий и для самоконтроля сделанных построений.
Рассмотрим процесс чтения чертежа на примере:
На рис. 3 показана в двух ортогональных проекциях (вид спереди и вид сверху) некоторая модель, причем внутренняя
Рис. 3.
конфигурация показана линиями невидимого контура — именно так составлен исходный чертеж в задачах 3-й и 4-й. Когда будут построены необходимые разрезы, они придадут данному чертежу наглядность, а пока постараемся «прочесть» исходный чертеж.
1. Данная модель составлена из двух частей: верхней — цилиндра и нижней — правильной шестигранной призмы, которые составляют как бы «заготовку» будущей модели.
2. Внутри модели, судя по линиям невидимого контура, имеются:
а) вертикальное сквозное отверстие — коническое в верхней части и цилиндрическое в основной части. Коническая часть отверстия сужается сверху вниз от диаметра наружного цилиндра до диаметра цилиндрической части того же отверстия. Цилиндрическая часть отверстия проходит частично через цилиндрическую часть модели и сквозь всю ее призматическую часть, выходя на нижнее основание (торец);
б) в верхней, цилиндрической части модели проделано поперечное сквозное призматическое отверстие. По проекциям контуров этого отверстия можно заключить, что его боковые стенки параллельны вертикальной оси симметрии модели и перпендикулярны фронтальной плоскости проекций. Верхняя и нижняя стенки этого отверстия — горизонтальные плоскости, перпендикулярные оси симметрии модели (или оси ее цилиндрической части). Призматическое поперечное отверстие, проходя через внутреннюю часть модели, пересекает коническую и цилиндрическую полости и само при этом делится на две части;
в) в нижней, призматической части модели имеется паз, идущий, судя по виду сверху, в направлении, перпендикулярном верхнему отверстию, рассмотренному в п. б). Боковые стенки паза представляют плоскости, параллельные оси симметрии модели и фронтальной плоскости проекций, верхняя его стенка — горизонтальная плоскость. Паз также разделен на две части вертикальным отверстием.
3. Коническая часть вертикального отверстия переходит в цилиндрическую по окружности, перпендикулярной их общей оси и проецирующейся на вид спереди и отрезок прямой, а на вид сверху — в натуральную величину.
Боковые стенки призматического отверстия пересекаются с наружной и внутренней цилиндрическими поверхностями по прямым линиям — отрезкам образующих цилиндров. Эти же стенки пересекаются с конической частью вертикального отверстия по гиперболам. Верхняя и нижняя плоские стенки призматического отверстия пересекаются с внутренней конической, наружной и внутренней цилиндрическими поверхностями по окружностям, лежащим, как и сами стенки, в горизонтальных плоскостях, а потому проецирующимся на вид сверху в натуральную величину, а на вид спереди — в отрезки прямой линии.
У нижнего паза боковые и верхняя плоские стенки пересекаются с внутренней цилиндрической поверхностью аналогично стенкам призматического отверстия. Эти же стенки пересекаются с плоскими гранями шестигранной призмы по прямым. Кстати, по ним мы и заключили, что нижний паз имеет плоские стенки, не видя третьей проекции модели.
Подобным образом должен быть рассмотрен исходный чертеж каждой задачи. Только после этого следует приступить к дальнейшей работе над листом.
V. Способ указания отверстий в некоторых задачах
В некоторых задачах поперечные отверстия на двух проекциях показаны не полностью, так что на исходном чертеже требуется построить контуры отверстия на одной из проекций.
Методы построения контура отверстия будут разобраны ниже. Способ задания отверстия состоит в следующем.
Представим себе, что отверстие пробито в идеально податливом материале каким-то призматическим телом, как это делают цилиндрическим пробойником, оставляющим круглые отверстия в нетолстых пластинах или листах. Тогда станет понятным, что этот воображаемый призматический «пробойник» оставит в теле отверстие с плоскими стенками, точно соответствующее ему по форме. Такое «пробивающее» тело и задано двумя проекциями в некоторых задачах.
Причем, как уже говорилось, над одной из проекций в большинстве случаев контуры намечаемого отверстия совпадают с проекцией «пробивающего» тела; тогда эти контуры показываются обычной линией видимого контура и на данной проекции доработки не требуют.
На другой же проекции (а иногда на обеих) «пробивающее» тело показано тонкой штрихпунктирной линией, а проекция контуров образуемого отверстия отсутствует и ее следует построить прежде, чем перейти к построению третьей проекции и разрезов.
VI. Построение проекций без использования внешних осей проекций
Из курса начертательной геометрии известно, что проекционный чертеж может быть безосным, не имеющим заданных осей проекций, что позволяет выполнить на таком чертеже различные построения или определить любые геометрические параметры.
Метод построения изображений без использования внешних осей остановится единственно рациональным при выполнении реальных чертежей, поэтому сразу познакомимся с его использованием.
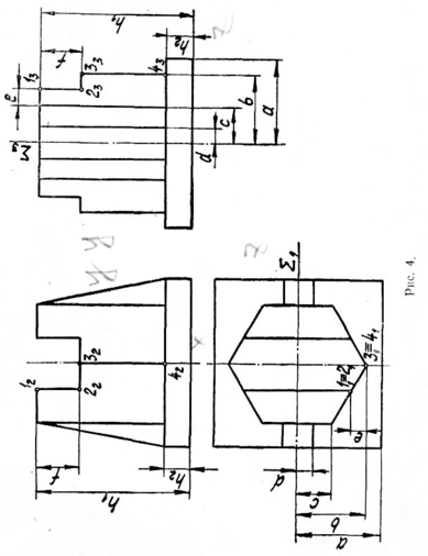
Предположим, что по видам спереди и сверху на рис. 4 нужно построить вид слева. Вместо проведения произвольных осей X, Y и Z выберем одну из плоскостей симметрии данной детали в качестве координатной плоскости. Пусть это будет плоскость Σ, параллельная плоскости проекций П5, тогда ее проекция Σ1, совпадает с осью симметрии вида сверху. Проекцию Σ3 проведем на некотором расстоянии от главного вида. Он определит положение вида слева и будет служить также его осью симметрии.
Теперь для построения любого элемента вида слева отрезки, измеренные на виде сверху в направлении перпендикулярном проекции Σ1, нужно будет отложить на виде слева перпендикулярно к Σ3, так как то и другое будет выражать координату Y. На рис. 4 такими размерами будут величины а, b, с и d, показанные на обоих видах. Высоты, соответствующие координатам, переносятся на вид слева с главного вида. Эти размеры — h1 и h2 — также показаны на двух видах: главном и слева.
Однако необязательно все отрезки измерять от одной и той же координатной плоскости. Так, положение ребра 3—4 на виде слева определялось размером b, взятым от условной плоскости Σ. Но ребро 1—2, получившееся на пересечении боковой грани шестигранника с плоской боковой стенкой верхнего паза, можно на виде слева построить но его расстоянию от ребра 3—4, взятому на направлении, перпендикулярном к Σ1 на виде сверху (размер е) и отложенном перпендикулярно Σ3 на виде слева; в этом случае размер, выражающий координату, привязывает данный элемент не к координатной плоскости Σ, а к другому ближайшему элементу. Также и высота f бралась от ближайшего верхнего торца модели.
Для несимметричных предметов за координатные (опорные) плоскости выбирают любые удобные грани предмета или берут их на некотором расстоянии от предмета. Причем, любой последующий элемент построения можно привязывать размерами уже не к начальной плоскости, а к предыдущему элементу, как проекция 1—2 (рис. 4) привязывалась к проекции 3—4, а не к проекции Σ3.
Этот метод построения проекций без указания осей становится особенно удобным при выполнении машиностроительных чертежей, где различные дополнительные виды, и разрезы строятся часто без проекционной связи с основными изображениями и размеры приходится откладывать в удаленных друг от друга местах чертежа.
Характеристики
Тип файла документ
Документы такого типа открываются такими программами, как Microsoft Office Word на компьютерах Windows, Apple Pages на компьютерах Mac, Open Office - бесплатная альтернатива на различных платформах, в том числе Linux. Наиболее простым и современным решением будут Google документы, так как открываются онлайн без скачивания прямо в браузере на любой платформе. Существуют российские качественные аналоги, например от Яндекса.
Будьте внимательны на мобильных устройствах, так как там используются упрощённый функционал даже в официальном приложении от Microsoft, поэтому для просмотра скачивайте PDF-версию. А если нужно редактировать файл, то используйте оригинальный файл.
Файлы такого типа обычно разбиты на страницы, а текст может быть форматированным (жирный, курсив, выбор шрифта, таблицы и т.п.), а также в него можно добавлять изображения. Формат идеально подходит для рефератов, докладов и РПЗ курсовых проектов, которые необходимо распечатать. Кстати перед печатью также сохраняйте файл в PDF, так как принтер может начудить со шрифтами.
















