Дипломчик (1089131), страница 5
Текст из файла (страница 5)
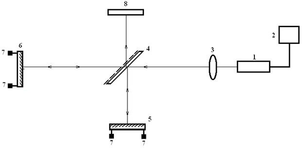
Рис. 3.10 Коллимирование лазерного пучка
1 – полупроводниковый лазер
2 – блок питания лазера
3 – линза
4 – полупрозрачное зеркало
5, 6 – зеркала
7 – юстировочные винты
8 – экран
После того, как лазерный луч сколлимирован, лазер следует зафиксировать.
После линзы следует поставить оптический вентиль и настроить его.
Собираем схему (рис. 3.11) и выставляем зеркало (10) на 0, то есть
.
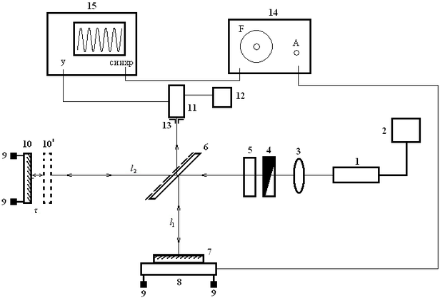
Рис.3.11 Схема установки для измерения временной когерентности полупроводникового лазера
1 – исследуемый полупроводниковый лазер
2 – блок питания лазера
3 – линза
4 – поляризатор
5 – четвертьволновая пластинка
6 – полупрозрачное зеркало (светоделитель)
7 – зеркало
8 – электро-динамический привод
9 – юстировочные винты
10 – подвижное зеркало
11 – фотоприемник
12 – блок питания фотоприемника
13 – апертура фотоприемника
14 – генератор синусоидальных колебаний
15 – осциллограф
Юстировочными винтами (9) зеркала (7) добиваемся того, что бы отраженный луч попал в апертуру четвертьволновой пластинки (5) и фиксируем юстировочные винты.
Юстировочными винтами (9) зеркала (10) совмещаем оба пятна и наблюдаем на осциллографе (15) интерференционную картину, по ней вычисляем максимум и минимум.
Перекрывая поочередно зеркала, измеряем интенсивность от них.
Двигаем зеркало (10) на 5 см и юстируем, то есть отраженный луч сводим с другим и наблюдаем интерференционную картину.
Проделать все тоже самое для различных положений зеркала (10) с шагом в 5 см и записать в таблицу.
Мною был проведен эксперимент и получены следующие данные:
Таблица 3.2
Построим график функции временной когерентности (рис. 3.12)
Рис.3.12 Функция временной когерентности полупроводникового лазера
Анализируя данный график и сравнивая его с графиком (рис. 2.1.6) можно сделать вывод о том, что исследуемый полупроводниковый лазер работает в двухчастотном режиме, что потом подтвердилось используя сканирующий интерферометр Фабри-Перо.
-
Разработка методических материалов
Целью работы является ознакомление с явлениями интерференции и когерентностью лазерного излучения, в зависимости от типа лазера.
Задание 1. Исследование He-Ne лазера.
Перед началом проведения измерений следует выполнить юстировку оптической системы.
Собираем схему для юстировки лазера (рис. 4.1)
Рис. 4.1 Юстировка He-Ne лазера
1 – He-Ne лазер
2 – блок питания лазера
3, 3’ – экран (в двух положения)
Ставим экран (3) рядом с лазером (1) и перемещая лазер делаем так, что бы пятно лазерного излучения было в центре экрана. Затем ставим экран в конце оптической скамьи и юстировочными винтами лазера, добиваемся что бы пятно лазерного излучения попало в центр экрана. Опять ставим экран ближе к лазеру, если пятно осталось в центре экрана, то фиксируем лазер, если же пятно немного сместилось, то стоит проделать юстировку пока пятно лазерного излучения в разных положениях экрана не будет по центру.
Собираем схему установки для измерения временной когерентности He-Ne лазера (рис. 4.2)
Рис. 4.2 Схема установки для измерения временной когерентности He-Ne лазера
1 – исследуемый He-Ne лазер
2 – блок питания лазера
3 – поляризатор
4 – четвертьволновая пластинка
5 – полупрозрачное зеркало (светоделитель)
6 – зеркало
7 – электро-динамический привод
8 – юстировочные винты
9, 9’ – подвижное зеркало (в двух положениях)
10 – фотоприемник
11 – блок питания фотоприемника
12 – апертура фотоприемника
13 – рассеивающая линза
14 – генератор синусоидальных колебаний
15 – осциллограф
Выставляем зеркало (9) в положение 0, то есть когда
и фиксируем его.
Юстировочными винтами (8) зеркала (6) добиваемся того, что бы отраженный луч совпал с выходящим лучом из резонатора. Тоже самое проделываем юстировочными винтами (8) зеркала (9).
Настраиваем оптический вентиль, он состоит из поляризатора (3) и четвертьволновой пластинки (4). Вращая поляризатор, добиваемся максимального пропускания. В области выхода излучения из резонатора ищем отраженные от зеркал пятна и поворотом червертьволновой пластинки добиваемся их исчезновения. Теперь отраженные лучи не будут возвращаться в резонатор, тем самым не нарушается режим генерации.
Юстировочными винтами (8) зеркала (9) добиваемся максимальной амплитуды интерференционного сигнала на осциллографе.
Вычисляем значения
и
и записываем в таблицу.
Перекрывая поочередно зеркала, вычисляем значения интенсивности от них.
Двигаем зеркало (9) на 5 см, фиксируем его и юстировочными винтами (8) накладываем пятно на другое, добиваемся максимальной амплитуды.
Проделываем все тоже самое для значений плеча от 0 до с 100 см с шагом 5 см и записываем в таблицу.
Таблица 4.1
Задание 2. Исследование временной когерентности полупроводникового лазера.
Перед тем как собрать установку для измерения временной когерентности, нужно сколлимировать лазерное излучение, так как из лазера выходит расходящийся пучок. Это можно сделать двумя способами.
Первый способ: собираем схему (рис. 1), двигая на миллиметры лазер (что бы попасть в фокус линзы) добиваемся параллельного луча, это можно проверить передвигая экран по оптической скамье.
Рис. 4.3 Коллимирование лазерного пучка
1 – полупроводниковый лазер
2 – блок питания лазера
3 – линза
4 – экран
Второй способ: собираем схему (рис. 2), зеркало (6) устанавливаем в самом конце оптической скамьи. На экране (8) наблюдаем два пятна от зеркал (5) и (6) разного размера. Двигаем лазер на миллиметра и добиваемся что бы оба пятна были одинаково размера.
Рис. 4.4 Коллимирование лазерного пучка
1 – полупроводниковый лазер
2 – блок питания лазера
3 – линза
4 – полупрозрачное зеркало
5, 6 – зеркало
7 – юстировочные винты
8 – экран
После того, как лазерный луч сколлимирован, лазер следует зафиксировать.
После линзы следует поставить оптический вентиль и настроить его.
Собираем схему (рис. 4.5) и выставляем зеркало (10) на 0, то есть
.
Рис.4.5 Схема установки для измерения временной когерентности полупроводникового лазера
1 – исследуемый полупроводниковый лазер
2 – блок питания лазера
3 – линза
4 – поляризатор
5 – четвертьволновая пластинка
6 – полупрозрачное зеркало (светоделитель)
7 – зеркало
8 – электро-динамический привод
9 – юстировочные винты
10, 10’ – подвижное зеркало (в двух положениях)
















