схема (1089130)
Текст из файла
4.1. Внедрение волоконного интерферометра для регистрации акустических воздействий на оптическое волокно в лабораторный практикум ТООЭ.
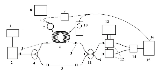
Для внедрения лабораторного стенда на кафедру ТООЭ в лабораторный практикум необходимо внести в схему несколько изменений с учетом возможностей кафедры и наличием некоторых приборов. Ниже приведена оптоэлектронная схема лабораторной установки для реализации на кафедре ТООЭ.
Рис. . Схема лабораторного стенда.
-
Блок питания лазерного диода - источник постоянного тока (Есть в наличии)
-
Полупроводниковый лазер (Лазерный модуль)
-
Места соединения оптоволоконных коннекторов. (Для реализации схемы необходимо 6 патчкордов разной длины)
-
Разветвитель 1 х 2
-
Опорной плечо волоконного интерферометра (патчкорд длиной около 1 - 2м)
-
Измерительное плечо интерферометра – патчкорд длиной 1- 2м
-
Пьезокерамический элемент (Есть в наличии)
-
Генератор сигналов специальной формы (Есть в наличии)
-
Акустический усилитель (Есть в наличии)
-
Акустические колонки (Есть в наличии)
-
Разветвитель 3 х 3
-
Фотодиоды
-
Питание фотодиодов – источник постоянного тока (есть в наличии)
-
Аналогово – цифровой преобразователь (Звуковая карта ПК)
-
Персональный компьютер (Есть в наличии)
-
Акустический выход ПК
При создании лабораторного стенда для увеличения компактности и надежности схемы лучше использовать в качестве источника лазерного излучения готовый телекоммуникационный лазерный модуль, а для регистрации интерференционных сигналов готовый фотодиодный модуль.
Рассмотрим поподробнее оборудование, которое необходимо закупить для реализации лабораторного стенда.
Лазерный модуль быть предоставлен НТО «ИРЭ - Полюс».
Рис…. Лазерный диод
Лазерный диод должен обладать следующими параметрами:
-
Длина волны 1.55мкм
-
Длина когерентности не менее 1м
-
Мощность до 10 дБм
-
Иметь одномодовый выход с FC – коннектором.
Питание этого модуля может быть осуществлено от одного из источников постоянного тока, имеющихся в лаборатории кафедры ТООЭ.
Необходимо 6 оптических одномодовых патчкордов со скошенными торцами (FC) для соединения элементов стенда.
Рис. … Патчкорд одномодовый с коннекторами FC.
Для разделения света по опорному и измерительному плечам наобходимо использование разветвителя 1 х 2.
Рис. Разветвитель 1 х 2.
-
Вносимые по выходным каналам потери в 3 дБ
-
Одномодовая реализация
-
FC – коннекторы
Измерительное плечо может быть выполнено в двух вариантах. Первый предназначен для регистрации акустических воздействий, передаваемых через воздух, второй – для регистрации воздействий, возбуждаемых пьезокерамическим элементом. Первый вариант исполнения очень прост: используется акустическая колонка, персональный компьютер и моток оптического волокна (длина определяется исходя из длины когерентности лазера), подвешиваемый перед колонкой. Второй вариант исполнения предполагает использование пьезокерамического элемента для создания механических волн акустического диапазона в волокне. Для этого необходим генератор специальной формы (Есть в наличии на кафедре ТООЭ), акустический усилитель (есть в наличии) и пьезокерамический элемент. Эта схема предполагает возможность подачи на пьезокерамический элемент для дальнейшей регистрации как сигналов специальной формы с генератора сигналов, так и звуковых фрагментов с персонального компьютера через акустический усилитель.
Рис. …
Для получения интерференционных сигналов, имеющих постоянный сдвиг фазы, применяется волоконный сплавной разветвитель 3 х 3.
Рис. Сплавной разветвитель 3 х 3.
Разветвитель 3 х 3 должен обладать следующим параметрами:
-
Равномерность и стабильность разделения средней мощности по выходам (до 5%)
-
FC одномодовые коннекторы на входах и выходах.
Выходы разветвителя 3 х 3 подключаются к оптическим входам фотодиодных модулей. Выходы фотодиодных модулей подключаются ко входам звуковой карты персонального компьютера.
Фотодиоды должны иметь следующие параметры:
-
Чувствительность в L – диапазоне (1.55мкм)
-
Частотную полосу в районе 200кГц.
Сигналы со звуковой карты записываются на персональный компьютер с помощью Matlab в виде csv файла, содержащего две строки, соответствующих сигналам с фотодиодов. Интерференционные сигналы записываются в виде тридцати секундных отрезков. Дальнейшая обработка производится в средах Scilab и Mathlab.
Таким образом, можно составить смету на реализацию лабораторного стенда на кафедре ТООЭ. Для реализации этого лабораторного стенда необходимо закупить:
| Наименование | количество, шт | цена | стоимость |
| Сплавной опто - волоконный разветвитель 1 х 2 | 1 | 200,0р. | 200,0р. |
| Волоконно - оптические патчкорды | 6 | 100,0р. | 600,0р. |
| Разветвитель 3 х 3 | 1 | 15000,0р. | 15000,0р. |
| Фотодиоды PIN InGaAs/InP ДФД1000 | 2 | 500,0р. | 1000,0р. |
| Звуковая карта Creative Sound Blaster Audigy SE | 1 | 550,0р. | 550,0р. |
|
|
|
| Итого: |
|
|
|
| 17350,0р. |
3
Характеристики
Тип файла документ
Документы такого типа открываются такими программами, как Microsoft Office Word на компьютерах Windows, Apple Pages на компьютерах Mac, Open Office - бесплатная альтернатива на различных платформах, в том числе Linux. Наиболее простым и современным решением будут Google документы, так как открываются онлайн без скачивания прямо в браузере на любой платформе. Существуют российские качественные аналоги, например от Яндекса.
Будьте внимательны на мобильных устройствах, так как там используются упрощённый функционал даже в официальном приложении от Microsoft, поэтому для просмотра скачивайте PDF-версию. А если нужно редактировать файл, то используйте оригинальный файл.
Файлы такого типа обычно разбиты на страницы, а текст может быть форматированным (жирный, курсив, выбор шрифта, таблицы и т.п.), а также в него можно добавлять изображения. Формат идеально подходит для рефератов, докладов и РПЗ курсовых проектов, которые необходимо распечатать. Кстати перед печатью также сохраняйте файл в PDF, так как принтер может начудить со шрифтами.
















